| Συνδεθείτε στην Υπηρεσία Νομοσκόπιο | | | | | Νέοι χρήστες | | Εάν είστε νέος χρήστης, θα πρέπει να δημιουργήσετε ένα ΔΩΡΕΑΝ λογαριασμό προκειμένου να φύγει το παράθυρο αυτό και να αποκτήσετε πλήρη πρόσβαση στην υπηρεσία Νομοσκόπιο. | | Δημιουργία νέου λογαριασμού | | |
1. Γεωμετρικός σχεδιασμός γεφυρών σχετικά με την οδοποιία
1.1. Διαστάσεις οχήματος - ποδηλάτη - πεζού
(1) Το αντιπροσωπευτικό όχημα μελέτης για τη μηχανοκίνητη κυκλοφορία έχει διαστάσεις: πλάτος 2,50 m και ύψος 4,00 m.
(2) Το πλάτος για έναν ποδηλάτη είναι 0,80 m και για έναν πεζό 0,75 m. Το ύψος και για τους δύο είναι 2,00 m.
1.2. Πλευρικός χώρος ελευθερίας κινήσεων
(1) Ο πλευρικός χώρος ελευθερίας κινήσεων είναι ο χώρος που είναι απαραίτητος ως απόσταση ασφαλείας για τυχόν προεξέχοντα τμήματα φορτίων, εξωτερικούς καθρέπτες κ.λ.π., ώστε να λαμβάνονται υπόψη οι μικροεκτροπές κίνησης ενός οχήματος μη σταθερής τροχιάς.
(2) Το πλάτος του πλευρικού χώρου ελευθερίας κινήσεων εξαρτάται από τη διατομή της οδού και, ανά λωρίδα κυκλοφορίας, κυμαίνεται από 1,25 m για τις οδούς της ομάδας διατομών α έως 0,00 m για τις οδούς της ομάδας διατομών ζ, μειούμενη κάθε φορά κατά 0,25 m για τις οδούς των ενδιαμέσων ομάδων διατομών β, γ, δ, ε.
(3) Για την κυκλοφορία των ποδηλάτων το πλάτος του πλευρικού χώρου ελευθερίας κινήσεων είναι ίσο με 0,10 m σε κάθε πλευρά.
(4) Για την κυκλοφορία των πεζών δεν απαιτείται πλευρικός χώρος ελευθερίας κινήσεων.
1.3. Άνω χώρος ελευθερίας κινήσεων
(1) Ο άνω χώρος ελευθερίας κινήσεων για τη μηχανοκίνητη κυκλοφορία είναι ο χώρος που καταλαμβάνει ένα κινούμενο όχημα λαμβάνοντας υπόψη ανακρίβειες στη φόρτωση και τις ταλαντώσεις του οχήματος λόγω μη επιπεδότητας του οδοστρώματος. Ο χώρος αυτός για τη μηχανοκίνητη κυκλοφορία ανέρχεται σε 0,20 m.
(2) Για τους πεζούς και τα ποδήλατα ο άνω χώρος ελευθερίας κινήσεων λαμβάνεται ίσος με 0,25 m.
1.4. Βασικό πλάτος λωρίδας κυκλοφορίας
Τα βασικά πλάτη των λωρίδων κυκλοφορίας για κάθε ομάδα διατομών προκύπτουν από το πλάτος του αντιπροσωπευτικού οχήματος μελέτης, συμπεριλαμβανομένου του πλάτους του πλευρικού χώρου ελευθερίας κινήσεων (βλέπε πίνακα 2 - 2 ΟΜΟΕ οδοποιίας (Τεύχος 2: Διατομές)).
1.5. Προσαύξηση πλάτους λωρίδας κυκλοφορίας λόγω αντιθέτου ρεύματος κυκλοφορίας
(1) Η προσαύξηση του πλάτους μιας λωρίδας, όταν δεν διαχωρίζονται οι κατευθύνσεις κυκλοφορίας με δομικά στοιχεία, ανέρχεται σε 0,25 m για κάθε κατεύθυνση.
(2) Για την κυκλοφορία των ποδηλάτων δεν απαιτείται προσαύξηση του πλάτους της λωρίδας.
1.6. Χώρος κυκλοφορίας
(1) Ο χώρος κυκλοφορίας της μηχανοκίνητης κυκλοφορίας αποτελείται από χώρο που καταλαμβάνει το αντιπροσωπευτικό όχημα μελέτης, τον πλευρικό και άνω χώρο ελευθερίας κινήσεων, την προσαύξηση του πλάτους λόγω αντιθέτου ρεύματος κυκλοφορία,ς καθώς επίσης και από τους χώρους πάνω από τις λωρίδες καθοδήγησης, τα βατά ρείθρα και τα σταθεροποιημένα ερείσματα. Το ύψος του ανέρχεται σε 4,20 m.
(2) Ο χώρος κυκλοφορίας για την κυκλοφορία ποδηλάτων, ανά λωρίδα κυκλοφορίας ποδηλάτων, έχει πλάτος 1,00 m και ύψος 2,25 m.
(3) Ο χώρος κυκλοφορίας πεζών έχει, ανά λωρίδα κυκλοφορίας πεζών, 0,75 m πλάτος και 2,25 m ύψος. Ο κυκλοφοριακός χώρος των διαδρόμων που χρησιμοποιούνται από κοινού από ποδηλάτες και τους πεζούς είναι αυτός που προβλέπεται για τους ποδηλάτες.
1.7. άνω χώρος ασφαλείας (SU)
(1) Το ύψος του άνω χώρου ασφαλείας ανέρχεται για τη μηχανοκίνητη κυκλοφορία σε 0,30 m. Έτσι το συνολικά απαιτούμενο ύψος περιτυπώματος ανέρχεται σε 4,50 m. Για τα ελεύθερα ύψη όμως κάτω από γέφυρες ισχύει η παράγραφος 1.10 και ο αντίστοιχος πίνακας 4.1.10.
(2) Σημειώνεται ότι η μείωση του ύψους του περιτυπώματος κάτω από 4,50 m μπορεί να γίνει σε ειδικές περιπτώσεις, όπου και εφόσον είναι δυνατός ο αποκλεισμός ορισμένων κατηγοριών οχημάτων με κατάλληλα σήμανση.
1.8. Πλευρικός χώρος ασφαλείας (SL)
(1) Μηχανοκίνητη κυκλοφορία (SLV)
Το πλάτος του πλευρικού χώρου ασφαλείας μετράται από το όριο του χώρου κυκλοφορίας και προς τα έξω. Το απαιτούμενο πλάτος εξαρτάται από τη μεγίστη επιτρεπομένη ταχύτητα VΕΠΙΤΡ ως εξής:
VΕΠΙΤΡ (km/h)
|
≤ 50
|
≤ 70
|
> 70
|
SLV (m)
|
≥ 0,75
|
≥ 1,00
|
≥ 1,25
|
Αυτές οι διαστάσεις είναι δυνατόν να μειωθούν δίπλα σε σταθεροποιημένα ερείσματα, κεντρικές νησίδες και κράσπεδα κατά 0,25 m.
Στις περιπτώσεις που δεν υπάρχουν ούτε λωρίδες καθοδήγησης, ούτε κράσπεδα, ο πλευρικός χώρος ασφαλείας πρέπει να προσαυξάνεται κατά 0,25 m. Οι ορθοστάτες των πινακίδων σήμανσης και των κυκλοφοριακών εγκαταστάσεων με Φ < 8 cm πρέπει να τοποθετούνται κατά τέτοιο τρόπο, ώστε ο άξονας συμμετρίας τους να συμπίπτει με το όριο του περιτυπώματος, Τα προστατευτικά στοιχεία και τα μέρη των πινακίδων σήμανσης και άλλων κυκλοφοριακών στοιχείων που παραμορφώνονται εύκολα πρέπει να απέχουν από το χώρο κυκλοφορίας τουλάχιστον 0,50 m. Όταν οι ορθοστάτες των πινακίδων στάθμευσης και των κυκλοφοριακών εγκαταστάσεων έχουν διάμετρο Φ > 8 cm, αυτοί τοποθετούνται σύμφωνα με τους κανόνες ασφάλισης έναντι σταθερών εμποδίων. Τα κράσπεδα επιτρέπεται να εισέρχονται μέσα στο περιτύπωμα μέχρι ύψους 0,20 m και μέχρι τα όρια του χώρου κυκλοφορίας.
(2) Κυκλοφορία ποδηλάτων (SLΒ)
Το πλάτος του πλευρικού χώρου ασφαλείας είναι 0,25 m. Η προεξοχή των πινακίδων σήμανσης και των κυκλοφοριακών στοιχείων στο περιτύπωμα επιτρέπεται μέχρι τα όρια του κυκλοφοριακού χώρου.
(3) Κυκλοφορία πεζών (SLPD)
Για τους πεζούς δεν προβλέπεται ιδιαίτερος πλευρικός χώρος ασφαλείας. Τα πεζοδρόμια που βρίσκονται σε επαφή με τις λωρίδες κυκλοφορίας αποτελούνται από τον κυκλοφοριακό χώρο των πεζών και τον χώρο ασφαλείας που ανήκει στον όμορο κυκλοφοριακό χώρο.
1.9. Περιτύπωμα
(1) Το περιτύπωμα είναι ο χώρος της διατομής της οδού στον οποίο δεν πρέπει να υπεισέρχονται σταθερά εμπόδια, πλην πινακίδων σήμανσης και στηθαίων ασφαλείας. Αποτελείται από τον χώρο κυκλοφορίας και τον άνω και τον πλευρικό χώρο ασφαλείας (βλέπε και σχήμα 4.1.9.(1)). Με βάση τα παραπάνω, το συνολικά απαιτούμενο ύψος περιτυπώματος ανέρχεται 4,50 m (4,20+0,30). Οι τυπικές διαστάσεις του περιτυπώματος αναγράφονται στον παρακάτω πίνακα 4.1.9
Πίνακας 4.1.9: Τυπικές διατάσεις περιτυπώματος
Είδος κυκλοφορίας
|
Επιτρεπομένη ταχύτητα
VΕΠΙΤΡ
|
Τυπικό πλάτος οχήματος Μελέτης ή πεζού
|
Πλάτος του πλευρικού χώρου ελευθερίας κινήσεων
|
Πλάτος του πλευρικού χώρου ασφαλείας
SL
|
Τυπικό ύψος οχήματος Μελέτης ή πεζού
|
Ύψος του άνω χώρου ελευθερίας κινήσεων
|
Ύψος του άνω χώρου ασφαλείας
SU
|
Ύψος του περιτυπώματος
|
|
(km/h)
|
(m)
|
(m)
|
(m)
|
(m)
|
(m)
|
(m)
|
(m)
|
1
|
2
|
3
|
4
|
5
|
6
|
7
|
8
|
9
|
Μηχανοκίνητη
κυκλοφορία
|
> 70
≤ 70
≤ 50
|
2,50
2,50
2,50
|
Ανάλογα
Με την ομάδα διατομών κυμαίνεται από 1,25 έως 0,00
|
1,25
1,00
0,75
|
4,00
4,00
4,00
|
0,20
0,20
0,20
|
0,30
0,30
0,30
|
4,50
4,50
4,50
|
Κυκλοφορία ποδηλάτων
|
|
0,80
|
0,10
|
0,25
|
2,00
|
0,25
|
0,25
|
2,50
|
Κυκλοφορία πεζών
|
|
0,75
|
-
|
-
|
2,00
|
0,25
|
0,25
|
2,50
|
Σημείωση: Ο πίνακας 4.1.9 αντιστοιχεί στον πίνακα 2-1 των ΟΜΟΕ Οδοποιίας (Τεύχος 2: Διατομές)

Σχήμα 4.1.9.(1)
(2) Στην περίπτωση δημιουργίας μιας σύνθετης διατομής που αποτελείται από λωρίδες κυκλοφορίας οχημάτων διαφόρων τύπων, πεζών ή / και ποδηλάτων, επιτρέπεται η επικάλυψη επιμέρους πλευρικών χώρων ασφαλείας των μεμονωμένων περιτυπωμάτων. Η απόσταση μεταξύ δύο κυκλοφοριακών χώρων καθορίζεται με βάση το μεγαλύτερο πλευρικό χώρο ασφαλείας (βλέπε και σχήμα 4.1.9.(1)).
1.10. Ελεύθερο ύψος κάτω από γέφυρες
(1) Ορίζεται ότι το ελεύθερο ύψος κάτω από γέφυρες θα είναι 5,00 m, ώστε να είναι δυνατή η ανακατασκευή του ασφαλτοτάπητα με διάστρωση νέων επιπλέον στρώσεων.
(2) Ειδικά σε γέφυρες σήμανσης, θα εφαρμόζεται ελεύθερο ύψος 5,50 m μετρούμενο από την κάτω πλευρά της αναρτημένης πινακίδας (βλέπε και κεφάλαιο 6, παράγραφος 3.2).
(3) Το ελεύθερο ύψος θα πρέπει να καθορίζεται ενιαία για το συνολικό μήκος μιας οδού.
(4) Σημειώνεται ότι στις κοίλες συναρμογές κατακόρυφων καμπυλών θα πρέπει να συνυπολογίζεται και το πρόσθετο ύψος που προκύπτει λόγω του βέλους της καμπύλης, που αντιστοιχεί στην απόσταση των αξόνων του οχήματος. Η απόσταση αυτή θα λαμβάνεται ίση προς 30,0 m για αυτοκινητοδρόμους και οδούς ταχείας κυκλοφορίας (κατηγορία ΑΙ), για υπεραστικές οδούς κατηγορίας Α ΙΙ, Α ΙΙΙ με διατομή γ2 και ανώτερη, καθώς και για αστικές οδούς λειτουργικής κατάταξης αρτηρίας και ανώτερης, δηλαδή οδούς κατηγορίας ΒΙ, Β ΙΙ και Β ΙΙΙ. Για όλες τις άλλες κατηγορίες οδών που επιτρέπεται η κυκλοφορία φορτηγών αυτοκινήτων ή και λεωφορείων, η απόσταση μεταξύ των αξόνων των οχημάτων θα λαμβάνεται ίση με 15,0 m.
(5) Θα πρέπει να αφεθούν πρόσθετες ελεύθερες αποστάσεις ίσες προς τις συνολικές προβλεπόμενες υποχωρήσεις των μεσόβαθρων και ακροβάθρων. Επιπλέον, πρέπει να αφεθεί περιθώριο για την προβλεπόμενη διόγκωση του εδάφους λόγω των εκσκαφών των υπερκείμενων στρώσεων που είναι αναγκαίες για την κατασκευή του έργου.
(6) Ο Μελετητής είναι υπεύθυνος για τον προσδιορισμό των ειδικών και μη συνήθων απαιτήσεων ελεύθερων υψών και πλατών για όλα τα τεχνικά έργα και την επικοινωνία με τις Αρχές και τους άλλους Οργανισμούς.
(7) Τα πραγματικά ελάχιστα ελεύθερα ύψη και πλάτη που επιλέγονται θα αναφέρονται στην Τεχνική Έκθεση του Έργου.
Πίνακας 4.1.10: Ελεύθερο ύψος ΗΕΛ κάτω από γέφυρες
Είδος Κυκλοφορίας
|
Κατηγορία οδού ή λωρίδα κυκλοφορίας
|
Ελεύθερο ύψος ΗΕΛ (m)
|
Κανονικό
|
Απολύτως ελάχιστο
|
Κανονική Κυκλοφορία Αυτοκινήτων
|
(Αυτοκινητόδρομοι, κλάδοι κόμβων, υπεραστικές οδοί και αστικές οδοί λειτουργικής κατάταξης συλλεκτήριας οδού και ανώτερης).
Οδοί κατηγορίας ΑΙ, Α ΙΙ, Α ΙΙΙ, Α ΙV, AV, ΒΙ, ΒΙΙ, ΒΙΙΙ, ΒΙV, ΓΙΙΙ, ΓΙV
|
5,00
|
-
|
Κανονική Κυκλοφορία Αυτοκινήτων
|
(Αγροτικές, υπεραστικές οδοί ΑΙV και αστικές οδοί λειτουργικής κατάταξης προσπέλασης παρόδιων / τοπικών οδών).
Οδοί κατηγορίας AV με διατομή ζ2, Α VI και αστικές οδοί λειτουργικής κατάταξης προσπέλασης παρόδιων / τοπικών οδών
|
4,50
|
4,20
|
Κυκλοφορία πεζών και μικρών οχημάτων
|
Αγροτικές οδοί και αστικές οδοί (Θα πρέπει να προβλέπεται κατάλληλη οδική σήμανση)
|
3,00
|
-
|
Κυκλοφορία ποδηλάτων και μοτοποδηλάτων
|
Ποδηλατόδρομοι και λωρίδες κυκλοφορίας ποδηλάτων
|
2,50
|
-
|
Κυκλοφορία πεζών
|
Πεζόδρομοι, πεζοδρόμια
|
2,50
|
2,25
|
Σιδηρόδρομοι
|
|
Θα προσδιορίζονται με τη σύμφωνη γνώμη του Οργανισμού Σιδηροδρόμων Ελλάδος
|
|
ΟΚΩ
|
|
Θα προσδιορίζονται με τη σύμφωνη γνώμη του αντίστοιχου οργανισμού
|
|
1.11. Θέσεις μεσόβαθρων σε κεντρική νησίδα
(1) Γενικά πρέπει να αποφεύγεται (και οι σημερινές κατασκευαστικές δυνατότητες το επιτρέπουν συνήθως) η τοποθέτηση μεσόβαθρου στην κεντρική νησίδα αυτοκινητόδρομου (το πλάτος της κεντρικής νησίδας ν μετράται μεταξύ των εσωτερικών λωρίδων καθοδήγησης. Για την περίπτωση διατομών για τις οποίες προβλέπεται μελλοντική διαπλάτυνση προς την πλευρά της κεντρικής νησίδας, το πλάτος ν αναφέρεται στη μελλοντική τυπική διατομή του αυτοκινητόδρομου μετά τη διαπλάτυνση).
(2) Όπου προβλέπεται, ύστερα από τη σύμφωνη γνώμη του Κυρίου του Έργου και κατά την απόλυτη κρίση του (δυσχερείς περιπτώσεις), η τοποθέτηση μεσόβαθρου στην κεντρική νησίδα, θα πρέπει να λαμβάνονται κατάλληλα μέτρα εκατέρωθεν του μεσόβαθρου για την προστασία του. Στο σχήμα 4.1.11.(2), που αποτελεί απόσπασμα του σχήματος Π-6 των Οδηγιών Μελετών Οδικών Έργων οδοποιίας (Τεύχος 2: Διατομές), δίνονται βασικά στοιχεία της περίπτωσης ύπαρξης μεσόβαθρου σε νησίδα με στηθαία από σκυρόδεμα New Jersey.

Σχήμα 4.1.11.(2)
1.12. Άνω Διαβάσεις
(1) Οι άνω διαβάσεις αποτελούν βασικό στοιχείο, τόσο από λειτουργική όσο και από αισθητική άποψη και μάλιστα όταν πρόκειται για αυτοκινητόδρομο. Στα παρακάτω σχήματα 4.1.12.(1)α, β, γ,δ , ε, στ, ζ παρουσιάζεται η διαχρονική εξέλιξή τους από το 1934 μέχρι σήμερα.
(2) Προτιμάται η λύση των άνω διαβάσεων τριών ανοιγμάτων, οι οποίες επιτρέπουν τη διέλευση από τα ακραία ανοίγματα των παράπλευρων οδών (βλέπε σχήματα 4.1.12.(1)στ και ζ). Τονίζεται ότι στις περιπτώσεις αυτές των άνω διαβάσεων τριών ανοιγμάτων με συνεχείς φορείς ή με μονολιθική σύνδεση του φορέα με τα μεσόβαθρα και με εφέδρανα στα ακρόβαθρα (ή και ανάλογες περιπτώσεις άλλων γεφυρών), θα πρέπει το μήκος του ακραίου ανοίγματος να ανέρχεται στο 60% του μήκους του μεσαίου ανοίγματος, ώστε να αποφεύγονται αρνητικές αντιδράσεις στα ακρόβαθρα.
(3) Τονίζεται ότι σε κάθε περίπτωση η τοποθέτηση μεσόβαθρων ή ακροβάθρων, παρά τα ερείσματα της οδού, θα γίνεται πάντοτε λαμβάνοντας υπόψη:
α) Το περιτύπωμα
β) Την ορατότητα (βλέπε ΟΜΟΕ-Χ, Κεφάλαιο 10)
γ) Την ασφάλεια της κυκλοφορίας έναντι σταθερών εμποδίων
δ) Την πρόβλεψη για μελλοντική διαπλάτυνση της οδού
Επισημαίνεται ότι τα πλευρικά εμπόδια επηρεάζουν δυσμενώς την κυκλοφορία, μειώνουν την κυκλοφοριακή ικανότητα και την ασφάλεια, απομακρύνουν από τα άκρα του οδοστρώματος τα οχήματα και ελαττώνουν κατ' αυτόν τον τρόπο, τεχνητά, το διατιθέμενο για την κυκλοφορία πλάτος. Το φαινόμενο αυτό είναι ιδιαίτερα αισθητό στις υψηλές ταχύτητες.
(4) Η θέση του βάθρου (μεσόβαθρου ή ακροβάθρου) άνω διάβασης θα καθορίζεται κατά τέτοιο τρόπο ώστε η απόσταση D2 μεταξύ της παρειάς του και του προσκειμένου άκρου του οδοστρώματος να είναι τουλάχιστον 3,0 m (βλέπε σχήμα 4.1.12.(4)).
Η απόσταση D1 προσδιορίζεται κατά τα γνωστά όπως παρακάτω:
D1 (m) ≥ ne x He +β+nf (Hf-da-1,0)
όπου:
1:ne Κλίση πρανούς ορύγματος
1:nf Κλίση πρανούς επιχώματος
He Ύψος ορύγματος (m)
Hf Ύψος επιχώματος (m)
β Πλάτος αναβαθμού (m)
da Ύψος φορέα τεχνικού στην περιοχή ακροβάθρου (m)
(5) Συνιστάται όπως η επιφάνεια του πρανούς στα ακρόβαθρα κάτω από το φορέα, καλύπτεται με κυβόλιθους ή παρόμοιες διατάξεις, διότι στην περιοχή αυτή δεν είναι δυνατή η ανάπτυξη βλάστησης.

Σχήμα 4.1.12.(1)α

Σχήμα 4.1.12.(1)β

Σχήμα 4.1.12.(1)γ

Σχήμα 4.1.12.(1)δ

Σχήμα 4.1.12.(1)ε

Σχήμα 4.1.12.(1)στ

Σχήμα 4.1.12.(1)ζ
Σχήμα 4.1.12.(4)
1.13. Μηκοτομές γεφυρών
(1) Ιδιαίτερη προσοχή πρέπει να δίνεται στη σχεδίαση της μηκοτομής στις θέσεις γεφυρών, με κατάλληλη επιλογή των κατά μήκος κλίσεων και των ακτίνων των καμπυλών συναρμογής.
(2) Θα πρέπει πάντοτε να λαμβάνεται υπόψη ότι η μηκοτομή επηρεάζει τη λειτουργικότητα (απορροή των νερών), την αισθητική ακόμη και τον τρόπο κατασκευής και, επομένως, την επιλογή βασικών στοιχείων της μελέτης της γέφυρας.
(3) Συνιστάται σε περιοχές με ομαλό εδαφικό ανάγλυφο και για άνω διαβάσεις πάνω από αυτοκινητοδρόμους, η καμπύλη συναρμογής να καλύπτει και τα μεταβατικά επιχώματα (βλέπε σχήμα 4.1.13.(3)α).
Ομοίως, σε γέφυρες υπεράνω ποταμών σε περιοχές με ομαλό εδαφικό ανάγλυφο συνιστάται η καμπύλη συναρμογής να καλύπτει το φορέα (βλέπε σχήμα 4.1.13.(3)β).

Σχήμα 4.1.13.(3)α

Σχήμα 4.1.13.(3)β

Σχήμα 4.1.13.(3)γ
1.14. Ανισόπεδες διασταυρώσεις υπό οξεία γωνία
(1) Στην περίπτωση ανισόπεδης διασταύρωσης δύο οδικών αξόνων υπό γωνία ≠ 90°, η οποία αποτελεί συνήθη περίπτωση, διακρίνουμε δύο περιπτώσεις:
α) Στην περίπτωση κατά την οποία η γωνία διασταύρωσης α είναι 90° ≥ α ≥ 60°, τότε η κατασκευή λοξού τεχνικού δεν παρουσιάζει σοβαρά προβλήματα (βλέπε σχήμα 4.1.14. (1).α).
β) Στην περίπτωση κατά την οποία η γωνία διασταύρωσης α είναι α< 60°, τότε συνιστάται η αποδέσμευση του τεχνικού από τη γωνία διασταύρωσης των δύο αξόνων και η κατασκευή ενός ορθογωνικού τεχνικού (βλέπε σχήμα 4.1.14.(1).β). Τονίζεται ότι για λόγους που σχετίζονται με τον αντισεισμικό σχεδιασμό, θα πρέπει οπωσδήποτε να αποφεύγεται η κατασκευή λοξών τεχνικών με γωνία λοξότητας α ≤ 45°. Για πρόσθετα προβλήματα των λοξών γεφυρών βλέπε και παράγραφο 4.3.7.2.(6)

Σχήμα 4.1.14.(1).α

Σχήμα 4.1.14.(1).β
1.15. Πλευρικές διαμορφώσεις οδών στις θέσεις γεφυρών
(1) Η διατομή του τεχνικού οφείλει να είναι ίδια με τη διατομή της οδού πριν και μετά τη γέφυρα. Ιδιαιτερότητες που οφείλονται στην κατασκευή τους δεν πρέπει να οδηγούν στη μείωση επ' αυτών του διατιθεμένου κυκλοφοριακού χώρου της οδού εκατέρωθεν των γεφυρών.
Στο σχήμα 4.1.15.(1) δίνονται βασικές διαστάσεις για την περίπτωση διαμόρφωσης πεζοδρόμων και ποδηλατοδρόμων πάνω σε τεχνικά έργα.
Σημειώνεται ότι το σχήμα 4.1.15.(1) αντιστοιχεί στο σχήμα 3-14 των Οδηγιών Μελετών Οδικών Έργων οδοποιίας (Τεύχος 2: Διατομές).

Σχήμα 4.1.15.(1)
(2) Στα σχήματα 4.1.15.(2)α και β δίνεται η πλευρική διαμόρφωση γεφυρών για την περίπτωση οδών με ενιαίες και διαχωρισμένες επιφάνειες κυκλοφορίας, αντίστοιχα. Ομοίως, στα σχήματα 4.1.15.(2)γ και δ δίνεται η πλευρική διαμόρφωση κάτω διαβάσεων για τις προαναφερθείσες δύο περιπτώσεις.
(3) Η παράλειψη των στηθαίων ασφαλείας από τις πλευρικές διαμορφώσεις γεφυρών και κάτω διαβάσεων επιτρέπεται μόνον εφόσον:
α) VΕΠΙΤΡ ≤ 50 km/h σε κάτω διαβάσεις
VΕΠΙΤΡ ≤ 30 km/h σε γέφυρες
β) Το κράσπεδο έχει ύψος τουλάχιστον 15 cm
γ) Το ελάχιστο πλάτος του πεζοδρομίου είναι 1,5 m
(4) Τονίζεται ότι τα στηθαία ασφαλείας θα πρέπει να τηρούνται τόσο στη γέφυρα όσο και στα εκατέρωθεν της γέφυρας τμήματα της οδού, στην ίδια απόσταση από τον κυκλοφοριακό χώρο. Επισημαίνεται ότι οι πρόσθετες ασφαλτικές επιφάνειες που προκύπτουν στις γέφυρες, λόγω της απόστασης μ-0,50 ή κατά περίπτωση και μ (περίπτωση κρασπέδου ύψους ≥ 15,0 cm) των κρασπέδων των πλευρικών διαμορφώσεων από το άκρο της Λωρίδας Έκτακτης Ανάγκης, θα διαγραμμίζονται ως επιφάνειες αποκλεισμού (βλέπε σχήματα 4.1.15.(2)α, β, γ και δ).
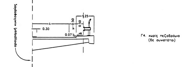
(5) Λαμβάνοντας υπόψη τις ανάγκες των συνεργείων συντήρησης, πρέπει να αποφεύγονται οι πλευρικές διαμορφώσεις χωρίς ελάχιστο πεζοδρόμιο έκτακτης ανάγκης πλάτους 75 cm (Βλέπε σαν χαρακτηριστικά παραδείγματα αποφυγής τις περιπτώσεις Δ6 και Γ4 των σχημάτων 4.1.15.(2)α και β).
(6) Οι πλευρικές διαμορφώσεις των τεχνικών θα πρέπει να εξασφαλίζουν τη διέλευση με την τυχόν αναγκαία επισκεψιμότητα των σωληνώσεων διέλευσης δικτύων, σύμφωνα με όσα αναφέρονται και στο εδάφιο (4) της παραγράφου 4.3.1.13.
(7) Για την περίπτωση γεφυρών Κάτω Διαβάσεων, η ελάχιστη απόσταση τοποθέτησης των ακροβάθρων από το κράσπεδο θα είναι ίση προς 1,50 m.
(8) Σημειώνεται ότι τα σχήματα 4.1.15.(2)α, β, γ και δ αποτελούν αποσπάσματα των σχημάτων Π-3, Π-5 και Π-9)β των Οδηγιών Μελετών Οδικών Έργων οδοποιίας (Τεύχος 2: Διατομές)
(9) Συνιστάται η πρόβλεψη στη μελέτη της οδοποιίας για τη μη αλλαγή της επίκλισης κατά μήκος γεφυρών, διαφορετικά μπορούν να προκύψουν κατασκευαστικά προβλήματα, ιδίως κατά την εφαρμογή μηχανοποιημένων μεθόδων κατασκευής.

Σχήμα 4.1.15.(2)α




Σχήμα 4.1.15.(2)β

Σχήμα 4.1.15.(2)γ






Σχήμα 4.1.15.(2)δ
1.16. Διαμόρφωση κεντρικής νησίδας
(1) Στα σχήματα 4.1.16.(1)α και β δίνεται σχηματικά η διαμόρφωση τεχνικού στην κεντρική νησίδα σε σχέση με την εκατέρωθεν οδό, για την περίπτωση χρησιμοποίησης αμφίπλευρου μεταλλικού στηθαίου ασφαλείας και στηθαίου ασφαλείας από σκυρόδεμα (New Jersey) αντίστοιχα, με ταυτόχρονη ύπαρξη κενού μεταξύ των φορέων στη δεύτερη περίπτωση.
(2) Τονίζεται ότι τόσο για λόγους στατικούς όσο και για λόγους λειτουργίας και συντήρησης, ο φορέας γεφυρών κατά μήκος οδικών αξόνων με διαχωρισμένες επιφάνειες κυκλοφορίας, ακόμη και για πλάτη κεντρικής νησίδας ν < 3,0 m, θα αποτελείται από δύο ανεξάρτητα στατικά τμήματα σε αντιστοιχία με τους κλάδους της οδού. Η περίπτωση επομένως Μ3 του σχήματος 4.1.16.(1)α θα αντιμετωπίζεται σαν εξαίρεση και πάντοτε ύστερα από άδεια του Κυρίου του Έργου (βλέπε και παράγραφο 3.1.14).
(3) Διευκρινίζεται ότι ο διαμήκης αρμός που χωρίζει το φορέα σε δύο ανεξάρτητα τμήματα, κατ' αντιστοιχία με τους κλάδους της οδού (βλέπε περίπτωση Μ2 του σχήματος 4.1.16.(1)α), δεν απαιτείται να συμπίπτει υποχρεωτικά με τον άξονα της οδού (βλέπε ενδεικτικά σχήματα 4.3.1.14.(2)γ, 4.3.1.14.(3)α και β).
(4) Σημειώνεται ότι τα προαναφερθέντα σχήματα αποτελούν αποσπάσματα των σχημάτων Π-7 και Π-6 των Οδηγιών Μελετών Οδικών Έργων Οδοποιίας (Τεύχος 2: Διατομές)




Σχήμα 4.1.16.(1)α



Σχήμα 4.1.16.(1)β
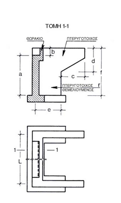
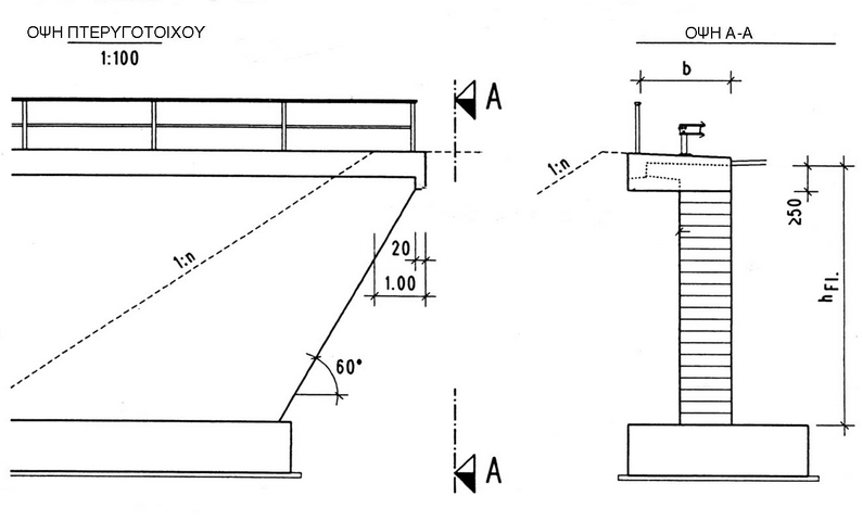
1.17. Διαμόρφωση πτερυγότοιχων
Πτερυγότοιχοι γεφυρών πάνω από δρόμους ή σιδηροδρομικές γραμμές θα διατάσσονται, κατά προτίμηση, παράλληλα με τις οριογραμμές του υπερκείμενου δρόμου ή σιδηροδρομικής γραμμής, εκτός αν λόγοι μορφολογίας του εδάφους ή σοβαρών οικονομικών επιπτώσεων επιβάλλουν άλλη διάταξη, που όμως θα πρέπει να εγκριθεί από τον Κύριο του Έργου.
1.18. Πλάκες πρόσβασης - Φορείς πρόσβασης
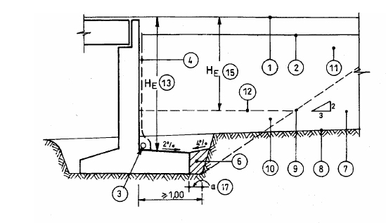
(1) Πλάκες πρόσβασης κατασκευάζονται όταν το μέγιστο ύψος HE, όπως αυτό καθορίζεται στα σχήματα 4.1.19.(1)α, β, δ υπερβαίνει τα 4,0 m και παράλληλα το πάχος της επικάλυψης πάνω από το φορέα του τεχνικού έργου είναι ίσο ή μικρότερο από HE/4.
Όπου το ύψος HE ≥ 9 m ή όπου η προβλεπόμενη καθίζηση υπερβαίνει τα 200 mm, θα κατασκευάζονται φορείς πρόσβασης αντί πλακών πρόσβασης.
Σε θολωτές γέφυρες και στους θολωτούς οχετούς υπό επίχωση, η διάταξη πλακών ή φορέων πρόσβασης παρέλκει εκτός από ειδικές περιπτώσεις (π.χ. επέκταση θολωτού τεχνικού με φορέα άλλου τύπου).
(2) Το πλάτος των πλακών και φορέων πρόσβασης θα είναι κατ' ελάχιστο ίσο με το πλάτος του οδοστρώματος προσαυξημένο κατά 2 x 0,50 m (0,50 m εκατέρωθεν του οδοστρώματος).
Διευκρινίζεται ότι σε οδούς με διαχωρισμένες επιφάνειες κυκλοφορίας, οι πλάκες πρόσβασης δεν θα καλύπτουν την κεντρική νησίδα πέραν της προσαύξησης των 0,50 m που αντιστοιχεί στην πλευρά της και σε συνάρτηση με τα προβλεπόμενα μέσα στη νησίδα δίκτυα. Για τους φορείς πρόσβασης η διαμόρφωση στην περιοχή αυτή αποτελεί αντικείμενο της μελέτης τους.
(3) Το μήκος (άνοιγμα) των πλακών πρόσβασης, μετρούμενο κάθετα προς το τοίχωμα του ακροβάθρου, θα είναι τουλάχιστον 4,0 m, αλλά όχι λιγότερο από 2 HE/3 (βλέπε σχήμα 4.1.18.(3)). Εάν το μήκος τους υπερβαίνει τα 4,0 m, θα διατάσσεται αρμός διαστολής στο μέσον του μήκους τους.
Στις περιπτώσεις που προβλέπεται φορέας πρόσβασης το ελάχιστο μήκος του (άνοιγμα) θα είναι επίσης ≥ 2 HE/3. Δεν θα διατάσσονται αρμοί στους φορείς πρόσβασης.

Σχήμα 4.1.18.(3)
(4) Ο υπολογισμός των πλακών πρόσβασης θα γίνεται λογιζομένων σαν αμφιέρειστων, αγνοουμένης της έδρασής τους στο υποκείμενο επίχωμα και λαμβάνοντας υπόψη τα νεκρά φορτία και τα 2/3 του κινητού χωρίς προσαύξηση αυτών λόγω του συντελεστή ταλάντωσης. Τόσο η πάνω, όσο και η κάτω επιφάνεια των πλακών, θα οπλίζεται σταυροειδώς με ελάχιστο οπλισμό Φ12/20 B St 420S ή B St 500S και κατά τις δύο διευθύνσεις.
Με τις ίδιες προϋποθέσεις φορτίσεων θα γίνεται και ο υπολογισμός των φορέων πρόσβασης.
1.19. Διαμόρφωση μεταβατικών έργων
(1) Η δομική διαμόρφωση και η γεωμετρία των μεταβατικών έργων δείχνεται στα σχήματα 4.1.19.(1)α, β, γ, δ και η επιλογή του είδους και της έκτασης αυτών θα προκύπτει ύστερα από οικονομοτεχνική διερεύνηση του θέματος με βάση τις τοπικές συνθήκες, συνεκτιμώμενης της δυνατότητας κατάργησης των πλακών πρόσβασης κ.λ.π.

Σχήμα 4.1.19.(1)α

Σχήμα 4.1.19.(1)β

Σχήμα 4.1.19.(1)γ

Σχήμα 4.1.19.(1)δ
(2) Υπόμνημα σχημάτων 4.1.19.(1)α, β, γ, δ
1. Επιφάνεια κύλισης οδού.
2. Ανώτατη στάθμη χωματουργικών (Ταυτίζεται με την Κάτω στάθμη Στρώσης Έδρασης Οδοστρώματος)
3. Στραγγιστήριο όταν απαιτείται. (Ενδεικτική υψομετρική τοποθέτηση ανάλογα με τις τοπικές συνθήκες)
4. Στρώση στράγγισης. (Εφαρμόζεται στην περίπτωση που τα μεταβατικά έργα / μεταβατικό επίχωμα δεν εξασφαλίζουν την ευχερή στράγγιση)
5. Άνω στάθμη επίχωσης με μεταβατικό επίχωμα για οχετούς υπό επίχωση. (Ισχύει και για θολωτούς οχετούς υπό επίχωση)
6. Επίχωση με αργιλικό υλικό καλά συμπυκνωμένο, ή σκυρόδεμα Β5
7. Κανονικό επίχωμα
8. Στάθμη έδρασης κανονικού επιχώματος (μετά την αφαίρεση τυχόν ακαταλλήλων εδαφών)
9. Γραμμή ορίου μεταξύ μεταβατικών έργων και μεταβατικού επιχώματος αφ' ενός και κανονικού επιχώματος αφ' ετέρου. (Για την περίπτωση οδικών έργων, η κλίση h:b = 2:3 μπορεί να μετατραπεί σε h:b = 1:1 ύστερα από έγκριση της Υπηρεσίας, εφόσον η κατασκευή των μεταβατικών έργων / μεταβατικού επιχώματος γίνεται ταυτοχρόνως με την κατασκευή του κανονικού επιχώματος)
10. Μεταβατικά έργα από λιθορριπές, ή Κατεργασμένο Θραυστό Αμμοχάλικο, ή Σταθεροποιημένο Εδαφικό Υλικό, ή σκυρόδεμα Β10. (Θα εφαρμόζονται έπειτα από οικονομοτεχνική διερεύνηση)
11. Μεταβατικό επίχωμα. (Μπορεί να αντικατασταθεί μερικά ή ολικά από μεταβατικά έργα, ύστερα από οικονομοτεχνική διερεύνηση)
12. Άνω στάθμη μεταβατικών έργων (θα εκλέγεται ύστερα από οικονομοτεχνική διερεύνηση)
13. Ύψος HE για την περίπτωση που δεν προβλέπεται η κατασκευή μεταβατικών έργων
14. Ύψος HE για την περίπτωση που προβλέπεται η κατασκευή μεταβατικών έργων μέχρι τη στάθμη έδρασης του κανονικού επιχώματος
15. Ύψος HE για την περίπτωση που προβλέπεται η κατασκευή μεταβατικών έργων πάνω από τη στάθμη έδρασης του κανονικού επιχώματος
16. Ανώτατη στάθμη μεταβατικών έργων.
17. Γενικώς α=0,50 m. Για θεμέλια που σκυροδετούνται μέχρι το πρανές εκσκαφής (κόντρα στο πρανές), χωρίς παρεμβολή ξυλότυπου, το πλάτος α περιορίζεται σε 0,25 m.
18. Σκυρόδεμα Β10. (Βλέπε εδάφιο (5) της παραγράφου 3.7.2).
19. Γενική περίπτωση πέρατος μεταβατικού επιχώματος με εξαίρεση την επόμενη περίπτωση (α/α 20 υπομνήματος)
20. Σε περίπτωση που μεταβατικό έργο από λιθορριπές κατασκευάζεται μέχρι την άνω στάθμη του οχετού και το κανονικό επίχωμα έχει κοκκομετρική σύνθεση που να απαιτεί να γίνει σφράγιση της λιθορριπής, τότε το μεταβατικό επίχωμα του α/α 19 του υπομνήματος επεκτείνεται ως στρώση σφράγισης όπως δείχνεται στα σχέδια 4.1.18.(1).β
21. Τα μεταβατικά έργα του παραπάνω εδαφίου (1) θα μπορούν να κατασκευάζονται, ανάλογα με τις τοπικές συνθήκες και την οικονομοτεχνική διερεύνηση, από:
α) Λιθορριπές*. Αυτές θα κατασκευάζονται από λίθους λατομείου μέγιστης διάστασης 0,40 m (ή μικρότερης εφόσον οι διαστάσεις του σκάμματος και οι τοπικές συνθήκες δεν επιτρέπουν τη χρήση τόσο μεγάλων λίθων). Οι λιθορριπές θα κατασκευάζονται σε στρώσεις μέγιστου πάχους 0,80 m. και το συνολικό τους ύψος δεν θα μπορεί να υπερβαίνει τα 8,00 m.
Σε όση έκταση δεν είναι δυνατή η χρησιμοποίηση κατάλληλων δονητικών οδοστρωτήρων, οι λιθορριπές θα συμπυκνώνονται με κατάλληλα δονητικά μηχανήματα συμπύκνωσης (δονητικοί συμπιεστές, δονητικές πλάκες, δονητικοί κύλινδροι) βαρέως τύπου, σύμφωνα με την Τεχνική Συγγραφή Υποχρεώσεων
β) Κατεργασμένο Θραυστό Αμμοχάλικο (ΚΘΑ) με τσιμέντο, σύμφωνα με την Τεχνική Συγγραφή Υποχρεώσεων
γ) Σταθεροποιημένο Εδαφικό Υλικό (ΣΕΥ) με τσιμέντο, σύμφωνα με την Τεχνική Συγγραφή Υποχρεώσεων
δ) Σκυρόδεμα κατηγορίας Β10.
(3) Αν τυχόν το πλάτος εκσκαφής πίσω από τα ακρόβαθρα γεφυρών ή / και οχετών είναι μικρότερο από 2,0 m και δεν έχει γίνει πλήρωση του απομένοντος σκάμματος με μεταβατικό έργο, σύμφωνα με τα παραπάνω, τότε η πλήρωση θα γίνεται με μεταβατικό επίχωμα και θα κατασκευάζονται πλάκες πρόσβασης για ύψος επιχώματος μεγαλύτερο από 2,0 m.
1.20. Βάθος θεμελίωσης
(1) Το ελάχιστο βάθος θεμελίωσης των βάθρων και των τοίχων αντιστήριξης, εφόσον δεν υπάγονται στις περιπτώσεις των παρακάτω εδαφίων (2) και (3), θα είναι 0,80 m από την τελική στάθμη διαμορφώσεων μπροστά στο πέδιλο.
(2) Σε περίπτωση ύπαρξης τάφρου ή άλλης εκσκαφής μπροστά από το πέδιλο ή πρόβλεψης ή πιθανότητας τέτοιας εκσκαφής μελλοντικά, η στάθμη θεμελίωσης του πεδίλου θα προσδιορίζεται σύμφωνα με το παρακάτω σχήμα 4.1.20.(2).
Τονίζεται ότι δεν επιτρέπονται παρεκκλίσεις στον τρόπο αυτό προσδιορισμού της στάθμης θεμελίωσης με την αιτιολογία της συμπύκνωσης του υλικού επανεπίχωσης της εκσκαφής.

Σχήμα 4.1.20.(2)
(3) Τα ανώτατα σημεία των πεδίλων των ακροβάθρων, μεσόβαθρων ή τοίχων, που βρίσκονται κάτω από κατασκευές οδοστρωμάτων, ερεισμάτων, τάφρων, πεζοδρομίων ή σιδηροδρομικών γραμμών, θα τοποθετούνται σε βάθος τουλάχιστον 1,50 m κάτω από την κατωτάτη στάθμη των διαμορφώσεων πάνω από το πέδιλο, π.χ. τάφρος κ.λ.π., για τη δυνατότητα μελλοντικής διέλευσης υπογείων αγωγών. Εάν από τη μηκοτομή των αγωγών, που προβλέπεται να κατασκευασθούν πάνω από τα πέδιλα, προκύπτει ανάγκη μεγαλυτέρου βάθους θα γίνεται ανάλογη αύξηση.
Το βάθος μπορεί να περιορισθεί σε 0,50 m, αν τα πέδιλα προβάλουν το πολύ 0,50 m πέραν του κορμού του ακροβάθρου ή τοίχου προς την πλευρά των κατασκευών αυτών.
2. Γεωμετρικός σχεδιασμός γεφυρών με υδραυλικές θεωρήσεις
2.1. Περίοδος επανάληψης κρίσιμης βροχόπτωσης
(1) Γέφυρες πάνω από ρέματα και ποταμούς θα έχουν ελεύθερη διατομή που θα προκύπτει από υδραυλικούς υπολογισμούς με ανομοιόμορφη ροή και υπερύψωση στις καμπύλες, με περίοδο επανάληψης της κρίσιμης βροχόπτωσης Τ = 50 χρόνια ή Τ = 100 για την περίπτωση γεφυρών και οχετών με βάθρα εκτός ή εντός της κοίτης, αντίστοιχα, και με συνεκτίμηση της στερεοπαροχής. Το ελάχιστο ελεύθερο ύψος Lh θα είναι κατά 1,00 m μεγαλύτερο από το ύψος ροής ΗP που προκύπτει για την παροχή σχεδιασμού. Θα προβλέπονται διευθετήσεις ρεμάτων στην έκταση που απαιτούνται, ώστε να μην κατακλύζονται οι περιοχές γεφύρωσης των ρεμάτων (λόγω στένωσης κοίτης κ.λ.π.).
(2) Τα αποτελέσματα των υδραυλικών υπολογισμών θα συγκρίνονται με πληροφορίες που θα συγκεντρώσει ο Μελετητής από κατοίκους γειτονικών περιοχών και από επιτόπου παρατηρήσεις για τη δίαιτα των νερών και η υδραυλική διατομή θα αυξάνεται ανάλογα, αν προκύπτουν στοιχεία που οδηγούν σε αύξησή της. Οι τελικές διαστάσεις της διατομής υπόκεινται στην έγκριση του Κυρίου του Έργου.
(3) Οι διαστάσεις της διατομής γεφυρών σε υγρά κωλύματα δεν θα εμποδίζουν τη ροή του νερού, εκτός αν σχεδιαστούν ειδικά ως έργα υδραυλικού ελέγχου.
(4) Όπου δεν αναφέρεται στους Ειδικούς Όρους Μελέτης ή / και Κατασκευής και δεν υπάρχει διαθέσιμη υδραυλική μελέτη, θα καθορισθεί από τον Μελετητή ένα ελάχιστο άνοιγμα του τεχνικού έργου με βάση υδραυλικούς υπολογισμούς, με δεδομένο ότι η ροή του νερού θα παραμείνει ανεμπόδιστη.
2.2. Βάθος Θεμελίωσης
(1) Το βάθος θεμελίωσης των βάθρων γεφυρών υγρών κωλυμάτων θα καθορίζεται με υπολογισμούς του βάθους της πιθανής διάβρωσης της κοίτης, με αναφορά σε σχετική βιβλιογραφία και εφαρμογή αποδεκτών μεθόδων. Το ελάχιστο βάθος θεμελίωσης θα είναι 1,00 m κάτω από την πιθανή στάθμη διάβρωσης του εδάφους και τουλάχιστο 3,00 m κάτω από την υπάρχουσα κοίτη, ή 1,00 m μέσα στο βράχο (αν η θεμελίωση γίνεται σε βράχο).
(2) Αν η θεμελίωση γίνεται σε πασσάλους, οι υπολογισμοί των πασσάλων και της ανωδομής θα περιλαμβάνουν και τις δύο καταστάσεις, πριν και μετά την πιθανή διάβρωση. Σε κάθε περίπτωση, το τελικό βάθος θεμελίωσης θα καθορισθεί με παράλληλη θεώρηση του βάθους διάβρωσης και της φέρουσας ικανότητας και ανεκτών υποχωρήσεων του εδάφους.
2.3. Διάβρωση
(1) Η Πιθανότητα διάβρωσης γύρω και κάτω από τα θεμέλια θα πρέπει να αποφευχθεί είτε με κατάλληλη τοποθέτηση και επιλογή της στάθμης τους ή με τη λήψη καταλλήλων μέτρων προστασίας.
(2) Οποιοδήποτε μέτρο προστασίας στα βάθρα της γέφυρας, στην όχθη και στην κοίτη του ρέματος, θα θεωρείται ότι αποτελεί τμήμα των εργασιών της γέφυρας.
(3) Απαραίτητο είναι να προσδιορίζεται η έκταση της πιθανής υποσκαφής στα διάφορα έργα ή μέρη των έργων, με αναφορά σε σχετική βιβλιογραφία και εφαρμογή αποδεκτών μεθόδων.
(4) Δεν πρέπει να γίνονται εκτεταμένα έργα. Είναι επιθυμητό να ελαχιστοποιούνται οι επιπτώσεις στο περιβάλλον των ποταμών-χειμάρρων αλλά και οι ισχυρές επεμβάσεις στη δίαιτα της ροής τους. Τα έργα πρέπει κυρίως να αποβλέπουν στην προστασία της οδού, των οχετών, των γεφυρών και πιθανών συνοδευτικών έργων.
(5) Για την έκταση τοπικών έργων γύρω από τα βάθρα γεφυρών συνιστάται ενδεικτικά:
μήκος (κατά τον άξονα της ροής) L = 7 x b
πλάτος (εγκάρσια στη ροή) W = 6 x b
πάχος: D = 0,35 x b
όπου b είναι: το καθαρό άνοιγμα στην κοίτη αφαιρουμένου του πλάτους των βάθρων
Για την έκταση τοπικών έργων ανάντη και κατάντη γεφυρών ισχύουν:
μήκος προς τα ανάντη L=b'
μήκος προς τα κατάντη L = 2 b' έως 4 b'
όπου b' είναι: το συνολικό πλάτος των βάθρων που μειώνουν το φυσικό πλάτος της ροής
(το συνολικό φυσικό πλάτος της κοίτης (στην πλημμύρα μελέτης) είναι Β=b+b')
(6) Ενδεχόμενα μέτρα προστασίας από τη διάβρωση, ανάλογα με τις επικρατούσες υδραυλικές και γεωλογικές συνθήκες, περιλαμβάνουν:
α) Σχεδιασμό μεταβατικών έργων για την ελαχιστοποίηση της διαφοράς μεταξύ της ταχύτητας εξόδου και ταχύτητας στην κατάντη συνεχόμενη φυσική κοίτη.
β) Επένδυση των πρανών (όχθων) και του πυθμένα της κοίτης με εύκαμπτα κατά προτίμηση υλικά, όπως για παράδειγμα με λιθορριπές ή λιθοπλήρωτα συρματοκιβώτια ή στρωμνές.
γ) Τοπικά και περιορισμένα έργα κοιτοστρώσεων σκυροδέματος.
δ) Αναβαθμούς και δεξαμενές ηρεμίας για τη θραύση της ενέργειας.
(7) Δίνονται τα ακόλουθα όρια ταχυτήτων για την επιλογή των υλικών και των έργων:
Ταχύτητες
(m/sec)
|
Συνιστώμενα έργα
|
Έως 1,50
|
απλές διαμορφώσεις-ισοπέδωση της κοίτης
|
έως 4,50
|
απλές λιθορριπές στην περιοχή του έργου
|
έως 5,50
|
ισχυρές λιθορριπές σε ευαίσθητα σημεία του έργου
|
έως 6,00
|
στρωμνές στην περιοχή και συρματοκιβώτια σε ευαίσθητα σημεία του έργου
|
έως 7,00
|
ισχυρά συρματοκιβώτια στην περιοχή του έργου
|
έως 10,00
|
κοιτοστρώσεις με σκυρόδεμα
|
Πάνω από 10,00
|
διατάξεις θραύσης ενέργειας
|
3. Δομικός σχεδιασμός γεφυρών
3.1. Γενικά
3.1.1. Ορισμοί
(1) Ανάλογα με τη στατική λειτουργία του φορέα ή του φέροντος συστήματος στο σύνολο του, οι γέφυρες διακρίνονται κατά κανόνα σε:
| • | Γέφυρες επιφανειακών φορέων (πλάκες, εσχάρες, πολυκυψελωτές διατομές) |
| • | Γέφυρες φορέων μορφής δοκού (πλακοδοκοί, κιβωτοειδείς, σκαφοειδείς) |
| • | Πλαισιωτές γέφυρες (με κατακόρυφα ή κεκλιμένα βάθρα) |
Οι πλέον συνήθεις περιπτώσεις είναι γέφυρες επιφανειακών φορέων και γέφυρες φορέων μορφής δοκού.
Στη συνέχεια δίνονται μερικές χαρακτηριστικές διατομές φορέων συνήθων γεφυρών.





Σχήμα 4.3.1.(1)
3.1.2. Υλικά κατασκευής γεφυρών
(1) Φορείς γεφυρών θα κατασκευάζονται από οπλισμένο ή από προεντεταμένο σκυρόδεμα. Σημειώνεται ότι το τεύχος αυτό των οδηγιών είναι βασικά προσανατολισμένο σε οδικές γέφυρες από σκυρόδεμα. Κατασκευές τύπου ΑRMCO δεν επιτρέπονται.
(2) Πάσσαλοι, κεφαλόδεσμοι, θεμελιώσεις, ακρόβαθρα, πτερύγια, πτερυγότοιχοι, μεσόβαθρα, δοκοί έδρασης κ.λ.π., θα κατασκευάζονται από οπλισμένο σκυρόδεμα.
(3) Τα εφέδρανα των γεφυρών θα είναι γενικά ελαστομερή, ελασματοποιημένου τύπου σύμφωνα με το DIN 4141.
Όταν οι δράσεις υπερβαίνουν τις ικανότητες των προαναφερθέντων ελαστομερών εφεδράνων (δηλαδή στην περίπτωση μεγάλων μετακινήσεων ή στροφών) ή όταν οι απαιτήσεις της μελέτης υπαγορεύουν τη χρήση άλλου τύπου εφεδράνων, τότε μπορούν να χρησιμοποιούνται εφέδρανα σημειακού τύπου (POT BEARINGS), σύμφωνα με το DIN 4141. Οι επιφάνειες των εφεδράνων θα είναι από Ανοξείδωτο Χάλυβα - PTFE, θα πρέπει να προστατεύονται από την είσοδο ξένων υλών και να εμποδίζεται η επαφή με άλλες επιφάνειες, εκτός από Ανοξείδωτο Χάλυβα - PTFE. Η επεξεργασία προστασίας των μεταλλικών εφεδράνων θα γίνεται μόνο στον τόπο κατασκευής τους (Βιομηχανική επεξεργασία). Δεν επιτρέπεται η εκτέλεση επιτόπου προστατευτικών επικαλύψεων των εφεδράνων.
Σημειώνεται ότι σε μόνιμα έργα δεν επιτρέπεται η χρησιμοποίηση εφεδράνων μηχανικού συστήματος κύλισης και στροφής (roller and rocker bearing).
3.1.3. Ποιότητα σκυροδεμάτων
(1) Η κατώτερη επιτρεπομένη ποιότητα σκυροδέματος οποιουδήποτε στοιχείου γέφυρας (πάσσαλοι, κεφαλόδεσμοι, θεμελίωση, μεσόβαθρα, ακρόβαθρα, φορέας, πλευρικές διαμορφώσεις, διαμορφώσεις κεντρικής νησίδας κ.λ.π.) θα είναι Β25 (ή ισοδύναμης) ή ανώτερης (βλέπε DIN 1045/1988, παράγραφος 6.5.1.(6)).
(2) Τα στοιχεία γεφυρών από προεντεταμένο σκυρόδεμα θα κατασκευάζονται με χρήση σκυροδέματος κατηγορίας Β25 (ή ισοδύναμης), ή ανώτερης όταν πρόκειται για προένταση μετά τη σκλήρυνση του σκυροδέματος και κατηγορίας Β35, (ή ισοδύναμης) ή ανώτερης όταν πρόκειται για προένταση σε κλίνη.
(3) Βάθρα (μεσόβαθρα ή ακρόβαθρα) τα οποία υπόκεινται σύμφωνα με το DIN 1072/85 παράγραφος 5.3 σε κίνδυνο πρόσκρουσης οχήματος, θα κατασκευάζονται με σκυρόδεμα ποιότητας Β35 (ή ισοδύναμης) ή ανώτερης.
(4) Η ποιότητα του σκυροδέματος επικλίσεων πάνω σε φορείς (σε όσες περιπτώσεις απαιτείται) θα είναι Β15.
(5) Η ποιότητα του σκυροδέματος καθαριότητος θα είναι Β10.
3.1.4. Χαλαρός οπλισμός
(1) Γενικά θα γίνεται χρήση ράβδων Β St 420 S και Β St 500 S, καθώς και πλεγμάτων Β St 500 Μ, κατά DIN 488/84 Μέρος 1.
(2) Συνιστάται η αποφυγή χρήσης δέσμης ράβδων
3.1.5. Χάλυβες προέντασης
Θα χρησιμοποιούνται χάλυβες οι οποίοι περιλαμβάνονται στις Αποφάσεις έγκρισης εφαρμογής στην Ελλάδα των διαφόρων συστημάτων προέντασης που εκδίδονται από το Τμήμα Μελετών Τεχνικών Έργων (ΔΜΕΟ/γ) του Υπουργείου Περιβάλλοντος Χωροταξίας και Δημοσίων Έργων.
3.1.6. Ελαχίστη διάμετρος και μεγίστη απόσταση ράβδων χαλαρού οπλισμού
(1) Σε όλα τα δομικά στοιχεία της γέφυρας (ανωδομή και υποδομή) η ελαχίστη διάμετρος χαλαρών οπλισμών θα είναι Φ ≥ 10 mm και η μεγίστη απόσταση ράβδων e ≤ 20 cm. Αυτό δεν ισχύει προκειμένου για οπλισμό συναρμολόγησης (μονταρίσματος), όπως άγκιστρα μορφής S κ.λ.π.
(2) Στην περίπτωση χρήσεως πλεγμάτων οπλισμού, το άνοιγμα της βροχίδας θα είναι ≤ 15 cm και η διάμετρος των ράβδων ≥ 6 mm.
(3) Σημειώνεται ότι ο οπλισμός συναρμολόγησης (μονταρίσματος) δεν συνυπολογίζεται στον στατικά απαιτούμενο οπλισμό.
3.1.7. Ελάχιστος χαλαρός οπλισμός υποδομής
(1) Όλες οι παρειές δομικών στοιχείων μορφής δίσκων ή πλακών, θα οπλίζονται με οπλισμό και στις δύο διευθύνσεις. Κάθε παρειά θα οπλίζεται ανά διεύθυνση με ελάχιστο ποσοστό οπλισμού 0,06% της διατομής του σκυροδέματος, όχι όμως λιγότερο από Φ10/20 ή πλέγμα οπλισμού της αντίστοιχης διατομής.
(2) Σε δομικά στοιχεία τα οποία σκυροδετούνται επάνω σε ήδη σκυροδετηθέντα στοιχεία, θα πρέπει να τοποθετείται κατασκευαστικός ελάχιστος οπλισμός σύμφωνα με το παρακάτω σχήμα 4.3.1.7.(2), εφόσον ο ελάχιστος οπλισμός που προκύπτει από το εδάφιο (1) δεν είναι μεγαλύτερος.

Σχήμα 4.3.1.7. (2)
(3) Έγχυτοι πάσσαλοι διαμέτρου D < 50 cm θα οπλίζονται καθ' όλο το μήκος τους με ποσοστό οπλισμού 0,8% της διατομής του σκυροδέματος.
(4) Έγχυτοι πάσσαλοι διαμέτρου D ≥ 50 cm θα οπλίζονται καθ' όλο το μήκος τους με ελάχιστο διαμήκη οπλισμό Φ = 20 mm σε απόσταση e ≤ 20 cm και με σπειροειδή οπλισμό ελάχιστης διαμέτρου Φ = 10 mm με βήμα s ≤ 24 cm.
(5) Τονίζεται ότι οι ελάχιστοι οπλισμοί οι οποίοι αναφέρονται στην παρούσα παράγραφο, καθώς και στην παράγραφο 3.1.6, ισχύουν εφόσον από τις διατάξεις της εγκυκλίου [Π] Ε39/1999 Οδηγίες για την αντισεισμική μελέτη γεφυρών δεν προκύπτουν μεγαλύτερα ποσοστά οπλισμού.
3.1.8. Ελάχιστος χαλαρός οπλισμός ανωδομής
(1) Ο ελάχιστος οπλισμός θα τοποθετείται σε όλους τους αρμούς διακοπής, εφόσον δεν προκύπτει μεγαλύτερος οπλισμός από στατικούς λόγους.
(2) Σε φορείς με διάκενα, π.χ. πλάκες με κενά, κιβωτοειδείς φορείς κ.λ.π, ο ελάχιστος οπλισμός θα προβλέπεται και στις εσωτερικές παρειές τις προσκείμενες στα διάκενα.
(3) Σε δομικά στοιχεία τα οποία σκυροδετούνται επάνω σε ήδη σκυροδετηθέντα στοιχεία, ισχύουν αναλόγως τα αναφερόμενα στο εδάφιο (2) της προηγουμένης παραγράφου 3.1.7.
(4) Σε λωρίδα πλάτους 1,0 m από την εξωτερική παρειά πλακών προβόλων θα τοποθετείται ελάχιστος διαμήκης οπλισμός ίσος με 0,8% της διατομής σκυροδέματος που αντιστοιχεί στη λωρίδα πλάτους 1,0 m. O οπλισμός αυτός θα διατάσσεται στην πάνω και κάτω παρειά του προβόλου με την ίδια διάμετρο και σε αποστάσεις e ≤ 10 cm (βλέπε σχήμα 4.3.1.8.(4)).
Σε περιπτώσεις προβόλων μικρότερων του 1,0 m, θα λαμβάνεται υπόψη η υπάρχουσα διατομή.

Σχήμα 4.3.1.8.(4)
(5) Για τον οπλισμό στις πλευρικές διαμορφώσεις των γεφυρών, καθώς και στις διαμορφώσεις στην κεντρική νησίδα, βλέπε παραγράφους 3.1.13 και 3.1.14
3.1.9. Επικάλυψη χαλαρών οπλισμών - Αποστάτες
(1) Σε στοιχεία από προεντεταμένο ή οπλισμένο σκυρόδεμα, η ελάχιστη επικάλυψη του χαλαρού οπλισμού θα είναι 4,0 cm και η ονομαστική 4,5 cm.
(2) Σε στοιχεία σε επαφή με το έδαφος, η ελάχιστη επικάλυψη θα είναι 5,0 cm και η ονομαστική 5,5 cm.
(3) Στις πλευρικές διαμορφώσεις γεφυρών, καθώς και στις ανάλογες διαμορφώσεις στην κεντρική νησίδα και ειδικά για τους οπλισμούς της κάτω παρειάς της που βρίσκεται σε επαφή με τον φορέα, η ελαχίστη επικάλυψη του χαλαρού οπλισμού θα είναι 2,0 cm και η ονομαστική 2,50 cm (βλέπε και παραγράφους 3.1.13 και 3.1.14).
(4) Σε πασσάλους για την κατασκευή των οποίων χρησιμοποιείται μπετονίτης, η ελαχίστη επικάλυψη θα είναι 7,0 cm.
(5) Σε διαφραγματικούς τοίχους που αποτελούν φέροντα στοιχεία της τελικής κατασκευής, η ελάχιστη επικάλυψη των οπλισμών θα είναι 10,0 cm.
(6) Τονίζεται ότι στις περιπτώσεις που δίνονται οι ονομαστικές τιμές των επικαλύψεων (εδάφια (1), (2) και (3)), οι σχετικοί υπολογισμοί θα γίνονται με βάση τις ονομαστικές αυτές τιμές και στα σχέδια των μελετών θα αναγράφονται επίσης οι ονομαστικές τιμές (βλέπε και DIN 1045/1988 παράγραφος 13.2.1.(6)).
(7) Μεταλλικοί αποστάτες για την εξασφάλιση της απαιτουμένης επικάλυψης δεν επιτρέπονται. Θα χρησιμοποιούνται αποστάτες ανθεκτικοί στο αλκαλικό περιβάλλον οι οποίοι θα εξασφαλίζουν, ανάλογα και με το βάρος του οπλισμού που φέρουν, μία κατά το δυνατόν σημειακή στήριξη στον ξυλότυπο. Η μορφή, ο αριθμός και η διάταξη των αποστατών θα πρέπει να εμφαίνονται στα σχέδια οπλισμού. Κατ' ελάχιστον θα τοποθετούνται 4 αποστάτες ανά m2.
3.1.10. Κατασκευαστικές διατάξεις οπλισμού προέντασης
(1) Σε οδογέφυρες και πεζογέφυρες, κατά παρέκκλιση του DIN 4227/1988, Μέρος 1, η επικάλυψη των σωλήνων των τενόντων στο άνω πέλμα της πλάκας καταστρώματος θα είναι 10 cm για τους διαμήκεις τένοντες και 8 cm για τους εγκάρσιους.
(2) Δεν επιτρέπονται ανοίγματα και οπές στις πλάκες καταστρώματος, συμπεριλαμβανομένων αυτών που χρησιμεύουν για την τάνυση των καλωδίων προέντασης (αναδυόμενα καλώδια).
(3) Σε κάθε διατομή γέφυρας θα πρέπει τουλάχιστον το 30% των τενόντων να συνεχίζει χωρίς ένωση (μούφες). Οι τένοντες αυτοί μπορούν να συνδεθούν με άλλους ή να αγκυρωθούν σε απόσταση a από τον αρμό διακοπής σκυροδέτησης, ίση τουλάχιστον με 1,5 φορά το ύψος του φορέα, ή με 3,0 m σε περίπτωση φορέων με ύψος μεγαλύτερο των 2,0 m. Η παράγραφος 10.4 του DIN 4227/1988 Μέρος 1 ισχύει επίσης για διατομές στις οποίες υπάρχουν συνδέσεις τενόντων με μούφες και εκτός αρμών διακοπής. Στο σχήμα 4.3.1.10.(3)b απεικονίζεται παραστατικά η επιμήκυνση των τενόντων 9, 10, 11, 12 σε απόσταση a πέραν του αρμού διακοπής, σε αντίθεση με το πάνω μέρος του σχήματος 4.3.1.10.(3)a, όπου οι αγκυρώσεις και οι επιμηκύνσεις όλων των τενόντων γίνονται στη θέση του αρμού διακοπής, πράγμα το οποίο τονίζεται ότι απαγορεύεται διότι οδηγεί με βεβαιότητα στη δημιουργία ρωγμών μεγάλου εύρους στην περιοχή του αρμού διακοπής.

Σχήμα 4.3.1.10.(3)
(4) Η εγκάρσια προένταση στην περιοχή του αρμού διακοπής πρέπει, στο αρχικά σκυροδετούμενο τμήμα της γέφυρας και σε μήκος τουλάχιστον ίσο προς το μήκος του προβόλου κατά την εγκάρσια διεύθυνση της γέφυρας, να ανέρχεται το πολύ στο μισό της επιτρεπομένης δύναμης. Το υπόλοιπο μισό της δύναμης προέντασης θα εφαρμόζεται με την επιβολή της εγκάρσιας προέντασης στο επόμενο του αρχικά σκυροδετηθέντος τμήμα της γέφυρας.
(5) Σε πλάκες καταστρώματος με εγκάρσια προένταση πρέπει, τουλάχιστον μία παρά μία αγκύρωση, να φθάνει μέχρι το πλευρικό όριο της πλάκας. Κανένα μέρος των αγκυρώσεων δεν επιτρέπεται να βρίσκεται υψομετρικά στην ίδια στάθμη με την πάνω επιφάνεια του φορέα.
(6) Η προεξοχή του φορέα πέρα από τον άξονα στήριξης και μέχρι την εξωτερική επιφάνεια των αγκυρώσεων, θα επιλέγεται με τέτοιο μήκος ώστε στην περιοχή του άξονα στήριξης να επιτυγχάνεται όσο το δυνατόν πιο ομοιόμορφη εισαγωγή των δυνάμεων προέντασης στους κορμούς.
(7) Τουλάχιστον τα δύο τρίτα των καλωδίων που απαιτούνται για την παραλαβή της μέγιστης ροπής ανοίγματος θα πρέπει να διέρχονται πάνω από τις γειτονικές στηρίξεις.
(8) Σε κάθε κορμό θα προβλέπεται τουλάχιστον ένα κενό για τη δόνηση του σκυροδέματος. Δεν επιτρέπεται η πλευρική παράθεση περισσοτέρων από τρεις τένοντες χωρίς πρόβλεψη διακένου δόνησης. Το ελάχιστο καθαρό πλάτος των διακένων δόνησης θα είναι γενικά 10 cm, αλλά στις περιπτώσεις φορέων με ύψος μεγαλύτερο των 2,0 m ή / και διάταξης των τενόντων σε περισσότερες από μία στρώσεις, το πλάτος του διακένου θα καθορίζεται επιπροσθέτως από τη διάμετρο του σωλήνα καθόδου του σκυροδέματος ή του σωλήνα της αντλίας σκυροδέματος.
(9) Η καθαρή απόσταση των τενόντων από φρεάτια απορροής ομβρίων θα είναι 10,0 cm τουλάχιστον.
(10) Οι θέσεις επιβολής της προέντασης, οι σωληνίσκοι εισαγωγής του ενέματος καθώς και οι σωληνίσκοι του εξαερισμού, θα αριθμούνται μονοσήμαντα πριν από τη σκυροδέτηση.
3.1.11. Επιτρεπόμενες ανοχές τοποθέτησης τενόντων προέντασης
(1) Στους παρακάτω πίνακες 4.3.1.11.(1)α και β δίνονται αντίστοιχα οι επιτρεπόμενες ανοχές κατά την τοποθέτηση των τενόντων προέντασης καθ' ύψος και κατά πλάτος αντίστοιχα.
Πίνακας 4.3.1.11.(1)α
Ύψος δομικού στοιχείου d0 (cm)
|
Ανοχές καθ' ύψος
|
≥ 20
20< d0 ≤ 100
> 100
|
± d0 /40
± 5,0 mm
± 10,0 mm
|
Πίνακας 4.3.1.11.(1)β
Πλάτος δομικού στοιχείου b (cm)
|
Ανοχές κατά πλάτος
|
Δοκός
|
≤ 20
0 < b ≤ 100
|
5,0 mm
± 10,0 mm
|
Πλάκες και δοκοί
|
>100
|
± 20,0 mm
|
(2) Συνιστάται όπως οι τένοντες τοποθετούνται στις προβλεπόμενες από τη μελέτη θέσεις με τη βοήθεια συνδετήρων ενισχυμένων με εγκάρσιες και διαγώνιες ράβδους, με τέτοιο τρόπο ώστε να αποκλείεται ο λυγισμός τους, τόσο κατά τη διάρκεια της συναρμολόγησης των τενόντων όσο και κατά τη διάρκεια της σκυροδέτησης.
Στον παρακάτω πίνακα 4.3.1.11.(2) δίνεται η απαιτούμενη διάμετρος των συνδετήρων αυτών, ανάλογα με την καθ' ύψος θέση των εγκαρσίων ράβδων ενίσχυσής τους. Οι συνδετήρες στήριξης των τενόντων, καθώς και οι ενισχύσεις τους, θα περιλαμβάνονται στα σχετικά σχέδια της μελέτης.
Οι συνδετήρες στήριξης των τενόντων δεν θα συνυπολογίζονται στους στατικά απαιτουμένους συνδετήρες. Οι προβλεπόμενες στις θέσεις αγκύρωσης των τενόντων σπείρες θα τοποθετούνται συμμετρικά ως προς τον διαμήκη άξονα του τένοντα κατά τρόπο αμετάθετο.
Πίνακας 4.3.1.11.(2)
Ύψος εγκάρσιας ράβδου πάνω από τον ξυλότυπο
|
Ελάχιστη διάμετρος συνδετήρων στήριξης τενόντων (mm)
|
≤ 1,0
> 1,0
|
16
20
|
3.1.12. Στάδια - φάσεις κατασκευής προεντεταμένων γεφυρών
(1) Τονίζεται ότι ο βαθμός προέντασης (πλήρης ή μερική) ο οποίος έχει καθορισθεί για μία γέφυρα ισχύει και για τα διάφορα στάδια κατασκευής της.
(2) Πριν την πραγματοποίηση και ενεργοποίηση της τσιμεντένεσης δεν επιτρέπεται η φόρτιση της γέφυρας. Στην αντίθετη περίπτωση, π.χ. λόγω ανάγκης καταβιβασμού των ξυλότυπων, θα πρέπει να γίνεται έλεγχος σε ρηγμάτωση και θραύση.
3.1.13. Ελάχιστα πάχη στοιχείων Βάθρων (Ακροβάθρων & Μεσόβαθρων), κεφαλόδεσμων
Συνιστάται:
(1) Εξομαλυντική στρώση (καθαριότητας) σκυροδέματος d= 10 cm
(2) Θωράκια στη θέση πάκτωσης d = 30 cm
(3) Εξωτερικοί τοίχοι κιβωτοειδών μεσόβαθρων d = 30 cm
(4) Εσωτερικοί τοίχοι κιβωτοειδών μεσόβαθρων d = 20 cm
(5) Αντιστηρίζοντες οριζόντιοι δίσκοι και πλάκες d = 15 cm
(6) Τοίχοι και αντηρίδες
α) Για ύψη τοίχων ≤ 1,50 m στη βάση του κορμού και στη στέψη d= 30 cm
β) Για ύψη τοίχων ≥ 4,00 m στη βάση του κορμού d = 50 cm στη στέψη d = 30 cm
γ) Για ενδιάμεσα ύψη γραμμική παρεμβολή
(7) Η πλάκα κεφαλοδέσμου πασσάλων θα προεξέχει τουλάχιστον 30 cm από τους πασσάλους. Η καθαρή απόσταση μεταξύ πασσάλων στο κάτω πέλμα του κεφαλοδέσμου θα είναι τουλάχιστον 60 cm. Ο κεφαλόδεσμος θα έχει ελάχιστο πάχος 60 cm, αλλά όχι μικρότερο από τη μεγαλύτερη διάμετρο του πασσάλου.
3.1.14. Ελάχιστα πάχη στοιχείων ανωδομής
Συνιστάται:
(1) Για την περίπτωση χωρίς επαφή με το έδαφος:
α) Το ελάχιστο πάχος έγχυτης πλάκας καταστρώματος ή έγχυτης πλάκας πάνω από προκατασκευασμένο στοιχείο ορίζεται σε 20 cm.
β) Το ελάχιστο πάχος της κάτω πλάκας πλακοδοκού ή της κάτω πλάκας κιβωτίου ή άκρου προβόλου χωρίς προένταση ορίζεται σε 18 cm.
γ) Το ελάχιστο πάχος άκρου προβόλου με εγκάρσια προένταση ορίζεται σε 23 cm.
δ) Το ελάχιστο πάχος κορμών πλακοδοκών ή κορμών κιβωτίου για ύψος φορέα ≤ 1,0 m ορίζεται σε 30 cm.
ε) Το ελάχιστο πάχος κορμών πλακοδοκών ή κορμών κιβωτίου για ύψος φορέα ≥ 4,0 m ορίζεται σε 50 cm.
στ) Για ενδιάμεσα ύψη φορέα των περιπτώσεων δ) και ε) το πάχος των κορμών θα καθορίζεται με παρεμβολή.
(2) Για την περίπτωση επαφής με το έδαφος:
α) Πλαίσια, Θόλοι, φορείς υπό επίχωση d= 30 cm.
β) Πλάκες πρόσβασης d= 25 cm.
3.1.15. Πλευρικές διαμορφώσεις γεφυρών
(1) Στο σχήμα 4.3.1.15.(1)α δίνονται τα βασικά στοιχεία, τόσο από λειτουργική όσο και από δομική άποψη, της πλευρικής διαμόρφωσης στις γέφυρες, που περιλαμβάνει στηθαίο ασφαλείας Σ.Τ.Ε.-11, πεζοδρόμιο και κιγκλίδωμα, όπως προβλέπεται από σχετικές διατάξεις του Γερμανικού Υπουργείου Συγκοινωνιών - Τμήμα Γεφυρών.
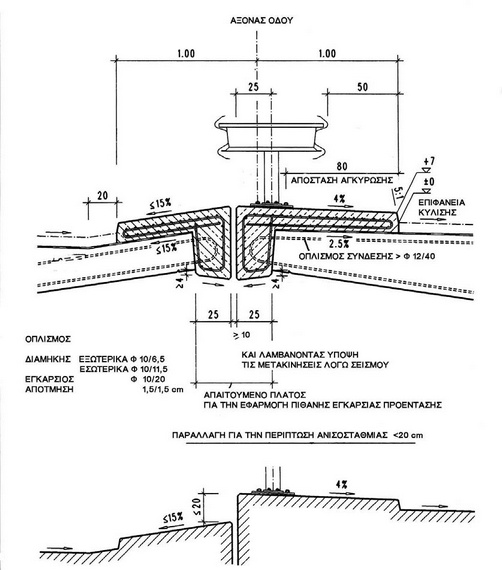
(2) Σύμφωνα με τις ίδιες διατάξεις, στο σχήμα 4.3.1.15.(1)β, δίνονται τα βασικά στοιχεία πλευρικής διαμόρφωσης γέφυρας αλλά με χρήση στηθαίου από σκυρόδεμα το οποίο στην ελληνική ορολογία είναι γνωστό με την κωδική ονομασία Μ.Σ.Ο-8. Σημειώνεται ότι στην περίπτωση αυτή των στηθαίων, απαιτείται η δημιουργία οπών τετραγωνικής διατομής διαστάσεων 10*10 cm ανά αποστάσεις 2,0 m για την απορροή των νερών του πεζοδρομίου προς το κατάστρωμα της γέφυρας. Η σύνδεση του στηθαίου από σκυρόδεμα με την υπόλοιπη πλευρική διαμόρφωση γίνεται μέσω βλήτρων Φ16 με προστασία πλαστικού καλύμματος ανά αποστάσεις ≤ 2,0 m.
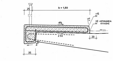
(3) Το κράσπεδο στην περίπτωση ύπαρξης στηθαίου ασφαλείας (όχι από σκυρόδεμα), θα έχει ύψος 14,0 cm πάνω από την επιφάνεια κύλισης. Το πάχος του γείσου θα είναι 35 cm. Η πάνω επιφάνεια της πλευρικής διαμόρφωσης θα παρουσιάζει κλίση 4% προς το κατάστρωμα της γέφυρας. Η επιφάνεια του φορέα κάτω από την πλευρική διαμόρφωση θα πρέπει να διαμορφώνεται με κλίση 2,50% επίσης προς το κατάστρωμα της γέφυρας, για την απομάκρυνση των νερών που τυχόν έχουν διεισδύσει. Το κράσπεδο πάνω από την επιφάνεια κύλισης θα διαμορφώνεται με κλίση 5:1 (υ:π).
(4) Στην πάνω επιφάνεια της διαμόρφωσης θα τοποθετείται διαμήκης οπλισμός Φ10/6,5 και στην κάτω επιφάνεια, την προσκείμενη προς τον φορέα, Φ10/11,50. Ο εγκάρσιος οπλισμός θα είναι Φ10/20. Η σύνδεση της πλευρικής διαμόρφωσης με το φορέα θα γίνεται με ελάχιστο οπλισμό Φ12/40 υπό μορφή φουρκέτας, ο οποίος αποτελεί τμήμα του οπλισμού του φορέα. Ο τρόπος αυτός οπλισμού της πλευρικής διαμόρφωσης και σύνδεσής της με το φορέα αποτρέπει αφ' ενός τον τραυματισμό της μόνωσης του φορέα, η οποία πρέπει να εκτείνεται και κάτω από την πλευρική διαμόρφωση όπως φαίνεται στα σχήματα 4.3.1.15.(1)α και β, και αφ' ετέρου περιορίζει το εύρος των ρωγμών σε ένα στοιχείο το οποίο είναι εκτεθειμένο στις καιρικές συνθήκες και στις μεθόδους αποφυγής δημιουργίας πάγου με τη χρήση αλατιού.
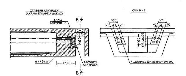
(5) Στο σχήμα 4.3.1.15.(4) εμφανίζεται η ίδια πλευρική διαμόρφωση όπως και στο σχήμα 4.3.1.15.(1)α, αλλά με στηθαίο Σ.Τ.Ε-1. Επειδή το απαιτούμενο πλάτος του στηθαίου Σ.Τ.Ε-1 είναι 0,40 m, το συνολικό απαιτούμενο πλάτος της πλευρικής διαμόρφωσης στην περίπτωση αυτή μπορεί να διαμορφωθεί σε 1,90 m. Κατά τα λοιπά ισχύουν τα αναγραφόμενα στα παραπάνω εδάφια (2) και (3). Σημειώνεται ότι για τις ανάγκες διαφόρων δικτύων θα πρέπει, σε κάθε πλευρική διαμόρφωση, να προβλέπονται τρεις σωλήνες γαλβανισμένοι διαμέτρου Φ 4''.
(6) Όπως αναφέρεται και εδάφια (5) και (6) της παραγράφου 4.1.15, λαμβάνοντας υπόψη τις ανάγκες των συνεργείων συντήρησης των τεχνικών έργων, καθώς και την ανάγκη διέλευσης και τυχόν αναγκαίας επισκεψιμότητας των σωληνώσεων των δικτύων των διαφόρων Οργανισμών Κοινής Ωφέλειας, συνιστάται σε κάθε περίπτωση η πρόβλεψη ενός ελαχίστου πεζοδρομίου ανάγκης πλάτους 75 cm.
(7) Στα σχήματα 4.3.1.15.(6)α και β εμφανίζεται η περίπτωση πλευρικής διαμόρφωσης με ύψος κρασπέδου 15 cm, χωρίς στηθαίο ασφαλείας όταν αυτό παραλείπεται τηρουμένων των προϋποθέσεων του εδαφίου (3)της παραγράφου 4.1.15. Κατά τα λοιπά ισχύουν επίσης τα αναγραφόμενα στα παραπάνω εδάφια (2) και (3). Τονίζεται ότι τα γείσα των πλευρικών διαμορφώσεων παίζουν σημαντικό ρόλο στην αισθητική διαμόρφωση της γέφυρας (βλέπε εδάφιο (3) της παραγράφου 4.3.1.18) και γι αυτό επιβάλλεται μεγάλη επιμέλεια στην κατασκευή τους. Χαρακτηριστική είναι, στο σχήμα 4.1.15.(6)β στο οποίο εμφανίζεται η περίπτωση κατασκευής και κορωνίδας, η δημιουργία σκοτίας στον αρμό διακοπής εργασίας μεταξύ του γείσου και της κορωνίδας.

Σχήμα 4.3.1.15.(1)α

Σχήμα 4.3.1.15.(1)β

Σχήμα 4.3.1.15.(4)

Σχήμα 4.3.1.15.(6)α

Σχήμα 4.3.1.15.(6)β
(8) Στις περιπτώσεις γεφυρών μεγάλου μήκους L ≥ 100 m, ή, ανεξάρτητα από το μήκος, σε γέφυρες αστικών περιοχών, ανισόπεδων κόμβων ή γέφυρες σε περιοχές που σημειώνεται συχνά ομίχλη, ή σε γέφυρες παρακείμενες στα στόμια σηράγγων, ή όπου ο Κύριος του Έργου κατά την απόλυτη κρίση του καθορίζει, θα προβλέπεται ηλεκτροφωτισμός των γεφυρών.
Στα σχήματα 4.3.1.15.(7)α και β απεικονίζονται ενδεικτικά δύο τρόποι τοποθέτησης των ιστών φωτισμού και οι τροποποιήσεις της πλευρικής διαμόρφωσης στην περιοχή στήριξής τους. Σημειώνεται ότι ο πρώτος τρόπος συνιστάται για ύψη ιστού ≤ 10,0 m.
Ο δεύτερος τρόπος του σχήματος 4.3.1.15.(7)β, του οποίου η επίδραση στην αισθητική εικόνα της γέφυρας πρέπει να εξετάζεται προσεκτικά, εφαρμόζεται για ύψη ιστού ≤ 8,0 m και απαιτεί ύψος γείσου ≥ 35 cm και επικάλυψη της αγκύρωσης ≥ 7,0 cm.
Τονίζεται ότι σε κάθε περίπτωση απαιτείται στατικός έλεγχος.

Σχήμα 4.3.1.15.(7)α

Σχήμα 4.3.1.15.(7)β
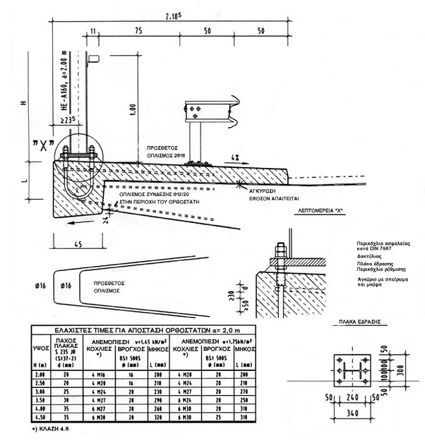
(9) Για τις περιπτώσεις που περιβαλλοντικοί όροι επιβάλλουν την τοποθέτηση ηχοπετασμάτων, δίνονται στα σχήματα 4.3.1.15.(8)α και β βασικά στοιχεία της κατασκευής που απαιτείται για τις περιπτώσεις χωρίς και με στηθαίο από σκυρόδεμα και για απόσταση των ορθοστατών του πετάσματος ίση με 2,0 m.
Στους πίνακες που συνοδεύουν τα σχήματα δίνονται στοιχεία για την αγκύρωση των ορθοστατών, ανάλογα με το ύψος τους και την ανεμοπίεση.
Τονίζεται πάντως ότι σε κάθε περίπτωση απαιτείται στατικός υπολογισμός.

Σχήμα 4.3.1.15.(8)α
Σχήμα 4.3.1.15.(8)β
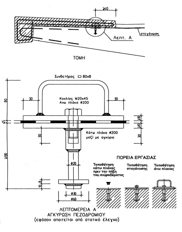
(10) Στο σχήμα 4.3.1.15.(9) δίνεται διάταξη για την αγκύρωση των πλευρικών διαμορφώσεων στις περιπτώσεις που προκύπτει τέτοια ανάγκη από το στατικό υπολογισμό, π.χ. λόγω ύπαρξης ηχοπετάσματος.
Σημειώνεται ότι οι αγκυρώσεις αυτές χρησιμοποιούνται μόνο για την ανάληψη εφελκυστικών δυνάμεων και μόνο για το 50% της δυναμένης να αναληφθεί δύναμης.

Σχήμα 4.3.1.15.(9)
3.1.16. Διαμορφώσεις γεφυρών στην κεντρική νησίδα
(1) Όπως σημειώνεται και στο εδάφιο (2) της παραγράφου 4.1.16, σε γέφυρες κατά μήκος οδικών αξόνων με διαχωρισμένες επιφάνειες κυκλοφορίας τόσο για λόγους στατικούς όσο και για λόγους λειτουργίας και συντήρησης, ο φορέας θα αποτελείται από δύο ανεξάρτητα στατικά τμήματα (ένα για κάθε κλάδο κυκλοφορίας).
(2) Στα παρακάτω σχήματα 4.3.1.16.(2)α, β και γ, δίνονται στοιχεία της διαμόρφωσης για διάφορες περιπτώσεις επικλίσεων.
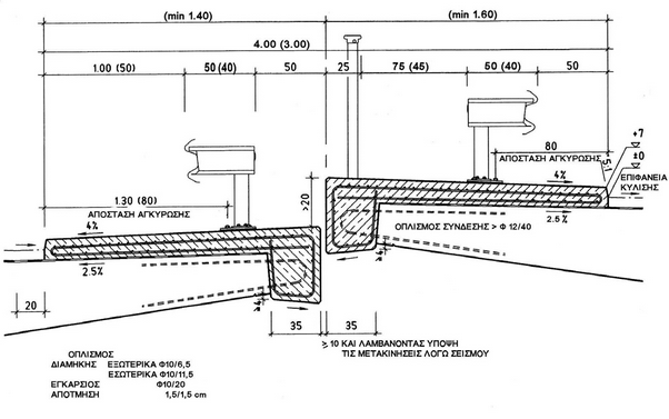
Ειδικότερα, στο σχήμα 4.3.1.16.(2)α δίνεται η διαμόρφωση για την περίπτωση αμφικλινούς διατομής, στο σχήμα 4.3.1.16.(2)β για την περίπτωση μονοκλινούς διατομής με παραλλαγή για την περίπτωση ανισοσταθμίας ≤ 20 cm. Στο σχήμα 4.3.1.16.(2)γ δίνεται η διαμόρφωση για την περίπτωση επίσης μονοκλινούς διατομής για ανισοσταθμία ≥ 20 cm.
Επισημαίνεται ότι οι μέσα σε παρένθεση σημειούμενες διαστάσεις στο σχήμα 4.3.1.16.(2)γ ισχύουν για κεντρική νησίδα πλάτους ν = 3,0 m και με πρόβλεψη στηθαίου Σ.Τ.Ε-1, που απαιτεί πλάτος 0,40 m έναντι πλάτους 0,50 m που απαιτεί το απεικονιζόμενο στηθαίο Σ.Τ.Ε-11
Σχήμα 4.3.1.16.(2)α

Σχήμα 4.3.1.16.(2)β

Σχήμα 4.3.1.16.(2)γ
(3) Στα σχήματα 4.3.1.16.(3)α και β δίνονται οι διαμορφώσεις της κεντρικής νησίδας πλάτους ν = 2,0 m, επίσης για τις περιπτώσεις αμφικλινούς και μονοκλινούς διατομής.
(4) Σημειώνεται ότι και στις περιπτώσεις της διαμόρφωσης των γεφυρών στις περιοχές της κεντρικής νησίδας ισχύουν, από πλευράς οπλισμού, τα αναφερόμενα για τις πλευρικές διαμορφώσεις.
Τονίζεται ότι το διάκενο μεταξύ των δύο γείσων θα καθορίζεται λαμβάνοντας υπόψη τις μετακινήσεις λόγω σεισμού, συνιστάται όμως να μην είναι < 10,0 cm. Στην περίπτωση ταυτόχρονης κατασκευής των φορέων των δύο κλάδων και της ύπαρξης αμφίπλευρης εγκάρσιας προέντασης, τα αντικριστά μέτωπα των δύο φορέων θα απέχουν απόσταση ικανή για να δεχθεί την πρέσα επιβολής της δύναμης προέντασης.

Σχήμα 4.3.1.16.(3)α

Σχήμα 4.3.1.16.(3)β
(5) Στο σχήμα 4.3.1.16.(5)α απεικονίζεται η διαμόρφωση με χρήση στηθαίου από οπλισμένο σκυρόδεμα τύπου New Jersey μονολιθικής σύνδεσης με το φορέα, με ταυτόχρονη ύπαρξη κενού μεταξύ των φορέων των κλάδων.
Στο σχήμα 4.3.1.16.(5)β απεικονίζεται η διαμόρφωση κεντρικής νησίδας με χρήση στηθαίου από σκυρόδεμα τύπου New Jersey Μ.Σ.Ο-8.
Τόσο για την απορροή των νερών της νησίδας, όσο και για τη σύνδεση αυτών των στηθαίων, ισχύουν τα αναφερόμενα στην ανάλογη περίπτωση της πλευρικής διαμόρφωσης γεφυρών (βλέπε εδάφιο (1) της παραγράφου 3.1.15).

Σχήμα 4.3.1.16.(5)α

Σχήμα 4.3.1.16.(5)β
(6) Στις περιπτώσεις γεφυρών με διαχωρισμένους φορείς μέσω διαμήκων αρμών πλάτους της τάξεως των 10 cm, οι οποίες διέρχονται υπεράνω άλλων οδών ή σιδηροδρομικών γραμμών, συνιστάται η κάλυψη του αρμού με ελαστομερή ταινία πάχους της τάξεως των 4 mm, όπως φαίνεται στο παρακάτω σχήμα 4.3.1.16.(6). Σημειώνεται ότι οι κοχλίες κ.λ.π. θα είναι από ανοξείδωτο χάλυβα.


Σχήμα 4.3.1.16.(6)
3.1.17. Βασικά προμετρητικά στοιχεία φορέων
(1) Τόσο για τον προγραμματισμό όσο και για έναν επιτροχάδην έλεγχο μελετών, είναι σκόπιμο να γίνεται αναδρομή σε ποσοτικά στοιχεία τα οποία έχουν προκύψει από πληθώρα γεφυρών.
(2) Στον παρακάτω πίνακα 4.3.1.17.(2) και για διάφορες κατηγορίες φορέων δίνονται βασικά στοιχεία για μία χονδρική εκτίμηση των ποσοτήτων σκυροδέματος, χαλαρού οπλισμού και οπλισμού διαμήκους προέντασης.
Σημειώνεται ότι για μία προκαταρκτική εκτίμηση του διαμήκους οπλισμού προέντασης (περιορισμένη προένταση), μπορεί να γίνει χρήση του τύπου:

όπου:
L το συνολικό μήκος της γέφυρας σε m
n o αριθμός των ανοιγμάτων
l το μέσο μήκος των ανοιγμάτων σε m ίσο με L/n
hK το ύψος του φορέα σε m
βΖ το όριο θραύσης του χάλυβα προέντασης σε Ν/mm2
B το πλάτος του φορέα μεταξύ των κιγκλιδωμάτων
Α = Β x L το εμβαδόν της επιφανείας του φορέα
αL συντελεστής από τον πίνακα 4.3.1.9
SL η ανά m2 επιφανείας του φορέα ανηγμένη ποσότητα του χάλυβα προέντασης σε kg/m2
Πίνακας 4.3.1.17.(2)

3.1.18. Αισθητική διαμόρφωση φορέων
(1) Ιδιαίτερη προσοχή θα δίνεται στη διαμόρφωση των φορέων των γεφυρών ανισόπεδων διασταυρώσεων (κάτω και άνω διαβάσεις) οδικών έργων και μάλιστα της κάτω επιφανείας τους (ουρανός). Οι σχετικές γέφυρες θα κατασκευάζονται με φορείς τύπου πλάκας (συμπαγούς ή με διάκενα) ή κιβωτιόμορφους φορείς (Caissons) με δύο το πολύ κιβώτια ανά γέφυρα (ή κλάδο γέφυρας), εκτός αν τα διαμορφούμενα ανοίγματα σε συνδυασμό με το στατικό σύστημα δεν προσιδιάζουν στην τρέχουσα, στη χώρα μας και διεθνώς, χρησιμοποίηση των προαναφερομένων τύπων διατομής του φορέα. Στις περιπτώσεις αυτές μπορεί να εφαρμόζεται και διατομή μορφής πλακοδοκού ή άλλη.
(2) Σε όλες τις άλλες περιπτώσεις γεφυρών (π.χ. κοιλαδογέφυρες, χαραδρογέφυρες, κλιτυογέφυρες, γέφυρες σε ξηρά ή υγρά κωλύματα, κλπ.) όλων των χρήσεων, η κάτω επιφάνεια των φορέων επιτρέπεται να επιλεγεί με οποιαδήποτε δόκιμη μορφή, περιλαμβανομένης της διαμόρφωσης αυτών με πλακοδοκούς οποιουδήποτε τύπου, λαμβάνοντας όμως πάντοτε υπόψη την αισθητική και το περιβάλλον.
(3) Χωρίς αμφιβολία, ένας λεπτός φορέας γέφυρας προξενεί πολύ καλύτερη εντύπωση σε σχέση με φορείς μεγαλύτερου ύψους. Σε αστικές ιδίως περιοχές πρέπει το ύψος του φορέα να είναι κατά το δυνατόν μικρό. Για τις περιπτώσεις στις οποίες η λυγηρότητα, δηλαδή ο λόγος l/h μήκους ανοίγματος προς ύψος φορέα, είτε από οικονομική άποψη είτε ακόμα και από τεχνική, δεν μπορεί να εκλεγεί τόσο μεγάλη όσο απαιτείται από λόγους αισθητικής, θα πρέπει να ληφθούν υπόψη δύο στοιχεία τα οποία μπορούν να βελτιώσουν καθοριστικά την εντύπωση που προξενεί η γέφυρα:
α) Το πρώτο στοιχείο είναι το μήκος του προβόλου της πλάκας κυκλοφορίας το οποίο σκιάζει το ύψος του φορέα.
Όταν η αναλογία μήκους προβόλου a προς ύψος φορέα h είναι μικρότερη της μονάδος, δηλαδή a/h <1, τότε δεν υπάρχει καμία επίδραση της σκιάς του προβόλου. Με αναλογία a/h >3 η επίδραση της σκιάς είναι πολύ έντονη. Αναλογίες της τάξεως a/h >2 μπορούν να αποτελέσουν ουσιαστικό στοιχείο της αρχιτεκτονικής διαμόρφωσης της γέφυρας (βλέπε σχήμα 4.3.1.18.(3)α).

Σχήμα 4.3.1.18.(3)α

Σχήμα 4.3.1.18.(3)β
β) Το δεύτερο στοιχείο είναι το ύψος hG του γείσου της πλευρικής διαμόρφωσης της γέφυρας, που επηρεάζει επίσης την αισθητική αντίληψη που προκαλείται από το ύψος του φορέα h (βλέπε σχήμα 4.3.1.16)β). Συνιστάται να τηρούνται οι ακόλουθες αναλογίες:
, σε κάθε περίπτωση < 1/3
σε περίπτωση γεφυρών μεγάλου μήκους l.
hG > 20 cm
(4) Στα παρακάτω σχήματα δίνεται συνοπτικά η επίδραση την οποία έχουν στην αισθητική εμφάνιση της γέφυρας το μήκος του προβόλου a, το ύψος του γείσου hG και το στηθαίο από σκυρόδεμα στις περιπτώσεις που χρησιμοποιείται.
Είναι προφανές ότι κατασκευή στηθαίου από σκυρόδεμα, και μάλιστα στο ίδιο κατακόρυφο επίπεδο με την ακραία δοκό του φορέα, προσδίδει χονδροειδή χαρακτήρα στη γέφυρα (βλέπε σχήμα 4.3.1.18.(4)α).
Οι λοξοί κορμοί των κιβωτίων προσδίδουν ιδιαίτερη λεπτότητα στην κατασκευή (βλέπε σχήματα 4.3.1.18.(4)δ και ε).
Το λοξό γείσο του σχήματος 4.3.1.18.(4)ε προσδίδει φωτεινότητα στην κατασκευή.

Σχήμα 4.3.1.18.(4)α

Σχήμα 4.3.1.18.(4)β

Σχήμα 4.3.1.18.(4)γ

Σχήμα 4.3.1.18.(4)δ

Σχήμα 4.3.1.18.(4)ε

Σχήμα 4.3.1.18.(4)στ
(5) Σημειώνεται ότι από αισθητική άποψη σημαντικό ρόλο παίζει και το κιγκλίδωμα, το οποίο όμως, στη συντριπτική πλειοψηφία των περιπτώσεων, αποτελεί τυποποιημένη κατασκευή και συνεπώς μόνο σε περιπτώσεις με έκδηλη αισθητική απαίτηση και σε συμφωνία με τον Κύριο του Έργου πρέπει να χρησιμοποιείται σαν εργαλείο αισθητικής διαμόρφωσης της γέφυρας.
Σημειώνεται επίσης ότι στην παράγραφο 3.1.21 δίνονται μορφές κιγκλιδωμάτων γεφυρών.
3.1.19. Αποχέτευση γεφυρών
3.1.19.1 Γενικά
(1) Βασική αρχή η οποία ισχύει για την αποχέτευση μιας γέφυρας, είναι ότι το νερό που πέφτει πρέπει να απομακρύνεται δια των στομίων εκροής το αργότερο πριν από το τέλος της ανωδομής. Ιδιαίτερα για γέφυρες που βρίσκονται σε περιοχές στις οποίες σημειώνεται παγετός και εξαιτίας του αυξημένου κινδύνου που εγκυμονεί κάτι τέτοιο, είναι ιδιαίτερα σημαντική η ταχεία απομάκρυνση ακόμη και πολύ μικρών ποσοτήτων νερού.
(2) Έχοντας υπόψη την παραπάνω αρχή, ο σχεδιασμός του συστήματος αποχέτευσης - αποστράγγισης ενός τεχνικού, θα αποβλέπει στην εκπλήρωση των παρακάτω στόχων:
α) Στην ασφάλεια των εποχουμένων, καθώς και στη διατήρηση της κυκλοφοριακής ικανότητας κατά τη διάρκεια της βροχόπτωσης.
β) Στην προστασία του τεχνικού και των παρακειμένων οδών από προβλήματα διάβρωσης και υποσκαφής.
γ) Στην ομαλή ένταξη στην αισθητική του τεχνικού.
δ) Στην εύκολη συντήρηση.
(3) Ειδικότερα για την επίτευξη του στόχου της ασφάλειας των εποχουμένων, καθώς και της διατήρησης της κυκλοφοριακής ικανότητας κατά τη διάρκεια της βροχόπτωσης, ο σχεδιασμός του συστήματος συλλογής και απαγωγής των νερών της βροχής από το κατάστρωμα του τεχνικού θα πρέπει να γίνει έτσι ώστε το εύρος πλησμονής ή εύρος νάματος το οποίο θα δημιουργηθεί κατά τη διάρκεια μιας βροχής δεν θα πρέπει να ξεπερνάει τα 0,80 m, μετρούμενα από το κράσπεδο της πλευρικής διαμόρφωσης της γέφυρας (αμφικλινής διατομή) ή το κράσπεδο της διαμόρφωσης στην κεντρική νησίδα σε περίπτωση κατά την οποία η επίκλιση είναι προσανατολισμένη προς την κεντρική νησίδα.
(4) H προστασία του σκυροδέματος και η αποφυγή διάβρωσης του οπλισμού αντιμετωπίζεται με την κατασκευή κατάλληλης μόνωσης (διπλή στρώση ασφαλτόπανου ή ειδικών μεμβρανών κ.λ.π.) στην επιφάνεια του φορέα ή με διπλή ασφαλτική στρώση στις επιφάνειες των ακροβάθρων, τοίχων κ.λ.π. που έρχονται σε επαφή με τις γαίες. Στις επιφάνειες σκυροδέματος οι οποίες είναι εμφανείς και στις οποίες συνήθως δεν εφαρμόζονται στεγανωτικές επαλείψεις, δεν επιτρέπεται να απορρέουν ελεύθερα νερά.
Για την προστασία του τεχνικού από τη διείσδυση νερού σε αυτό διαμέσου των αρμών, θα προβλέπονται στόμια υδροσυλλογής προ των περιοχών των αρμών ώστε τα όμβρια να μη διασταυρώνουν τους αρμούς. Ακόμη και όταν οι αρμοί είναι υδατοστεγανοί, θα τοποθετούνται διατάξεις συλλογής των νερών που κατεισδύουν. Η τοποθέτηση συλλέκτη (κωνικής μορφής συνήθως) γίνεται στο χαμηλότερο σημείο της εγκάρσιας κλίσης του αρμού και η απαγωγή των νερών γίνεται προς το κύριο αποχετευτικό σύστημα της γέφυρας.
(5) Για την αποφυγή ανάπτυξης υδροστατικών πιέσεων και για να απομακρυνθεί ασφαλώς το επιφανειακό νερό που εισρέει στα ακρόβαθρα (συμπεριλαμβανομένων και των πτερυγότοιχων και τοίχων αντιστήριξης), πρέπει να κατασκευάζονται στρώσεις αποστράγγισης, ελάχιστου πλάτους 1,0 m από σκύρα ή άλλο υλικό κατάλληλο για επανεπίχωση στην πίσω επιφάνεια, οι οποίες πρέπει να εκτείνονται από την άνω ακμή των θεμελίων μέχρι το ύψος των χωματουργικών. Περισσότερο συνηθισμένη περίπτωση είναι η τοποθέτηση στραγγιστηρίου αγωγού ελάχιστης διαμέτρου Φ200 mm, εγκιβωτισμένου σε θραυστό υλικό ο οποίος θα παραλαμβάνει την υγρασία και θα την εκτονώνει με ασφάλεια στον αποδέκτη (βλέπε και σχήμα 4.1.19.(1)δ).
(6) Για την προστασία των μεταβατικών επιχωμάτων από διάβρωση λόγω της επιφανειακής απορροής, βλέπε παράγραφο 3.7.7.
(7) Στις περιπτώσεις γεφυρών πάνω από δρόμους ή σιδηροδρομική γραμμή ή γεφυρών σε προστατευόμενες περιοχές, απαγορεύεται η ελεύθερη απορροή από το φορέα. Η απορροή θα γίνεται με κατάλληλο δίκτυο αποχέτευσης που θα παροχετεύει τα νερά σε αγωγούς τοποθετημένους σε επαφή με τα βάθρα. Η τελική απορροή θα γίνεται σε φυσικούς αποδέκτες ή στο δίκτυο αποχέτευσης της υποκείμενης οδού ή της σιδηροδρομικής γραμμής.
Στις υπόλοιπες περιπτώσεις η ελεύθερη απορροή από το φορέα θα επιτρέπεται μόνο ύστερα από συμφωνία του Κυρίου του Έργου. Στις περιπτώσεις αυτές της ελεύθερης απορροής θα προβλέπονται κατάλληλες διατάξεις ώστε σε ενδεχόμενο ισχυρό άνεμο να μην βρέχονται τα διάφορα τμήματα της κατασκευής από τα νερά της απορροής (βλέπε σχήμα 4.3.1.19.1.(7)).

Σχήμα 4.3.1.19.1.(7)
(8) Σε καμία περίπτωση δεν πρέπει να δημιουργούνται στάσιμα νερά κάτω από το τεχνικό (π.χ. κάτω διάβαση).
(9) Το επιφανειακό νερό που ρέει σε κάτω διαβάσεις μεγάλου μήκους πρέπει να αναχαιτίζεται και να απομακρύνεται, πριν από τα τεχνικά έργα, με διατάξεις αποχέτευσης ικανής απόδοσης. Σε κλειστές περιοχές οι εγκαταστάσεις αποχέτευσης πρέπει να υπολογίζονται μόνο για το νερό καθαρισμού.
(10) Το σύστημα αποχέτευσης - αποστράγγισης της γέφυρας θα ελέγχει την επιφανειακή απορροή στο κατάστρωμα του τεχνικού και θα συγκρατεί κάθε είδους επιβλαβές νερό για το σκυρόδεμα μακριά από το τεχνικό, συλλέγοντας και απομακρύνοντάς το επαρκώς και εμποδίζοντας τη διείσδυσή του στο τεχνικό.
3.1.19.2 Διάταξη του συστήματος αποχέτευσης γεφυρών
(1) Το σύστημα αποχέτευσης - αποστράγγισης του καταστρώματος της γέφυρας θα σχεδιάζεται λαμβάνοντας υπόψη το μήκος της γέφυρας, την κατά μήκος κλίση και την επίκλιση της επιφάνειας κύλισης.
(2) Το κάθε σύστημα αποχέτευσης αποτελείται από:
α) Φρεάτια υδροσυλλογής ελάχιστης ωφέλιμης επιφάνειας εισροής 200 cm2
β) Συλλεκτήριους σωλήνες ελάχιστης διαμέτρου Φ150 mm
γ) Τον κεντρικό συλλεκτήριο σωλήνα ελαχίστης διαμέτρου Φ200 mm
δ) Ειδικά τεμάχια (τεμάχια Τ, πώματα ελέγχου και καθαρισμού κ.λ.π.)
(3) Η επιφανειακή συλλογή των νερών της βροχής θα γίνεται με:
α) Φρεάτια υδροσυλλογής τύπου εσχάρας
β) Φρεάτια υδροσυλλογής τύπου πλευρικού στομίου
γ) Συνδυασμό των παραπάνω τύπων φρεατίων υδροσυλλογής
(4) Σε σχέση πάντα με τον τρόπο που θα επιλεγεί για να γίνει η επιφανειακή συλλογή των νερών, θα πρέπει να διαμορφώνεται σύστημα σωλήνων μεταφοράς του νερού που συλλέχθηκε προς έμμεσο ή άμεσο αποδέκτη, τέτοιο ώστε να είναι συμβατό με τη μορφή του τεχνικού και χωρίς να δημιουργεί προβλήματα στο στατικό σύστημα της γέφυρας ή στη λειτουργία και συντήρηση του ίδιου του συστήματος αποχέτευσης.
(5) Όπου ο στατικός σχεδιασμός της γέφυρας το επιτρέπει, μπορεί να τοποθετηθεί αγωγός μέσα στο φορέα της γέφυρας (περίπτωση φορέα κιβωτοειδούς διατομής).
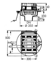
(6) Τα φρεάτια υδροσυλλογής θα είναι βιομηχανικού τύπου κατάλληλα για γέφυρες, με δυνατότητα ρύθμισης του ύψους του στομίου, θα φέρουν κατάλληλη διάταξη προσαρμογής της στεγανωτικής στρώσης και αποστράγγισης των νερών που διηθούνται και θα ανταποκρίνονται στην κλάση D 400 κατά DIN EN 124 και DIN E 1229 (βλέπε π.χ. σχήμα 4.3.1.19.2.(6))

Σχήμα 4.3.1.19.2.(6)
(7) Οι αγωγοί απορροής θα είναι κατά το δυνατόν ευθύγραμμοι, επισκέψιμοι, θα επιτρέπουν τον καθαρισμό και θα επιζητείται η εφαρμογή λύσης που θα εξασφαλίζει την εύκολη αντικατάστασή τους.
(8) Για λόγους κατασκευαστικούς, η ελάχιστη απόσταση μεταξύ φρεατίων υδροσυλλογής καθορίζεται σε 7,0 m μετρούμενη από το κέντρο βάρους της επιφάνειας των δύο διαδοχικών φρεατίων. Οι αποστάσεις αυτές πρέπει κατά κανόνα να είναι ίσες μεταξύ τους και εκπεφρασμένες σε ακέραια μέτρα. Εάν αυτό για στατικούς λόγους δεν είναι δυνατό, μπορεί να γίνεται ανισοκατανομή των φρεατίων αλλά πάντοτε σε θέσεις που θα είναι εύκολο να προσδιοριστούν κατά την κατασκευή.
(9) Η κατά μήκος κλίση με την οποία θα κατασκευάζεται ο κεντρικός συλλεκτήριος αγωγός, θα πρέπει να ακολουθεί, κατά το εφικτό, την κατά μήκος κλίση του φορέα της γέφυρας. Όταν αυτό δεν είναι δυνατόν, η τροποποίηση της κατά μήκος κλίσης της σωληνογραμμής δεν θα πρέπει να την οδηγεί χαμηλότερα από την κάτω επιφάνεια του φορέα. Στις περιπτώσεις αυτές (διαφορετική κατά μήκος κλίση αγωγού και φορέα) θα προβλέπεται οπωσδήποτε κάλυψη του αγωγού με κατάλληλη επιλογή του ύψους του γείσου της πλευρικής διαμόρφωσης της γέφυρας.
(10) Η επιλογή του υλικού για τους κεντρικούς συλλεκτήριους αγωγούς σε συνάρτηση και με το συνολικό μήκος της γέφυρας συνιστάται να γίνεται όπως παρακάτω:
Συνολικό μήκος γέφυρας L
|
Υλικό κεντρικού συλλεκτήριου αγωγού
|
L< 50 m
|
PVC
|
50 m ≤ L ≤ 100 m
|
Γαλβανισμένος σιδηροσωλήνας
|
100 m < L
|
Ελατός Χυτοσίδηρος
|
(11) Οι συλλεκτήριοι αγωγοί των νερών της βροχής θα πρέπει να αναρτώνται ή να στηρίζονται με κατάλληλες διατάξεις για την παραλαβή των αναμενόμενων φορτίων, έτσι ώστε να μην επιτρέπουν την ανάπτυξη βέλους κάμψης μεγαλυτέρου των 3 mm.
Η ανάρτηση θα γίνεται κατά τέτοιο τρόπο ώστε να αντιμετωπίζεται η σχετική διαστολή, καθώς και η μετακίνηση των αγωγών που προκαλείται από μεταβολές της θερμοκρασίας ή την παραμόρφωση της γέφυρας από οποιονδήποτε λόγο.
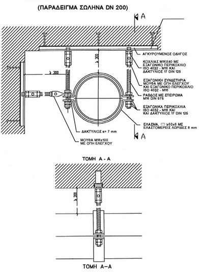
Επομένως, το σύστημα ανάρτησης θα είναι ρυθμιζόμενο και όχι σταθερό. Αποδεκτή απόσταση ανάρτησης για αγωγό διαμέτρου Φ200 από PVC θεωρείται αυτή ανά 2,0 m, ενώ για χαλυβδοσωλήνα της ίδιας διαμέτρου ανά 4,0 m. Η ανάρτηση κάθε τεμαχίου βαρέως σωλήνα (π.χ. χαλυβδοσωλήνες διαμέτρου ≥ 280 mm) θα γίνεται από δύο σημεία του κορμού τους για λόγους ασφάλειας και πάντα σε σχέση με τα σημεία συναρμογής της σωληνογραμμής. Δεν επιτρέπεται σε καμία περίπτωση η ανάρτηση να γίνεται από το ίδιο το σύστημα υδροσυλλογής (φρεάτιο, σχάρα υδροσυλλογής κ.λ.π.). Στα σχήματα 4.3.1.19.2.(11)α και β δίνονται ενδεικτικές διατάξεις ανάρτησης κεντρικού συλλεκτήριου αγωγού διαμέτρων DN 150 έως DN 400, τόσο για οριζόντιο όσο και για κεκλιμένο σύστημα ανάρτησης.
Σημειώνεται ότι η ελεύθερη απαιτούμενη απόσταση 300 mm μεταξύ του κεντρικού συλλεκτήριου αγωγού και των παρειών του φορέα, όπως αυτή σημειώνεται στα προαναφερθέντα σχήματα, είναι δυνατόν να ελαττωθεί ύστερα από συνεννόηση με τον Κύριο του Έργου, σε συνδυασμό με τη διάταξη των πωμάτων ελέγχου και καθαρισμού του κεντρικού συλλεκτήριου αγωγού και τη δυνατότητα κατασκευής και συντήρησης του όλου συστήματος.

Σχήμα 4.3.1.19.2.(11)α

Σχήμα 4.3.1.19.2.(11)β
(12) Η σύνδεση του φρεατίου υδροσυλλογής με τον κεντρικό συλλεκτήριο αγωγό γίνεται με σωλήνα διαμέτρου Φ150 και τεμάχιο ταυ ή σαμάρι (ανάλογα με το υλικό του αγωγού). Ιδιαίτερη προσοχή θα πρέπει να δοθεί στη σύνδεση του κεντρικού αγωγού με τον αγωγό από το φρεάτιο υδροσυλλογής όταν ο κεντρικός αγωγός έχει μεγάλη κατά μήκος κλίση.
(13) Στην περιοχή του ακροβάθρου ή μεσόβαθρου (όπου προβλέπεται εκτόνωση του κεντρικού συλλεκτήριου αγωγού) πραγματοποιείται αλλαγή της κατεύθυνσης ροής από περίπου οριζόντια σε κατακόρυφη. Το γωνιακό τεμάχιο που μεσολαβεί για την αλλαγή της κατεύθυνσης θα πρέπει να αγκυρώνεται κατάλληλα, έτσι ώστε να διασφαλίζεται η σταθερότητα της κατασκευής αλλά ταυτόχρονα να διατίθενται και τα απαραίτητα περιθώρια παραλαβής θερμοκρασιακών μεταβολών.
Η τοποθέτηση ελαστικού τμήματος ή χοάνης παρέχει τη δυνατότητα το σύστημα να μην επηρεάζεται από κατακόρυφες ή οριζόντιες μετακινήσεις (βλέπε σχήματα 4.3.1.19.2.(13)α και β).

Σχήμα 4.3.1.19.2.(13)α

Σχήμα 4.3.1.19.2.(13)β
(14) Συνιστάται ο κατακόρυφος σωλήνας αποχέτευσης στο ακρόβαθρο ή και στα μεσόβαθρα να τοποθετείται, για λόγους προστασίας του, εντός εσοχής (βλέπε σχήμα 4.3.1.19.2.(13)α).
(15) Σε μικρά τεχνικά (της τάξεως ανοίγματος των 12,0 m) με μονολιθική σύνδεση ακροβάθρων και φορέα, το επιφανειακό νερό που συλλέγεται στο κρασπεδόρειθρο της γέφυρας μπορεί να οδηγηθεί πέρα και πάνω από τα ακρόβαθρα χωρίς τη διάταξη στομίων και αγωγών. Στην περίπτωση αυτή θα πρέπει να υπάρχει τεκμηρίωση με υδραυλικούς υπολογισμούς, από την οποία θα προκύπτει ότι οι συνθήκες ροής που θα αναπτυχθούν κατά τη διάρκεια της βροχής, θα είναι τέτοιες που δεν θα δημιουργούν πρόβλημα σύμφωνα με όσα αναφέρθηκαν προηγουμένως. Το νερό σ' αυτές τις περιπτώσεις, εφόσον δεν κατασκευάζονται επιφανειακά έργα αποχέτευσης (ρείθρα, αβαθείς πλευρικές τάφροι, τάφροι αποχέτευσης) ή / και βαθμιδωτά ρείθρα, πρέπει να απομακρύνεται στα πέρατα των τοίχων αντεπιστροφής με φρεάτια υδροσυλλογής.
(16) Σημεία πρόσβασης για επιθεώρηση και συντήρηση ρουτίνας θα τοποθετούνται, όπου αυτό είναι απαραίτητο, σε κατάλληλες αποστάσεις και σε θέσεις όπου υπάρχει πρόσβαση.
3.1.19.3 Βασικές αρχές διαστασιολόγησης του αποχετευτικού συστήματος στις γέφυρες
(1) Η διαστασιολόγηση των κεντρικών συλλεκτήριων αγωγών θα γίνεται λαμβάνοντας υπόψη:
α) Την παροχή που απορροφάται κάθε φορά από τα στόμια υδροσυλλογής του συστήματος που επιλέχθηκε (και όχι από το σύνολο της παροχής σε όλη την έκταση του καταστρώματος του τεχνικού - εκτός από εξαιρέσεις μετά από εντολή του Κυρίου του Έργου)
β) Το μέγιστο επιτρεπόμενο ύψος πλήρωσης (ymax) των σωληνωτών αγωγών κυκλικής διατομής σε σχέση με την εσωτερική διάμετρο αυτών (D), δηλαδή το λόγο ymax/D, οριζόμενο όπως παρακάτω:
Για αγωγούς D ≤ 0,40 m, ymax/D = 0,50
Σε περιπτώσεις γεφυρών μήκους ≥ 200 m είναι δυνατόν, με τη σύμφωνη γνώμη του Κυρίου του Έργου, να γίνει αποδεκτό μεγαλύτερο ύψος πλήρωσης των σωληνωτών αγωγών.
γ) Την ικανοποίηση των ελέγχων ελάχιστης ταχύτητας όπως περιγράφονται παρακάτω:
| • | Η αναπτυσσόμενη ταχύτητα μέσα στον αγωγό δεν πρέπει να είναι μικρότερη από 0,5 m/sec |
| • | Η αναπτυσσόμενη ταχύτητα για παροχή ίση με το 1/10 της παροχής υπολογισμού δεν θα πρέπει να είναι μικρότερη από 0,3 m/sec. |
δ) Την απορροφητικότητα των στομίων υδροσυλλογής σύμφωνα με γενικά παραδεκτούς τύπους.
Παρακάτω δίνεται ενδεικτικά η απορροφητικότητα για δύο είδη φρεατίων:
Η απορροφητικότητα των φρεατίων υδροσυλλογής (Qi: σε m3/s) τύπου Πλευρικού Στομίου σε κρασπεδόρειθρο ή παράπλευρα του New Jersey (για μήκος πλευρικού στομίου L=1,20 m) δίνεται από τις σχέσεις:

όπου:
Qi = η παροχή της εκροής σε m3/s από το ρείθρο στο φρεάτιο (απορροφητικότητα)
i = η εγκάρσια κλίση σε απόλυτο αριθμητικό μέγεθος (π.χ. i = 0,02)
S = η κατά μήκος κλίση σε απόλυτο αριθμητικό μέγεθος (π.χ. S = 0,01)
Η = το βάθος ροής ανάντη του φρεατίου σε m
Οι τιμές των ορίων του πεδίου εφαρμογής των παραπάνω σχέσεων είναι:

Η απορροφητικότητα φρεατίων υδροσυλλογής τύπου Σχάρας δίνεται από τη σχέση:

όπου:
Qi = η παροχή εκροής στο φρεάτιο (m3/s)
L = το μήκος του καθαρού ανοίγματος(4) της σχάρας (m)
W = το πλάτος του καθαρού ανοίγματος της σχάρας (m)
S = η κατά μήκος κλίση σε απόλυτο αριθμητικό μέγεθος (π.χ. S = 0,01)
HAV = το μέσο βάθος ροής (m) στο μέσο του πλάτους της σχάρας αμέσως ανάντη του φρεατίου πριν αρχίσει η πτώση εισρόφησης (draw - down)
όπου:
ΗAV = H - (W x i/2)
Στην απορροφητικότητα που προκύπτει από τον παραπάνω τύπο περιλαμβάνεται και ένα ουσιαστικό περιθώριο ασφάλειας για μερική έμφραξη της σχάρας και έχει δυνατότητα εφαρμογής για διάφορες ισαποστάσεις των ράβδων της σχάρας (έχει περιληφθεί η επιρροή της απομείωσης της επιφάνειας ανοιγμάτων από την ύπαρξη των ράβδων της σχάρας).
ε) Την περίοδο επαναφοράς η οποία θα λαμβάνεται 10 έτη.
στ) Ο συντελεστής απορροής θα λαμβάνεται C = 1,0.
(2) Σημειώνεται ότι η οικονομική διάταξη των φρεατίων υδροσυλλογής προκύπτει όταν δεν επιζητείται συνολική απορρόφηση από τα φρεάτια υδροσυλλογής της παροχής της τάφρου. Στην περίπτωση αυτή θα πρέπει να εξασφαλίζεται ελάχιστο βάθος ροής προς τα κατάντη 1,50 cm, ώστε να παρασέρνονται προς τα κάτω τα επιπλέοντα αντικείμενα.
3.1.20. Στηθαία ασφαλείας γεφυρών
3.1.20.1 Γενικά
(1) Από άποψη υλικού κατασκευής, τα στηθαία ασφαλείας τα οποία χρησιμοποιούνται στη χώρα μας διακρίνονται σε χαλύβδινα και σε στηθαία ασφαλείας από σκυρόδεμα τύπου New Jersey.
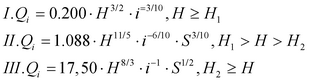
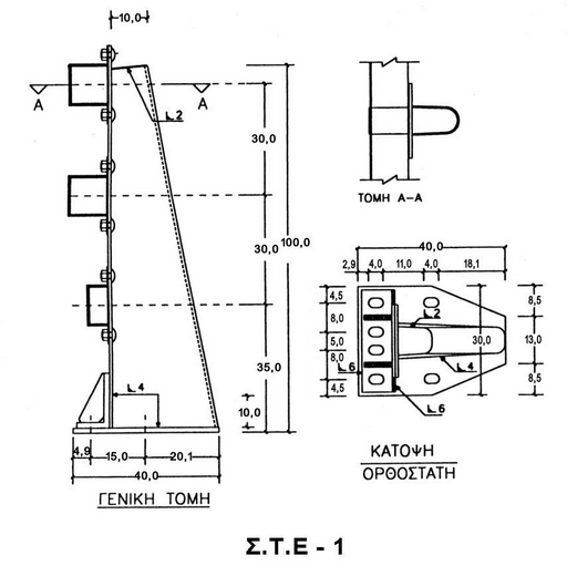
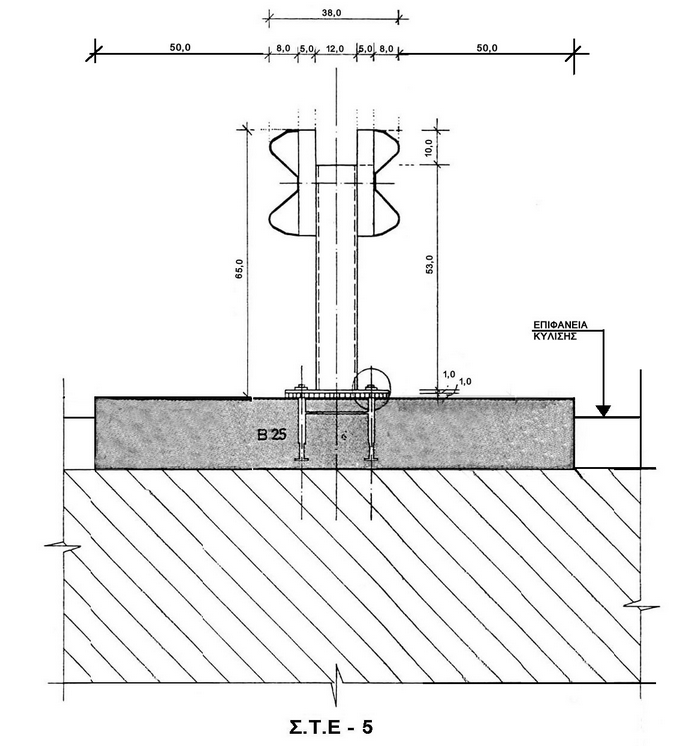
(2) Από άποψη θέσεως, διακρίνονται σε πλευρικά στηθαία ασφαλείας τα οποία τοποθετούνται προς την πλευρά της εξωτερικής λωρίδας καθοδήγησης και σε κεντρικά στηθαία τα οποία τοποθετούνται προς την πλευρά της εσωτερικής λωρίδας καθοδήγησης του αυτοκινητοδρόμου.
(3) Στα παρακάτω σχήματα 4.3.1.20.1.(2) α, β, γ, δ, ε και στ δίνονται βασικά γεωμετρικά χαρακτηριστικά των χαλύβδινων στηθαίων γεφυρών Σ.Τ.Ε-1, Σ.Τ.Ε-4, Σ.Τ.Ε-5, Σ.Τ.Ε-6, Σ.Τ.Ε-11 και Σ.Τ.Ε-12, αντίστοιχα.
Τα στηθαία ασφαλείας από σκυρόδεμα Μ.Σ.Ο-8, Μ.Σ.Ο-13, Α.Σ.Ο-6 και Α.Σ.Ο-7 που απεικονίζονται στα σχήματα 4.3.1.20.1.(2) ι, ι)α, ι)β και ι)γ αντίστοιχα, είναι μεν στηθαία τα οποία χρησιμοποιούνται επί της οδού αλλά με κατάλληλη διάταξη μπορούν να χρησιμοποιηθούν και επί γεφυρών (βλέπε εδάφια (6) και (7) της παραγράφου 3.1.20.1)
Τα σημειούμενα ύψη των στηθαίων Σ.Τ.Ε-1, Σ.Τ.Ε-4, Σ.Τ.Ε-5, Σ.Τ.Ε-6, Σ.Τ.Ε-11 και Σ.Τ.Ε-12 λογίζονται από τη στάθμη έδρασής τους (βλέπε σχήματα 4.3.1.20.1.(2) α, β, γ, δ, ε και στ), ενώ τα ύψη των υπολοίπων στηθαίων ασφαλείας που απεικονίζονται έχουν σαν αφετηρία μέτρησης την επιφάνεια κύλισης.

Σχήμα 4.3.1.20.1.(2)α

Σχήμα 4.3.1.20.1.(2)β

Σχήμα 4.3.1.20.1.(2)γ

Σχήμα 4.3.1.20.1.(2)δ

Σχήμα 4.3.1.20.1.(2)ε

Σχήμα 4.3.1.20.1.(2)στ
Σχήμα 4.3.1.20.(2)ι)α

Σχήμα 4.3.1.20.(2)ι)β
Σχήμα 4.3.1.20.(2)ι)γ
(4) Τονίζεται ότι τα στηθαία ασφαλείας από σκυρόδεμα λειτουργούν με γραμμική πάκτωση στο φορέα της γέφυρας. Η σύνδεσή τους με αυτόν είναι τύπου οπλισμένου σκυροδέματος με προεπιλεγμένη επιφάνεια θραύσης. Δεν θα πρέπει επομένως να γίνεται αυθαίρετη αλλαγή του οπλισμού που προβλέπεται στα σχέδιά τους, διαφορετικά υπάρχει ο κίνδυνος να υποστεί ζημία ο φορέας και μάλιστα σε περιοχή στην οποία ενδέχεται να υπάρχουν εγκάρσιοι τένοντες προέντασης.
(5) Στις περιπτώσεις των στηθαίων αυτών και συμπληρωματικά με τα αναφερόμενα στο εδάφιο (1) της παραγράφου 3.1.14, θα λαμβάνονται υπόψη τα ελάχιστα πάχη των φορέων τα οποία απαιτούνται σύμφωνα με τις οδηγίες που συνοδεύουν τα αντίστοιχα στηθαία.
(6) Οι παρειές των στηθαίων από σκυρόδεμα θα διαμορφώνονται με χρήση ξυλότυπων, με πρόβλεψη επιφανειακού τελειώματος τύπου Ε στην ορατή προς το οδόστρωμα όψη τους και επιφανειακού τελειώματος τύπου Γ στην εξωτερική όψη τους. Η άνω επιφάνεια που δεν έρχεται σε επαφή με ξυλότυπο θα διαμορφώνεται με επιφανειακό τελείωμα τύπου Γ.
(7) Τα στηθαία από σκυρόδεμα θα εμποτίζονται με δύο στρώσεις σιλανίου (silane). Για τα τυποποιημένα (βιομηχανικού τύπου) χαλύβδινα στηθαία, η προστασία τους θα εκτελείται σύμφωνα με τις οικείες προδιαγραφές.
(8) Στις περιπτώσεις χρησιμοποίησης επί των γεφυρών στηθαίων από σκυρόδεμα τύπου New Jersey Μ.Σ.Ο-8, Μ.Σ.Ο-13, Α.Σ.Ο-6, Α.Σ.Ο-7, δηλαδή στηθαίων από σκυρόδεμα τα οποία δεν συνδέονται μονολιθικά με το φορέα, η σύνδεση των στηθαίων αυτών στις διαμορφώσεις κεντρικής νησίδας και στις πλευρικές διαμορφώσεις, θα γίνεται μέσω βλήτρων Φ16 με πλαστικό κάλυμμα προστασίας ανά αποστάσεις ≤ 2,0 m (βλέπε σχήματα 4.3.1.15.(1)β και 4.3.1.16.(5)β).
(9) Σε αποστάσεις ≤ m στα στηθαία από σκυρόδεμα θα κατασκευάζονται ψευδοαρμοί. Η διαμόρφωση των ψευδοαρμών θα γίνεται με κοπή του σκληρυμένου σκυροδέματος σε βάθος περίπου 25 mm και πλάτος 4 mm και πλήρωση με κατάλληλο υλικό αρμών (βλέπε σχήμα 4.3.1.20.(10)).
(10) Στις θέσεις των αρμών συστολής και διαστολής της γέφυρας θα προβλέπεται η κατασκευή του σχήματος 4.3.1.20.(7), δηλαδή το στηθαίο θα περιβάλλεται με έλασμα πάχους t> 6 mm και θα γίνεται η διαμόρφωση του προαναφερθέντος σχήματος.

Σχήμα 4.3.1.20.(7)
3.1.20.2 Επιλογή στηθαίων ασφαλείας
3.1.20.2.1 Γενικά
(1) Η επιλογή στις γέφυρες χαλύβδινων στηθαίων ασφάλειας ή στηθαίων ασφάλειας από σκυρόδεμα τύπου New Jersey, συνδέεται άμεσα αλλά όχι απόλυτα με τη γενικότερη επιλογή που θα ισχύει για την τυπική διατομή του οδικού άξονα στον οποίο αυτές υπάγονται. Πιο συγκεκριμένα:
α) Εφόσον προβλέπεται εφαρμογή τυπικής διατομής αυτοκινητοδρόμου (ή άλλου τύπου οδού με κεντρική νησίδα) με κεντρικά χαλύβδινα στηθαία ασφάλειας, τότε και στις γέφυρες θα προβλέπεται η τοποθέτηση του αντιστοίχου τύπου χαλύβδινου στηθαίου.
β) Εφόσον προβλέπεται εφαρμογή τυπικής διατομής αυτοκινητόδρομου (ή άλλου τύπου οδού με κεντρική νησίδα) με κεντρικό στηθαίο ασφάλειας από σκυρόδεμα τύπου New Jersey, τότε και στις γέφυρες θα προβλέπεται ο αντίστοιχος τύπος στηθαίου από σκυρόδεμα τύπου New Jersey.
(2) Πέραν του γενικού κανόνα του προηγουμένου εδαφίου (1), κατά την επιλογή των στηθαίων στις γέφυρες θα πρέπει να λαμβάνονται υπόψη και οι παρακάτω παράγοντες:
α) Το ίδιον βάρος των στηθαίων ασφαλείας από σκυρόδεμα είναι σημαντικά μεγαλύτερο σε σύγκριση με το βάρος των χαλύβδινων στηθαίων.
β) Σε περίπτωση χρησιμοποίησης άκαμπτης σύνδεσης στηθαίων από σκυρόδεμα με το φορέα του τεχνικού, θα πρέπει να εξετάζεται προσεκτικά, κατά περίπτωση, η επίδραση που έχει στη συνολική ακαμψία του φορέα. Η απάλειψη της επιρροής στηθαίων άκαμπτης σύνδεσης στην ακαμψία του φορέα συνεπάγεται τη διάταξη αρμών σε μικρές σχετικά αποστάσεις της τάξεως των 2,0 - 3,0 m.
γ) Σε περιοχές με δυσμενείς καιρικές συνθήκες κατά τους χειμερινούς μήνες, γενικά, τα στηθαία από σκυρόδεμα ευνοούν, λόγω της συμπαγούς μορφής τους, τη συσσώρευση χιονιού με συνέπεια αυξημένο κίνδυνο σχηματισμού πάγου. Επισημαίνεται ότι τα στηθαία αυτού του τύπου πρόσκεινται, κατά κανόνα, προς την κεντρική νησίδα της οδού, δηλαδή προς τη λωρίδα ταχείας κυκλοφορίας και ότι ο σχηματισμός πάγου πάνω στις γέφυρες είναι ευκολότερος από ότι στην υπόλοιπη οδό.
δ) Η χρησιμοποίηση των στηθαίων από σκυρόδεμα στις πλευρικές διαμορφώσεις (εξωτερικές πλευρές) χαμηλών γεφυρών, π.χ. Άνω Διαβάσεων, λόγω του σημαντικού μεγέθους τους που προστίθεται οπτικά στο ύψος του φορέα, δεν παράγει ικανοποιητικό αποτέλεσμα από αισθητικής πλευράς (βλέπε και εδάφιο (4) της παραγράφου 3.1.18).
3.1.20.2.2 Πλευρικά στηθαία ασφαλείας (χωρίς γειτνίαση με σιδηροδρομική γραμμή)
(1) Προκειμένου περί υπεραστικών και αστικών αυτοκινητοδρόμων, κλάδων κόμβων, αστικών λεωφόρων ταχείας κυκλοφορίας, υπεραστικών και αστικών οδών λειτουργικής κατάταξης αρτηρίας, ανεξάρτητα από την ακτίνα σε οριζοντιογραφία και την ταχύτητα μελέτης, στις πλευρικές διαμορφώσεις γεφυρών στέψης μήκους μεγαλύτερου ή ίσου προς 6,00 m και στα συνεχόμενα πτερύγια ή / και πλάκες τριβής θα τοποθετούνται μεταλλικά στηθαία ασφάλειας τύπου Σ.Τ.Ε-1 ή Σ.Τ.Ε-11, τα οποία θα συνέχονται με τα στηθαία ασφαλείας της οδού.
(2) Προκειμένου περί υπεραστικών οδών κατηγορίας AIV και αστικών οδών λειτουργικής κατάταξης συλλεκτήριας οδού, προσπέλασης παρόδιων / τοπικής οδού καθώς και πεζοδρόμων, ανεξάρτητα από την ακτίνα σε οριζοντιογραφία και την ταχύτητα μελέτης, στις πλευρικές διαμορφώσεις γεφυρών στέψης μήκους μεγαλύτερου ή ίσου προς 6,00 m και στα συνεχόμενα πτερύγια θα τοποθετούνται μεταλλικά στηθαία ασφάλειας τύπου Σ.Τ.Ε- 6.
(3) Τονίζεται ότι στις περιπτώσεις γεφυρών - Άνω Διαβάσεων πάνω από σιδηροδρομικές γραμμές ή πάνω από υπεραστικούς και αστικούς αυτοκινητοδρόμους, κλάδους κόμβων, αστικές λεωφόρους ταχείας κυκλοφορίας, υπεραστικές οδούς κατηγορίας Δ και ανώτερης και αστικές οδούς λειτουργικής κατάταξης αρτηρίας, θα τοποθετούνται στηθαία ασφαλείας όμοια με τα στηθαία ασφαλείας γεφυρών του υποκειμένου έργου, όπως αυτά προσδιορίζονται στο προηγούμενο εδάφιο (1).
(4) Σημειώνεται ότι σε περίπτωση πεζογεφυρών - Άνω Διαβάσεων πάνω από άλλα συγκοινωνιακά έργα, στις οποίες έχει εξασφαλισθεί με κατάλληλα μέτρα (φράγματα, σκαλοπάτια κ.λ.π.) η μη διέλευση οχημάτων, θα τοποθετείται κιγκλίδωμα πεζών εκτός αν προδιαγράφονται, για ειδικούς λόγους, αυστηρότερες απαιτήσεις.
3.1.20.2.3 Κεντρικά στηθαία ασφαλείας (χωρίς γειτνίαση με σιδηροδρομική γραμμή)
(1) Προκειμένου περί υπεραστικών και αστικών αυτοκινητοδρόμων, αστικών λεωφόρων ταχείας κυκλοφορίας, ανεξάρτητα από την ακτίνα σε οριζοντιογραφία και την ταχύτητα μελέτης:
α) Με κεντρική νησίδα 3,00 m ≤ v ≤ 11,50 m:
| • | Σε γέφυρες ή οχετούς στέψης που καλύπτουν όλο το πλάτος της κεντρικής νησίδας (πάντοτε όμως με την ύπαρξη διαμήκους αρμού για το στατικό διαχωρισμό των φορέων), θα προβλέπονται δύο μεταλλικά στηθαία Σ.Τ.Ε.-4 ή Σ.Τ.Ε.-11 ή Σ.Τ.Ε.-1 ή ένα αμφίπλευρο μεταλλικό στηθαίο Σ.Τ.Ε- 12. Εναλλακτικά μπορούν να τοποθετηθούν αντίστοιχα δύο στηθαία Μ.Σ.Ο-8 ή Μ.Σ.Ο.-13 ή ένα αμφίπλευρο στηθαίο Α.Σ.Ο.-6 ή Α.Σ.Ο.-7 αν έχει εκλεγεί αντίστοιχος τύπος κεντρικών στηθαίων ασφαλείας οδού. |
| • | Σε γέφυρες που χωρίζονται με φανό, ανεξάρτητα από την ακτίνα σε οριζοντιογραφία και την ταχύτητα μελέτης, θα τοποθετούνται δύο μεταλλικά στηθαία Σ.Τ.Ε.-1 ή Σ.Τ.Ε.- 11. Στην περίπτωση κατά την οποία το κενό (φανός) που χωρίζει τους δύο κλάδους της γέφυρας έχει πλάτος ≤ 40 cm, μπορούν να χρησιμοποιηθούν τα στηθαία Μ.Σ.Ο.-8 ή Μ.Σ.Ο.-13 αν έχει εκλεγεί αντίστοιχος τύπος κεντρικών στηθαίων ασφαλείας οδού. |
β) Με κεντρική νησίδα 2,00 m ≤ v < 3,00 m:
Στην περίπτωση αυτή, λόγω του μικρού πλάτους της νησίδας, σε γέφυρες ή οχετούς στέψης θα τοποθετείται ένα αμφίπλευρο μεταλλικό στηθαίο Σ.Τ.Ε.-12.
Εναλλακτικά μπορούν να χρησιμοποιηθούν αμφίπλευρα στηθαία Α.Σ.Ο.-6 ή Α.Σ.Ο.-7, αν έχει εκλεγεί αντίστοιχος τύπος κεντρικών στηθαίων ασφαλείας οδού.
γ) Με κεντρική νησίδα v > 11,50 m
Σε γέφυρες ισχύουν τα αναφερόμενα για τα πλευρικά στηθαία στο εδάφιο (1) της παραγράφου 3.1.20.2.1.
(2) Προκειμένου περί αστικών οδών λειτουργικής κατάταξης αρτηρίας ή συλλεκτήριας οδού:
α) Κατ' αρχήν δεν προβλέπεται τοποθέτηση κεντρικών στηθαίων ασφαλείας.
β) Στην περίπτωση που κατά την κρίση του Κυρίου του Έργου χρησιμοποιηθούν κεντρικά στηθαία ασφάλειας σε αστικές αρτηρίες για τον περιορισμό των διασταυρώσεων πεζών ή άλλες ανάλογες αιτίες, θα πρέπει να χρησιμοποιούνται στηθαία με επ' αυτών κιγκλιδώματα που να αποτρέπουν την εγκάρσια διέλευση πεζών. Με τον τρόπο αυτό θα εξασφαλίζεται, παράλληλα με την απαγόρευση εγκάρσιας διέλευσης πεζών, και η προστασία από εκτροπή οχημάτων προς το οδόστρωμα αντίθετης κατεύθυνσης.
Για την περίπτωση επομένως της τοποθέτησης στηθαίων ασφαλείας ισχύουν:
| • | Σε γέφυρες ή οχετούς στέψης που καλύπτουν όλο το πλάτος της κεντρικής νησίδας (πάντοτε όμως με την ύπαρξη διαμήκους αρμού για το στατικό διαχωρισμό των φορέων), θα προβλέπεται ένα αμφίπλευρο μεταλλικό στηθαίο Σ.Τ.Ε.-12 με επ' αυτού κιγκλίδωμα. |
| • | Σε γέφυρες που χωρίζονται με φανό, ανεξάρτητα από την ακτίνα σε οριζοντιογραφία, θα τοποθετούνται δύο μεταλλικά στηθαία Σ.Τ.Ε.-1 ή Σ.Τ.Ε.-11. |
3.1.20.2.4 Πλευρικά ή κεντρικά στηθαία ασφαλείας (περίπτωση γειτνίασης με σιδηροδρομική γραμμή)
(1) Προκειμένου περί υπεραστικών και αστικών αυτοκινητοδρόμων, κλάδων κόμβων, υπεραστικών οδών AIV και αστικών οδών λειτουργικής κατάταξης αρτηρίας και ανώτερης, σε γέφυρες στέψης μήκους μεγαλυτέρου ή ίσου προς 6,00 m, θα τοποθετείται εσωτερικά στηθαίο ασφαλείας Σ.Τ.Ε.-4 και εξωτερικά στηθαίο ασφαλείας Σ.Τ.Ε.-1
Σε περίπτωση διαπλάτυνσης, η τοποθέτηση διπλών στηθαίων σε γέφυρες οφείλεται στις ανάγκες ομοιομορφίας των πλευρικών διαμορφώσεων της τυπικής διατομής.
(2) Προκειμένου περί υπεραστικών οδών AIV και αστικών οδών λειτουργικής κατάταξης συλλεκτήριας οδού και κατώτερης, σε γέφυρες στέψης μήκους μεγαλυτέρου ή ίσου προς 10,0 m, θα τοποθετείται στηθαίο ασφαλείας Σ.Τ.Ε-1.
3.1.21. Κιγκλιδώματα προστασίας πεζών από χάλυβα
(1) Το ύψος των κιγκλιδωμάτων προστασίας πεζών μετρούμενο από τη στάθμη έδρασής τους θα είναι:
α) ≥ 1,00 m για ύψος πτώσεως < 12,0 m
β) ≥ 1,10 m για ύψος πτώσεως ≥ 12,0 m
γ) ≥ 1,20 m παραπλεύρως ποδηλατοδρόμου
(2) Στα παρακάτω σχήματα 4.3.1.21.(2) α, β και γ δίνονται διατάξεις κιγκλιδωμάτων γεφυρών. Συγκεκριμένα στο σχήμα 4.3.1.21.(2)α δίνεται η διάταξη κιγκλιδωμάτων με ράβδους πλήρωσης και κανονικού ύψους ορθοστάτες, στο σχήμα 4.3.1.21.(2)β η διάταξη κιγκλιδωμάτων με ράβδους πλήρωσης και βραχείς ορθοστάτες και στο σχήμα 4.3.1.21.(2)γ η διάταξη κιγκλιδωμάτων με πλέγμα πλήρωσης.
(3) Οι αποστάσεις των ορθοστατών θα είναι:
α) 2,0 m - 2,50 m για την περίπτωση κιγκλιδωμάτων με ράβδους πλήρωσης και κανονικού ύψους ορθοστάτες καθώς και για κιγκλιδώματα με πλέγμα πλήρωσης.
β) ≤ 2,0 m για κιγκλιδώματα με ράβδους πλήρωσης και βραχείς ορθοστάτες.
γ) 1,5 m - 2,0 m για κιγκλιδώματα με σωλήνες.
δ) 2,67 m για κιγκλιδώματα επί στηθαίων (βλέπε σχήμα 4.3.1.21.(4))
(4) Το πλάτος των χειρολισθήρων θα είναι:
α) ≥ 0,12 m στην περίπτωση γεφυρών.
β) ≥ 0,08 m στην περίπτωση πεζογεφυρών.
(5) Η καθαρή απόσταση των ράβδων πλήρωσης σε όσα κιγκλιδώματα χρησιμοποιούνται θα είναι ≤ 0,12 m. Σημειώνεται ότι οι ράβδοι πλήρωσης συγκολλιούνται πάνω και κάτω με ραφή a = 4 mm.
(6) Η καθαρή απόσταση του κάτω πέλματος του κιγκλιδώματος από την επιφάνεια έδρασής του θα είναι:
α) 0,12 m για την περίπτωση κιγκλιδωμάτων με ράβδους πλήρωσης και κανονικού ύψους ορθοστάτες.
β) 0,08 m για την περίπτωση κιγκλιδωμάτων με ράβδους πλήρωσης και βραχείς ορθοστάτες.
γ) 0,05 m για την περίπτωση κιγκλιδωμάτων με πλέγμα πλήρωσης.
(7) Η αξονική απόσταση ορθοστάτη από το τέλος του πτερυγότοιχου του ακροβάθρου της γέφυρας ή από αρμό, θα είναι ≥ 0,25 m. Ο χειρολισθήρας θα εξέχει του τελευταίου ορθοστάτη κατά 0,05 m.
(8) Τα κιγκλιδώματα θα κατασκευάζονται είτε από διατομές ψυχρής εξέλασης ποιότητας χάλυβα S235 JR (St 37-2), σύμφωνα με το DIN EN 10025, είτε από σωλήνες της ίδιας ποιότητας χάλυβα. Πλάκες αγκύρωσης, κοχλίες, περικόχλια αγκύρια κ.λ.π. θα είναι από ανοξείδωτο χάλυβα.
(9) Τα κιγκλιδώματα θα κατασκευάζονται και θα προστατεύονται με Θερμό Βαθύ Γαλβάνισμα.

Σχήμα 4.3.1.21.(2)α


Σχήμα 4.3.1.21.(2)β


Σχήμα 4.3.1.21.(2)γ
(10) Σημειώνεται ότι οι αγκυρώσεις των ορθοστατών θα σχεδιάζονται κατά τρόπο ώστε να επιτρέπουν την εύκολη αντικατάστασή τους σε περίπτωση ζημίας. Στο παρακάτω σχήμα 4.3.1.21.(10)α απεικονίζεται τρόπος στερέωσης του ορθοστάτη για ύψος κιγκλιδώματος ≤ 1,20 m και για αποστάσεις ορθοστατών ≤ 2,30 m.
Η εφαρμογή του τρόπου αυτού συνιστάται σε υφιστάμενες γέφυρες για την αντικατάσταση καταστραφέντος κιγκλιδώματος.
Στο σχήμα 4.3.1.21.(10)β απεικονίζεται τρόπος στερέωσης ορθοστάτη κιγκλιδωμάτων συνιστώμενος σε νέες κατασκευές και ο οποίος περιλαμβάνει διάταξη αποστράγγισης των νερών που διεισδύουν στη φωλεά πάκτωσης του ορθοστάτη.


Σχήμα 4.3.1.21.(10)α

Σχήμα 4.3.1.21.(10)β
(11) Στον πίνακα 4.3.1.21.(11) δίνονται διαστάσεις των διαφόρων τμημάτων του κιγκλιδώματος, τόσο για διατομές ψυχρής εξέλασης όσο και για σωλήνες.
Σημειώνεται ότι ο χειρολισθήρας των κιγκλιδωμάτων μπορεί να προβλέπεται είτε διαιρετός (από δύο τμήματα), είτε ενιαίος. Διαιρετός χειρολισθήρας πρέπει να τοποθετείται όταν προβλέπεται εντός αυτού η τοποθέτηση συρματόσχοινου.
Επισημαίνεται ότι ο εφοδιασμός του κιγκλιδώματος με συρματόσχοινο συνιστάται να γίνεται στις περιπτώσεις γεφυρών εντός κατοικημένων περιοχών ή πάνω από άλλα συγκοινωνιακά έργα (π.χ. Άνω Διαβάσεις). Για τις περιπτώσεις αυτές θα προβλέπεται συρματόσχοινο 20 κατά DIN 3060.
Πίνακας 4.3.1.21.(11)

(12) Το κιγκλίδωμα θα διαμορφώνεται κατά τρόπο που να μπορεί να παραλάβει τις διαφορικές μετακινήσεις - παραμορφώσεις μεταξύ αυτού και του φορέα της γέφυρας με τη διάταξη καταλλήλων αρμών στα άκρα του φορέα, καθώς και στις θέσεις των ενδιαμέσων αρμών του.
(13) Στους πίνακες 4.3.1.21.(13) α, β και γ δίνονται στοιχεία για βάρη και επιφάνειες βαφής ανά τρέχον μέτρο των κιγκλιδωμάτων με ράβδους πλήρωσης και κανονικού ύψους ορθοστάτες σε απόσταση 2,50 m, των κιγκλιδωμάτων με ράβδους πλήρωσης και βραχείς ορθοστάτες σε απόσταση 2,0 m και των κιγκλιδωμάτων με πλέγμα πλήρωσης και ορθοστάτες σε απόσταση 2,5 m.
Τονίζεται ότι στα σημειούμενα βάρη δεν περιλαμβάνονται οι πλάκες έδρασης τα αγκύρια κ.λ.π.
Πίνακας 4.3.1.21.(13)α

Πίνακας 4.3.1.21.(13)β

Πίνακας 4.3.1.21.(13)γ

(14) Για την περίπτωση κιγκλιδωμάτων πάνω σε στηθαία στην περίπτωση ύπαρξης ποδηλατοδρόμου, δίνεται στο σχήμα 4.3.1.21.(14) η κατάλληλη διάταξη σε όψη και τομή. Σημειώνεται ότι η σύνδεση του κιγκλιδώματος με το στηθαίο γίνεται πάντοτε με κοχλίες.


Σχήμα 4.3.1.21.(14)
(15) Σε γέφυρες πάνω από σιδηροδρομικές γραμμές θα πρέπει να κατασκευασθούν προστατευτικά πετάσματα ύψους 1,80 (2,20) m μετρούμενο από την επιφάνεια έδρασής τους. Στο σχήμα 4.3.1.21.(15) δίνεται η διάταξη ενός τέτοιου πετάσματος. Σημειώνεται ότι για την αγκύρωση του ορθοστάτη ισχύει ο πίνακας του σχήματος 4.3.1.21.(8)α.
(16) Οι ορθοστάτες και οι ράβδοι πλήρωσης των κιγκλιδωμάτων, κατά κανόνα, τοποθετούνται κατακόρυφα. Σε περίπτωση κατά μήκος κλίσεως της γέφυρας έως 1%, μπορούν να τοποθετηθούν κάθετα προς την επιφάνεια έδρασής τους.
Για τα φορτία τα οποία λαμβάνονται υπόψη κατά τη διαστασιολόγηση των κιγκλιδωμάτων ισχύει το DIN 1072/85 παράγραφος 4.7.

Σχήμα 4.3.1.21.(15)
3.1.22. Υδατοστεγάνωση γεφυρών
(1) Τα καταστρώματα γεφυρών (στέψεως) θα στεγανοποιούνται και θα προστατεύονται με ένα κατάλληλο, ανθεκτικό, αποτελεσματικό, τυποποιημένο σύστημα μόνωσης σε συμφωνία με τη Τεχνική Συγγραφή Υποχρεώσεων. Επ' αυτού θα τοποθετηθεί μία μεταβατική, προστατευτική επιφανειακή στρώση, η οποία θα επιτρέπει αφαίρεση και αντικατάσταση της στρώσης επιφάνειας κύλισης της γέφυρας χωρίς να βλάπτεται η μεμβράνη υδατοστεγάνωσης.
(2) Για την εκλογή του καταλλήλου συστήματος στεγάνωσης θα πρέπει να λαμβάνονται υπόψη οι κυκλοφοριακοί φόρτοι, οι εγκάρσιες και διαμήκεις κλίσεις της προς στεγάνωση επιφανείας, οι κλιματολογικές συνθήκες και το σύστημα απορροής της γέφυρας.
(3) Δεν θα εκτελούνται εργασίες στεγανοποίησης όταν η θερμοκρασία του περιβάλλοντος είναι χαμηλότερη από 5 °C.
(4) Ειδικά για την εφαρμογή ειδικών στεγανωτικών μεμβρανών ή ασφαλτόπανου, η επιφάνεια του σκυροδέματος θα εξομαλυνθεί με επίχρισμα πατητό πάχους 2,0 cm και αναλογίας 6 kN τσιμέντου ανά m3 κονιάματος ή προτιμότερο, όπου μπορεί να χρησιμοποιηθεί, με ειδικό μηχάνημα (ελικόπτερο) επεξεργασίας της επιφανείας του σκυροδέματος πριν από τη σκλήρυνσή του, όταν η επιφάνεια πάψει να γυαλίζει και μπορεί να πατηθεί, ώστε να αποδοθεί επιφάνεια πυκνή, χωρίς οπές, αποκολλημένα αδρανή και κενά αέρα.
Τονίζεται ότι η επιφάνεια επί της οποίας θα εφαρμοσθεί η μόνωση θα είναι επίπεδη, στεγνή και τελείως καθαρή από λάδια, παραφίνες, σιλικόνες, σκόνη και χαλαρά υλικά.
(5) Οι εργασίες στεγάνωσης θα αρχίζουν μόνο μετά την παραλαβή της επιφανείας από την επίβλεψη.
(6) Η στεγάνωση με ειδικές στεγανωτικές μεμβράνες θα προστατεύεται με στρώση χυτής ασφάλτου ή ασφαλτοσκυροδέματος ή σκυροδέματος Β15 ελαχίστου πάχους 5 cm με γαλβανισμένο πλέγμα ανοίγματος βροχίδας 5,0 x 5,0 cm και διαμέτρου σύρματος Φ3 mm. H τελική επίστρωση των στεγανωτικών μεμβρανών θα πρέπει να έχει κατάλληλη μηχανική αντοχή που να επιτρέπει την απευθείας κίνηση επάνω τους διαστρωτήρων (FINISHER) με ελαστικά επίσωτρα ή ερπύστριες.
(7) Η προστασία στην περίπτωση εφαρμογής ασφαλτόπανων θα προβλέπεται είτε με τσιμεντοκονία είτε με σκυρόδεμα όπως περιγράφεται παραπάνω.
Τονίζεται ότι η μόνωση θα επεκτείνεται τόσο κάτω από τις πλευρικές διαμορφώσεις όσο και στις ανάλογες διαμορφώσεις της κεντρικής νησίδας.
Σημειώνεται επίσης ότι μεταξύ των διαμορφώσεων και του οδοστρώματος, για την εξισορρόπηση διαφορικών παραμορφώσεων, θα διατάσσονται αρμοί πλάτους 2,0 cm οι οποίοι θα πληρούνται με κατάλληλο υλικό (βλέπε και σχήμα 4.3.1.22.(7)).


Σχήμα 4.3.1.22.(7)
3.2. Βασικά στοιχεία επιφανειακών φορέων
3.2.1. Πλακογέφυρες πλήρεις
(1) Με τον όρο αυτό νοούνται γέφυρες, των οποίων ο φορέας είναι πλάκα που εδράζεται στρεπτά επί των ακροβάθρων και μεσόβαθρων. Σημειώνεται ότι, από άποψη στατικής λειτουργίας, οι φορείς αυτοί παρουσιάζουν λειτουργία πλάκας όταν το πλάτος τους είναι μεγαλύτερο από το μισό του ανοίγματος
(2) Είναι κατάλληλες για μικρά ανοίγματα και για περιορισμένα διαθέσιμα ύψη. Από αισθητική άποψη πλεονεκτούν λόγω της επίπεδης κάτω επιφάνειας του φορέα και από το γεγονός της εύκολης σχετικά προσαρμογής σε κάτοψη στις επιταγές της χάραξης της οδοποιίας (περιοχές κόμβων, κατοικημένες περιοχές κ.λ.π.).
(3) Ιδιαίτερα πλεονεκτικές από αισθητική άποψη και γι αυτό κατάλληλες για αστικές περιοχές, είναι οι διατομές περιορισμένου πλάτους με τραπεζοειδή ή παραβολική κάτω επιφάνεια. Συνήθως δεν απαιτείται εγκάρσια προένταση. Κατά τη διαμήκη έννοια, η φέρουσα λειτουργία πραγματοποιείται κυρίως με το μεσαίο τμήμα του φορέα (διπλή διαγράμμιση).
(4) Το ελάχιστο πάχος του φορέα l των γεφυρών αυτών h συνιστάται να πληροί τις παρακάτω αναλογίες σε σχέση με το άνοιγμα:
Προεντεταμένη αμφιέρειστη πλακογέφυρα h= l/22
Προεντεταμένη συνεχής πλακογέφυρα h= l/28
Οπλισμένη αμφιέρειστη πλακογέφυρα h= l/16
Οπλισμένη συνεχής πλακογέφυρα h= l/21
Διευκρινίζεται ότι στην περίπτωση συνεχών φορέων με άνισα ανοίγματα, το ελάχιστο πάχος του φορέα καθορίζεται σε συνάρτηση με το μέγιστο άνοιγμα lmax.
(5) Τονίζεται ότι θα πρέπει να μην παραβλέπεται η από τη θεωρία των πλακών τιθέμενη προϋπόθεση περί μικρού πάχους της πλάκας σε σχέση με τις σε κάτοψη διαστάσεις της.
(6) Με βάση τα παραπάνω, τα πλέον συνήθη μήκη ανοιγμάτων πλακογεφυρών εμφανίζονται όπως παρακάτω:
Προεντεταμένη αμφιέρειστη πλακογέφυρα max = 22 m
Προεντεταμένη συνεχής πλακογέφυρα max = 28 m
Οπλισμένη αμφιέρειστη πλακογέφυρα max = 16 m
Οπλισμένη συνεχής πλακογέφυρα lmax = 21 m
3.2.2. Πλακογέφυρες με κενά
(1) Όταν το απαιτούμενο πάχος του φορέα πλακογέφυρας προκύπτει μεγαλύτερο των 70 cm, τότε για τη μείωση του ιδίου βάρους συνιστάται η τοποθέτηση κυλινδρικών σωμάτων. Το μέγιστο συνιστώμενο ύψος είναι 1,40 m.
(2) Στις περιπτώσεις αυτές εφιστάται όλως ιδιαιτέρως η προσοχή στην καλή αγκύρωση των σωμάτων, διότι ενδεχόμενη ανύψωσή τους κατά τη φάση της σκυροδέτησης του φορέα έχει σαν άμεση συνέπεια τη μείωση του πάχους της θλιβόμενης ζώνης και επομένως τη διακινδύνευση της ασφάλειας της κατασκευής (βλέπε Σχήμα 4.3.2.2.(2)).

Σχήμα 4.3.2.2.(2)
Επίσης θα προβλέπεται απαραιτήτως η δυνατότητα απορροής του νερού το οποίο μπορεί να κατεισδύσει στα σώματα αυτά.
Η χρήση σωμάτων από διογκωμένη πολυστερίνη, λόγω της ευαισθησίας τους και κατά τη διαδικασία συμπύκνωσης του σκυροδέματος θα γίνεται μόνο με την έγκριση του Κυρίου του Έργου.
(3) Το ελάχιστο πάχος της πάνω πλάκας της πλακογέφυρας καθορίζεται σε 20 cm, της κάτω 15 έως 20 cm και το πλάτος των μεταξύ των σωμάτων δοκίδων σε 30 cm.
(4) Για την ενίσχυση της φέρουσας ικανότητας των φορέων γεφυρών αυτού του είδους κατά την εγκάρσια διεύθυνση, καλό είναι να διατάσσονται εγκάρσιες διαδοκίδες στο μέσον του ανοίγματος, καθώς και στις στηρίξεις υπεράνω των ακροβάθρων και μεσόβαθρων.
3.2.3. Λοξές οπλισμένες Πλακογέφυρες
(1) Στις περιπτώσεις των λοξών πλακογεφυρών ιδιαίτερη προσοχή πρέπει να δίνεται στη διάταξη του οπλισμού ώστε να έχουμε τη μικρότερη δυνατή απόκλιση από τις κύριες διευθύνσεις των ροπών, γεγονός το οποίο εξασφαλίζει αφ' ενός μεν περιορισμό του εύρους των ρωγμών και αφ' ετέρου την οικονομικότερη δυνατή λύση, σε συνάρτηση βέβαια πάντοτε με την κατασκευασιμότητα.
(2) Συνιστάται:
α) Σε πλακογέφυρες με λοξότητα > 600 η τοποθέτηση τόσο του διαμήκους όσο και του εγκαρσίου οπλισμού να γίνεται παράλληλα προς τις αντίστοιχες πλευρές της πλάκας. Οι ελεύθερες πλευρές της πλάκας θα διαμορφώνονται υπό τύπον δοκού με την τοποθέτηση συνδετήρων (βλέπε σχήμα 4.3.2.3.(2).α).

Σχήμα 4.3.2.3.(2).α
β) Σε πλακογέφυρες με λοξότητα φ<600 ο μεν διαμήκης οπλισμός τοποθετείται κάθετα προς τον άξονα έδρασης της πλάκας, ο δε εγκάρσιος οπλισμός παράλληλα προς τον άξονα έδρασης της πλάκας. Οι ελεύθερες πλευρές της πλάκας διαμορφώνονται υπό τύπον κρυφοδοκού σε πλάτος br = h, με την τοποθέτηση συνδετήρων οι οποίοι πυκνώνουν στην περιοχή των αμβλειών γωνιών. Ο άνω οπλισμός των με αυτό τον τρόπο διαμορφουμένων δοκών θα κάμπτεται στις περιοχές των αμβλειών γωνιών ώστε να παραλαμβάνει τις ροπές στην περιοχή αυτή της πλάκας (βλέπε σχήμα 4.3.2.3.(2).β).

Σχήμα 4.3.2.3.(2).β
γ) Σε περιπτώσεις στενών πλακογεφυρών b/l <1/2 και για λοξότητα φ< 700, ο διαμήκης οπλισμός τοποθετείται παράλληλα προς τις ελεύθερες πλευρές της πλάκας, ενώ ο εγκάρσιος στο μεν μέσον του ανοίγματος τοποθετείται κάθετα προς της ελεύθερες πλευρές, στις δε περιοχές έδρασης του φορέα τοποθετείται ριπιδοειδώς (βλέπε σχήμα 4.3.2.3.(2).γ).

Σχήμα 4.3.2.3.(2).γ
3.2.4. Λοξές προεντεταμένες Πλακογέφυρες
(1) Συνιστάται:
α) Σε προεντεταμένες πλακογέφυρες με γωνία λοξότητας φ > 600 τόσο οι διαμήκεις όσο και οι εγκάρσιοι τένοντες να διατάσσονται παράλληλα προς τις αντίστοιχες πλευρές της πλάκας. Σημειώνεται ότι οι δεύτεροι (εγκάρσιοι), οι οποίοι είναι ευθύγραμμοι, θα διατάσσονται σε δύο επίπεδα, δηλαδή στο πάνω και κάτω μέρος του φορέα.
β) Σε προεντεταμένες πλακογέφυρες με γωνία λοξότητας φ < 600 η διάταξη των τενόντων γίνεται όπως φαίνεται στο παρακάτω σχήμα 4.3.2.4.(1).β

Σχήμα 4.3.2.4.(1).β
Οι υπ' αριθμό 1 τένοντες προέντασης στη μέση περιοχή της πλάκας διαμορφώνονται παραβολοειδώς, ενώ οι υπ' αριθμό 2 τένοντες προέντασης πλησίον των ελευθέρων πλευρών της πλάκας με μεταβλητή καμπυλότητα ώστε να καλύπτονται οι ροπές στην περιοχή της αμβλείας γωνίας. Όλοι οι διαμήκεις τένοντες, αρχής γενομένης από την περιοχή της αμβλείας γωνίας, τοποθετούνται ριπιδοειδώς έτσι ώστε να σχηματίζουν στη μέση περιοχή της πλάκας γωνία 700 - 800 (βλέπε κάτοψη πλάκας στο σχήμα 4.3.2.4.(1).β).
Για την παραλαβή ροπών στην περιοχή των αμβλειών γωνιών απαιτείται η τοποθέτηση μικρού μήκους ισχυρών τενόντων παράλληλα προς τον άξονα έδρασης, όπως οι υπ' αριθμ. 3 τένοντες που εμφανίζονται στο σχήμα 4.3.2.4.(1).β
Οι εγκάρσιοι τένοντες είναι ευθύγραμμοι, παράλληλοι προς τους άξονες έδρασης και τοποθετούνται στο πάνω και κάτω μέρος της πλάκας, όπως οι υπ' αριθμό 4 που εμφανίζονται στο σχήμα 4.3.2.4.(1).β.
γ) Σε περιπτώσεις στενών πλακογεφυρών, οι διαμήκεις τένοντες τοποθετούνται παράλληλα προς τις ελεύθερες πλευρές της πλάκας. Για λόγους ευκολίας της κατασκευής οι εγκάρσιοι τένοντες τοποθετούνται κάθετα προς τις ελεύθερες πλευρές, ενώ στην περιοχή των αμβλειών γωνιών τοποθετούνται ριπιδοειδώς (βλέπε σχήμα 4.3.2.4.(1).γ).

Σχήμα 4.3.2.4.(1).γ
(2) Η μόρφωση των αγκυρώσεων των τενόντων προέντασης σε λοξές γέφυρες θα γίνεται κλιμακωτά, όπως φαίνεται στο σχήμα 4.3.2.4.(2) (Κάτοψη)
Προσοχή θα δίνεται στον καθορισμό της διάστασης bp ώστε να καθίσταται δυνατή η τοποθέτηση της πρέσας τάνυσης.
Τονίζεται ότι η απόσταση του άξονα έδρασης της πλάκας από τις αντίστοιχες αγκυρώσεις θα ανέρχεται τουλάχιστον στα 2/3 του πάχους της πλάκας (βλέπε σχήμα 4.3.2.4.(2) (τομή)).

Σχήμα 4.3.2.4.(2)
3.2.5. Κυψελωτοί φορείς
(1) Πρόκειται επίσης κυρίως για φορείς με αναλογία ανοίγματος προς πλάτος l/b<2. (βλέπε σχήμα 4.3.1.(1)c). Λόγω της μεγάλης εγκάρσιας ακαμψίας, η στατική λειτουργία τους παρουσιάζει ομοιότητες με τις πλακογέφυρες με κενά.
(2) Το σύνηθες ελεύθερο πλάτος των κυψελών κυμαίνεται από 2,0 m έως 3,0 m, έτσι ώστε να μην απαιτείται εγκάρσια προένταση. Το ελάχιστο ελεύθερο ύψος των κυψελών ανέρχεται σε 1,50 m, ώστε το κόστος κατασκευής του ξυλότυπου να διατηρείται σε λογικά πλαίσια.
Η αναλογία ξυλότυπου ανά τετραγωνικό μέτρο επιφανείας του φορέως ανέρχεται κατ' ανώτατο όριο σε 2,75 m2 /m2 επιφανείας φορέως.
(3) Τα πλέον συνήθη μήκη ανοιγμάτων εμφανίζονται όπως παρακάτω:
Προεντεταμένη αμφιέρειστη γέφυρα lmax = 45 m
Προεντεταμένη συνεχής γέφυρα lmax = 60 m
Οπλισμένη αμφιέρειστη γέφυρα lmax = 20 m
Οπλισμένη συνεχής γέφυρα lmax = 20 m
3.2.6. Φορείς μορφής εσχάρας
(1) Πρόκειται επίσης για φορείς με αναλογία ανοίγματος προς πλάτος l/b <2. Για συνήθεις αποστάσεις κυρίων δοκών, κυμαινόμενες από 2,0 m έως 3,0 m, δεν απαιτείται εγκάρσια προένταση της πλάκας. Για μεγαλύτερες αποστάσεις η εγκάρσια προένταση κρίνεται σκόπιμη.
(2) Η αναλογία ξυλότυπου ανά τετραγωνικό μέτρο επιφανείας του φορέως ανέρχεται μέχρι 2,0 m2 / m2 επιφανείας φορέως.
3.3. Βασικά στοιχεία φορέων μορφής δοκού
3.3.1. Πλακοδοκοί
(1) Φορείς από πλακοδοκούς (βλέπε σχήματα 4.3.1.(1)e και 4.3.1.(1)h) αποτελούνται από την πλάκα καταστρώματος και συνήθως από δύο κύριες δοκούς και από εγκάρσιες διαδοκίδες στις θέσεις έδρασης στα ακρόβαθρα και μεσόβαθρα. Τέτοια συστήματα θεωρούνται από στατική άποψη ως ραβδόμορφοι φορείς. Σημειώνεται ότι η εγκάρσια διανομή των φορτίων γίνεται μέσω των διαδοκίδων και της πλάκας καταστρώματος.
(2) Σε περίπτωση περισσοτέρων κυρίων δοκών και διαδοκίδων (στο μέσον του ανοίγματος ή στα 1/3), το σύστημα από στατική άποψη συμπεριφέρεται ως εσχάρα δοκών.
(3) Η αναλογία ξυλότυπου ανά τετραγωνικό μέτρο επιφανείας του φορέα ανέρχεται περίπου 1,70 m2 / m2 επιφανείας φορέως και είναι μικρότερη από την αντίστοιχη αναλογία της εσχάρας δοκών.
(4) Παρακάτω σημειώνονται τα πλέον συνήθη μήκη ανοιγμάτων:
Προεντεταμένη αμφιέρειστη γέφυρα lmax = 45 m
Προεντεταμένη συνεχής γέφυρα lmax = 45 m
Οπλισμένη αμφιέρειστη γέφυρα lmax = 20 m
Οπλισμένη συνεχής γέφυρα lmax = 20 m
(5) Η εγκάρσια προένταση επιτρέπει απόσταση κυρίων δοκών της τάξεως των 8,0 m και σε εξαιρετικές περιπτώσεις μέχρι 16,0 m.
(6) Στις εσωτερικές στηρίξεις συνεχών φορέων απαιτείται πλάτος δοκού μεγαλύτερο από το απαιτούμενο στα ανοίγματα. Έτσι, το πλάτος της δοκού εκλέγεται σταθερό καθ' όλο το μήκος του ανοίγματος, κατά τρόπο ώστε να είναι επαρκές και στις θέσεις των ενδιαμέσων στηρίξεων.
(7) Σε μεγάλου μήκους γέφυρες, των οποίων οι φορείς αυτής της μορφής κατασκευάζονται τμηματικά με μηχανοποιημένες μεθόδους, καταργούνται οι εγκάρσιες διαδοκίδες υπεράνω των εσωτερικών στηρίξεων ώστε να είναι δυνατή η μετακίνηση του ξυλότυπου κατά το διαμήκη άξονα της γέφυρας χωρίς μεγάλο καταβιβασμό από τη θέση σκυροδέτησης.
(8) Τονίζεται ότι στις περιπτώσεις αυτές της απουσίας εγκαρσίων διαδοκίδων στις εσωτερικές στηρίξεις, η διατομή του φορέα θα διαμορφώνεται κατά τέτοιο τρόπο ώστε υπό τα μόνιμα φορτία να μην δημιουργούνται ροπές στρέψεως στις κύριες δοκούς. Η στροφή των κυρίων δοκών υπό την επήρεια των φορτίων κυκλοφορίας, παρεμποδίζεται μέσω ειδικών εφεδράνων τα οποία επιτρέπουν την κίνηση του φορέα μόνο κατά το διαμήκη άξονα της γέφυρας, ενώ κατά την εγκάρσια διεύθυνση είναι σε θέση να αναλαμβάνουν μεγάλες οριζόντιες δυνάμεις.
(9) Ο πίνακας 4.3.3.1.(9) δίνει μία σύνοψη των βέλτιστων διαστάσεων της πλάκας καταστρώματος φορέων μορφής πλακοδοκού με δύο κύριες δοκούς, σε σχέση με την απόσταση των κυρίων δοκών l2 και το μήκος των προβόλων l1. H τελευταία στήλη του πίνακα περιλαμβάνει την απαιτούμενη εγκάρσια προένταση (περιορισμένη) ανά m μήκους του φορέα.
Κατά τη βιβλιογραφία προκύπτει ότι η βέλτιστη αναλογία των διαστάσεων l1 και l2 αντιστοιχεί στη σχέση l1 : l2 : l1 = 0,45 : 1,00 : 0,45. Σημειώνεται πάντως ότι σε κατασκευασθείσες γέφυρες η αναλογία είναι: l1 : l2 ~ 0,40 : 0,45.
Πίνακας 4.3.3.1.(9)
3.3.2. Φορείς μορφής κιβωτίου
(1) Είναι φορείς με τους οποίους μπορεί να αντιμετωπισθεί πλήθος προβλημάτων.
(2) Η ευρύτητα των προβλημάτων που μπορούν να αντιμετωπισθούν με τους φορείς αυτούς οφείλεται:
α) Στη μεγάλη απόσταση των πυρηνικών σημείων της διατομής, με αποτέλεσμα την πολύ μικρή διακύμανση των ακραίων τάσεων και συνεπώς την απόλυτη καταλληλότητα για προεντεταμένες γέφυρες με μεγάλο ωφέλιμο φορτίο.
β) Στην ύπαρξη πλάκας στο κάτω πέλμα, γεγονός το οποίο παρέχει την καλύτερη αντιμετώπιση των αρνητικών ροπών στις στηρίξεις των συνεχών δοκών.
γ) Στη μεγάλη αστρεψία με την οποία γίνεται δυνατή η άνετη παραλαβή των ροπών στρέψεως οι οποίες δημιουργούνται είτε λόγω έκκεντρης φορτίσεως είτε λόγω καμπύλου άξονα.
δ) Στις απέριττες γραμμές της διατομής που ταιριάζουν σε κάθε περιβάλλον και σε κάθε τοπίο.
ε) Στη δυνατότητα αξιοποίησης του εσωτερικού χώρου.
στ) Στο γεγονός ότι είναι κατάλληλες για μηχανοποιημένες μεθόδους κατασκευής, όπως δόμησης σε πρόβολο, προώθησης, μεθόδου προωθούμενων αυτοφερόμενων φορείων.
(3) Φορείς μορφής κιβωτίου βρίσκουν εφαρμογή σε όλα τα είδη γεφυρών πέραν του είδους στο οποίο τυπικά εντάσσονται, ήτοι σε πλαισιωτές, τοξωτές, κρεμαστές, καλωδιωτές (βλέπε παρακάτω σχήμα 4.3.3.2.(3)).

Σχήμα 4.3.3.2.(3)
(4) Για μεσαίου μεγέθους ανοίγματα l και σταθερό πάχος του φορέα των γεφυρών αυτών h, συνιστάται να πληρούνται οι παρακάτω αναλογίες:
Προεντεταμένη αμφιέρειστη γέφυρα h= l/21
Προεντεταμένη συνεχής γέφυρα h= l/25
Οπλισμένη αμφιέρειστη γέφυρα h= l/17
Οπλισμένη συνεχής γέφυρα h= l/18
(5) Το ελάχιστο αντιπροσωπευτικό όριο ανοίγματος για την εφαρμογή φορέων αυτής της μορφής κυμαίνεται περί τα 20,0 m. Το μέγιστο αντιπροσωπευτικό όριο ανοίγματος για την εφαρμογή οπλισμένης αμφιέρειστης γέφυρας κυμαίνεται περί τα 35,0 m, ενώ για συνεχείς οπλισμένους φορείς περί τα 60,0 m.
Το μέγιστο αντιπροσωπευτικό όριο ανοίγματος για την εφαρμογή προεντεταμένης αμφιέρειστης γέφυρας κυμαίνεται περί τα 50,0 m. Το μέγιστο συνηθέστερο όριο ανοίγματος για την εφαρμογή προεντεταμένης συνεχούς γέφυρας κυμαίνεται περί τα 110,0 m για σταθερό ύψος φορέα και 240,0 m για μεταβλητό.
Σημειώνεται ότι σε ανοίγματα >50 m είναι σκόπιμο το πάχος της κάτω πλάκας να αυξάνεται στο εσωτερικό του κιβωτίου στις περιοχές των στηρίξεων (βλέπε παρακάτω σχήμα 4.3.3.2.(5)).

Σχήμα 4.3.3.2.(5)
Σε ανοίγματα > 60,0 m, εκτός αν για αρχιτεκτονικούς λόγους επιβάλλεται και για μικρότερα ανοίγματα, είναι σκόπιμο τόσο από στατική όσο και από οικονομική άποψη να προβλέπονται φορείς μεταβλητού ύψους.
Κατά τη βιβλιογραφία προτείνεται όπως το ύψος του φορέα παρά τις στηρίξεις hS είναι περίπου τριπλάσιο του ύψους του φορέα στο μέσον του ανοίγματος hF.
Γενικά είναι σκόπιμο να πληρούνται οι αναλογίες:
hS = l/12 ~ l/20
hF = l/33 ~ l/50
(6) Ο πίνακας 4.3.3.2.(6) δίνει μία σύνοψη των βέλτιστων διαστάσεων της πλάκας καταστρώματος φορέων μορφής κιβωτίου σε σχέση με την απόσταση των κορμών του κιβωτίου l2 και το μήκος των προβόλων l1. H τελευταία στήλη του πίνακα περιλαμβάνει την απαιτούμενη εγκάρσια προένταση (περιορισμένη) ανά m μήκους του φορέα.
Πίνακας 4.3.3.2.(6)

(7) Ιδιαίτερη προσοχή και φροντίδα πρέπει να αφιερώνεται στη διαμόρφωση του ξυλότυπου της διατομής, η κατασκευή του οποίου παρουσιάζει κάποιες δυσκολίες όταν το καθαρό ύψος του κιβωτίου είναι μικρό.
Η σκυροδέτηση του κιβωτίου γίνεται κατά κανόνα σε δύο φάσεις. Χρησιμοποιούνται δύο μέθοδοι που περιγράφονται παρακάτω.
(α) Μέθοδος Α
1η Φάση
| • | Κατασκευή εξωτερικού ξυλότυπου πλάκας πυθμένα |
| • | Κατασκευή εξωτερικού ξυλότυπου δοκών και προβόλων |
| • | Τοποθέτηση χαλαρού οπλισμού της πλάκας πυθμένα και των δοκών |
| • | Τοποθέτηση των διαμήκων καλωδίων προέντασης των δοκών |
| • | Σκυροδέτηση της πλάκας πυθμένα |
2η Φάση
| • | Κατασκευή εσωτερικού ξυλότυπου δοκών και πάνω πλάκας |
| • | Τοποθέτηση κάτω οπλισμού της πάνω πλάκας |
| • | Τοποθέτηση των καλωδίων της εγκάρσιας προέντασης της πάνω πλάκας |
| • | Τοποθέτηση του πάνω οπλισμού της πάνω πλάκας |
| • | Σκυροδέτηση δοκών και πάνω πλάκας |
(β) Μέθοδος Β
1η Φάση
| • | Κατασκευή ξυλότυπου πλάκας πυθμένα |
| • | Κατασκευή εξωτερικού ξυλότυπου δοκών και προβόλων. |
| • | Τοποθέτηση χαλαρού οπλισμού της πλάκας πυθμένα και των δοκών. |
| • | Τοποθέτηση των διαμήκων καλωδίων προέντασης των δοκών. |
| • | Κατασκευή εσωτερικού ξυλότυπου δοκών. |
| • | Σκυροδέτηση κάτω πλάκας και δοκών. |
2η Φάση
| • | Κατασκευή ξυλότυπου άνω πλάκας. |
| • | Τοποθέτηση κάτω χαλαρού οπλισμού της πάνω πλάκας. |
| • | Τοποθέτηση των καλωδίων της εγκάρσιας προέντασης της πάνω πλάκας. |
| • | Τοποθέτηση του πάνω οπλισμού της πάνω πλάκας. |
| • | Σκυροδέτηση της πάνω πλάκας. |
(8) Η μέθοδος Α παρουσιάζεται ευκολότερη όσον αφορά την κατασκευή του ξυλότυπου, παρουσιάζει όμως το μειονέκτημα ότι ο αρμός διακοπής εργασίας μεταξύ της κάτω πλάκας του κιβωτίου και των δοκών είναι ορατός. Επιπλέον, ο αρμός αυτός διακοπής ευρίσκεται σε ευαίσθητο σημείο της διατομής.
Κατά τη μέθοδο Β γίνεται δυσκολότερη η κατασκευή του εσωτερικού ξυλότυπου, ο αρμός όμως διακοπής, ο οποίος στην περίπτωση αυτή δημιουργείται μεταξύ των δοκών και της πάνω πλάκας, δεν είναι ορατός.
Και από καθαρά στατική άποψη όμως πλεονεκτεί η μέθοδος αυτή, διότι το μεγαλύτερο τμήμα της διατομής είναι σκυροδετημένο ήδη σε προγενέστερο χρόνο από ότι με τη μέθοδο Α και συνεπώς η ηλικία του σκυροδέματος είναι μεγαλύτερη τη χρονική στιγμή της επιβολής της προέντασης από ότι στη μέθοδο Α. Για τους προαναφερθέντες λόγους, η μέθοδος Β εφαρμόζεται σχεδόν αποκλειστικά στο εξωτερικό. Στο παρακάτω σχήμα 4.3.3.2.(8) δίνεται παραστατική εικόνα της μεθόδου Β.

Σχήμα 4.3.3.2.(8)
(9) Θα πρέπει να αναφερθεί ότι η σημερινή τάση για ορθολογικότερη κατασκευή, τόσο από στατική άποψη όσο και από άποψη χρόνου τείνει στην καθιέρωση της σκυροδέτησης των διατομών αυτών σε μία φάση. Οι κατασκευαστικές εταιρίες έχουν αναπτύξει διάφορα συστήματα τα οποία επιτρέπουν τη σκυροδέτηση σε μία φάση. Στο παρακάτω σχήμα 4.3.3.2.(9) εικονίζεται μία τέτοια μέθοδος η οποία εφαρμόστηκε κατά την κατασκευή της γέφυρας στον ποταμό Έλβα.
Η στήριξη του ξυλότυπου γίνεται μέσω κώνων σκληρυμένου σκυροδέματος οι οποίοι επιτρέπουν την απρόσκοπτη διέλευση των οπλισμών και οι οποίοι ενσωματώνονται στην κάτω πλάκα. Στο αριστερό τμήμα του σχήματος διακρίνεται η πορεία αφαίρεσης του ξυλότυπου.

Σχήμα 4.3.3.2.(9)
(10) Σε Τεχνική Έκθεση συνιστάται να περιγράφεται ο τρόπος κατασκευής τόσο στη μελέτη όσο και στα τεύχη δημοπράτησης (Τεχνική Περιγραφή, Ειδική Συγγραφή Υποχρεώσεων) και μάλιστα όταν πρόκειται για πολύπλοκες μεθόδους κατασκευής.
(11) Για τον εξαερισμό του κιβωτίου θα προβλέπονται ανά αποστάσεις οπές, όπως φαίνεται στα παρακάτω σχήματα 4.3.3.2.(11) α, β και γ. Στο χαμηλότερο σημείο της διατομής θα προβλέπονται επίσης ανά οριζόντιες αποστάσεις οπές για την απορροή νερών τα οποία τυχόν εισήλθαν στο εσωτερικό του κιβωτίου.
Διευκρινίζεται ότι όπως φαίνεται στις λεπτομέρειες Χ και Υ, οι σωλήνες εξαερισμού και απορροής των νερών θα είναι εφοδιασμένοι με διατάξεις παρεμπόδισης εισόδου πουλιών στο εσωτερικό του φορέα.

Σχήμα 4.3.3.2.(11)α
Σχήμα 4.3.3.2.(11)β

Σχήμα 4.3.3.2.(11)γ
3.4. Βασικά στοιχεία τοξωτών γεφυρών
(1) Τοξωτές γέφυρες σχεδιάζονται πλέον κάτω από ειδικές τοπογραφικές και γεωλογικές συνθήκες, σε περιπτώσεις γεφυρώσεων κάποιων χαρακτηριστικών σημείων στα οποία, είτε από εδαφοτεχνικούς λόγους είτε από λόγους αισθητικής, δεν πρέπει να τοποθετηθούν βάθρα.
Στις τοξωτές γέφυρες το κόστος των ικριωμάτων και ξυλότυπων είναι σημαντικά μεγαλύτερο από ότι στις γέφυρες φορέων μορφής δοκού.
(2) Από οικονομική άποψη, παρουσιάζουν ενδιαφέρον ανοίγματα από 50 m ~ 200 m. Σημασία για το σχεδιασμό του στατικού συστήματος έχει ο λόγος βέλους προς άνοιγμα f/l ο οποίος καθορίζει το μέγεθος και την κλίση των αντιδράσεων στις γενέσεις του τόξου.
Τονίζεται ότι θα πρέπει να εξασφαλίζεται η μεταφορά στο έδαφος των αναπτυσσομένων ισχυρών οριζοντίων συνιστωσών των αντιδράσεων.
Σημειώνεται ότι οριζόντιες μετακινήσεις προκαλούν πρόσθετες καταπονήσεις στο τόξο. Θα πρέπει επίσης να λαμβάνεται υπόψη η επίδραση της συστολής λόγω πήξεως και του ερπυσμού. Συνιστάται για:
α) f/l < 1/10 η δημιουργία τριαρθρωτού τόξου (βλέπε σχήμα 4.3.4.(2).α).

Σχήμα 4.3.4.(2).α
β) f/l ≥ 1/10 η δημιουργία διαρθρωτού τόξου (βλέπε σχήμα 4.3.4.(2).β).

Σχήμα 4.3.4.(2).β
γ) f/l ≥ 1/6 η δημιουργία αμφίπακτου τόξου (βλέπε σχήμα 4.3.4.(2).γ).

Σχήμα 4.3.4.(2).γ
(3) Ο φορέας επί του οποίου γίνεται η κυκλοφορία μπορεί είτε να επικάθεται του τόξου (βλέπε σχήμα 4.3.4.(3)α), είτε να αναρτάται από αυτό (βλέπε σχήμα 4.3.4.(3)β).

Σχήμα 4.3.4.(3)α
Σχήμα 4.3.4.(3)β
(4) Στην περίπτωση του επικαθήμενου φορέα κυκλοφορίας, ο φορέας αυτός μπορεί στην περιοχή της κλείδας είτε να συνδέεται με το τόξο (βλέπε σχήμα 4.3.4.(4)α), είτε να υπέρκειται του τόξου (βλέπε σχήμα 4.3.4.(4)β).

Σχήμα 4.3.4.(4)α

Σχήμα 4.3.4.(4)β
(5) Η περίπτωση του επικαθήμενου φορέα κυκλοφορίας ο οποίος συνδέεται με το τόξο, επιτρέπει την παραλαβή των οριζοντίων δυνάμεων από το τόξο και τη μεταβίβασή τους μέσω αυτού στο έδαφος (βλέπε σχήμα 4.3.4.(4)α).
Στην περίπτωση που ο φορέας κυκλοφορίας υπέρκειται του τόξου, τότε στην περιοχή της κλείδας θα προβλέπεται από λόγους αισθητικής η τοποθέτηση ανοίγματος και όχι υποστυλώματος (βλέπε σχήμα 4.3.4.(4)β).
(6) Για την οριοθέτηση των γενέσεων του τόξου θα λαμβάνονται υπόψη η τοπογραφία και η γεωλογία της περιοχής, καθώς και οι κατασκευαστικές δυνατότητες. Για λόγους αισθητικής, η γραμμή η οποία συνδέει τις γενέσεις του τόξου πρέπει να είναι παράλληλη προς τον φορέα κυκλοφορίας.
Τόσο για λόγους οικονομίας, όσο και για στατικούς λόγους, στις θέσεις των γενέσεων θα προβλέπονται υποστυλώματα (βλέπε σχήμα 4.3.4.(6)).

Σχήμα 4.3.4.(6)
(7) Η διατομή του τόξου, εξαρτώμενη από το άνοιγμά του, το πλάτος και τη θέση του φορέα κυκλοφορίας, διαμορφώνεται όπως παρακάτω:
α) Πλήρης διατομή (βλέπε σχήμα 4.3.4.(7).α)
β) Πολυκυψελωτή διατομή (βλέπε σχήμα 4.3.4.(7).β)
γ) Στην περίπτωση επικαθήμενου φορέα κυκλοφορίας είναι δυνατή η διαμόρφωση ενός τόξου ικανού πλάτους (βλέπε σχήμα 4.3.4.(7).α) ή δύο τόξων (βλέπε σχήμα 4.3.4.(7).γ).
δ) Στην περίπτωση αναρτημένου φορέα είναι απαραίτητη προφανώς η κατασκευή δύο τόξων (βλέπε σχήμα 4.3.4.(7).δ)
Μεταξύ των δύο τόξων είναι απαραίτητη η πρόβλεψη οριζοντίου συνδέσμου, αφ' ενός για την αντιμετώπιση του λυγισμού και αφ' ετέρου για την παραλαβή δυνάμεων από σεισμό ή άνεμο.

Σχήμα 4.3.4.(7).α

Σχήμα 4.3.4.(7).β

Σχήμα 4.3.4.(7).γ

Σχήμα 4.3.4.(7).δ
(8) Στη σημερινή πρακτική η κατασκευή μεγάλων τοξοτών γεφυρών είναι συνυφασμένη, όπως αναφέρεται και στο εδάφιο (1), με χαρακτηριστικά σημεία στα οποία, είτε από εδαφοτεχνικούς λόγους είτε από λόγους αισθητικής, δεν πρέπει να τοποθετηθούν βάθρα. Αυτό σε συνδυασμό με τα μεγάλα ανοίγματα και ύψη, καθώς και η ανάγκη της συντόμευσης του χρόνου κατασκευής, διαφοροποιούν τον τρόπο κατασκευής των γεφυρών αυτών.
Στο σχήμα 4.3.4.(8)α απεικονίζεται η μέθοδος κατασκευής ικριωμάτων με ένα είδος γερανογέφυρας αναρτημένης από συρματόσχοινο.
Στο σχήμα 4.3.4.(8)β το ικρίωμα του μισού τόξου συναρμολογείται σε κατακόρυφη θέση στην αντίστοιχη πλαγιά της προς γεφύρωση χαράδρας και στη συνέχεια, με τη βοήθεια συρματόσχοινων, περιστρέφεται με κέντρο τις γενέσεις του τόξου μέχρι την προβλεπόμενη θέση για τη σκυροδέτηση του φορέα.
Στο σχήμα 4.3.4.(8)γ απεικονίζεται η πιο σύγχρονη μέθοδος κατασκευής μεγάλων τοξοτών γεφυρών χωρίς να απαιτείται προηγούμενη κατασκευή ικριώματος για τη σκυροδέτηση του τόξου. Το μισό τόξο σκυροδετείται με τη βοήθεια φορείου σε κατακόρυφη θέση στην αντίστοιχη πλαγιά της προς γεφύρωση χαράδρας και στη συνέχεια, με τη βοήθεια συρματόσχοινων, περιστρέφεται με κέντρο τις γενέσεις του τόξου μέχρι την τελική θέση.
Σχήμα 4.3.4.(8)α

Σχήμα 4.3.4.(8)β

Σχήμα 4.3.4.(8)γ

3.5. Βασικά στοιχεία πλαισιωτών γεφυρών
(1) Χαρακτηριστικό των πλαισιωτών κατασκευών είναι, ως γνωστόν, ότι για κατακόρυφα φορτία δημιουργούνται οριζόντιες δυνάμεις οι οποίες έχουν σαν αποτέλεσμα τη μείωση των ροπών στο άνοιγμα.
(2) Ανάλογα με το στατικό σύστημα οι πλαισιωτές γέφυρες διακρίνονται:
α) Πλαίσια ανοικτά με αρθρώσεις (ενός ή περισσοτέρων ανοιγμάτων)
β) Πλαίσια ανοικτά με πακτώσεις (ενός ή περισσοτέρων ανοιγμάτων)
γ) Πλαίσια κλειστά (ενός ή περισσοτέρων ανοιγμάτων) (βλέπε σχήματα 4.3.5.(2).α, β, γ αντίστοιχα).
Σε πλαίσια ενός ανοίγματος είναι δυνατή η πρόβλεψη ελκυστήρα, ο οποίος παραλαμβάνει τις οριζόντιες συνιστώσες των αντιδράσεων. Η διάταξη αυτή είναι ιδιαίτερα εξυπηρετική στις περιπτώσεις στις οποίες η παραλαβή των δυνάμεων αυτών από το έδαφος είναι προβληματική (βλέπε σχήμα 4.3.5.(2).γ).
Οι μικρές κάτω διαβάσεις, ανοίγματος μέχρι 12,0 m, είναι σύνηθες να διαμορφώνονται σαν κλειστά πλαίσια (βλέπε σχήμα 4.3.5.(2).γ).
Συνιστάται, τόσο για την ομοιομορφία των διατομών της υπερκείμενης οδού (αποφυγή πλευρικής διαμόρφωσης κ.λ.π.), όσο και για την ανετότερη κυκλοφορία των οχημάτων, αυτές οι κάτω διαβάσεις να κατασκευάζονται υπό επίχωση ύψους 0,80 m περίπου.
Σχήμα 4.3.5.(2).α: Ανοικτά πλαίσια με αρθρώσεις

Σχήμα 4.3.5.(2).β: Ανοικτά πλαίσια με πακτώσεις

Σχήμα 4.3.5.(2).γ

(3) Η μονολιθική σύνδεση φορέα και ακροβάθρων για ανοίγματα μέχρι 50 m με την επακόλουθη αποφυγή αρμών και εφεδράνων καθιστά τα πλαίσια ενός ανοίγματος οικονομικότερα από άποψη ποσοτήτων και ευνοϊκότερα από άποψη συντήρησης των αμφιέρειστων γεφυρών με φορείς μορφής δοκού.
Τα όρια της πλαισιωτής γέφυρας ενός ανοίγματος εξαντλούνται σε ανοίγματα της τάξεως των 70,0 m. Πέραν του σημείου αυτού η ανάληψη της οριζοντίου συνιστώσας των αντιδράσεων παρουσιάζει δυσκολίες, ανάλογα βέβαια και με την αντοχή του εδάφους θεμελίωσης.
Οι πλαισιωτές γέφυρες ενός ανοίγματος συνήθως κατασκευάζονται αμφιαρθρωτές με κατάλληλη διαμόρφωση των ακροβάθρων (βλέπε σχήματα 4.3.5.(3)α και β).
Σχήμα 4.3.5.(3)α

Σχήμα 4.3.5.(3)β

(4) Τα σημαντικά προαναφερθέντα μήκη για πλαίσια ενός ανοίγματος με παράλληλη επίτευξη μικρού πάχους στο μέσον του ανοίγματος, πράγμα επιθυμητό και από αισθητική άποψη ιδίως στις περιπτώσεις χαμηλών γεφυρών, επιτυγχάνεται με την κατάλληλη διάταξη αντίβαρων ή συστήματος άντωσης (βλέπε σχήματα 4.3.5.(4)α και β).
Το ύψος του φορέα παρά το ακρόβαθρο διαμορφώνεται συνήθως σε hS = l/17, ενώ στο μέσον του ανοίγματος σε hF = l / 50.
Για ανοίγματα > 50,0 m ο φορέας διαμορφώνεται καθ' όλο το μήκος του με κυψελωτή διατομή.
Για ανοίγματα κυμαινόμενα από 25,0 m ~ 50,0 m, για κατασκευαστικούς λόγους λόγω του μικρού ύψους του φορέα περί το μέσον του ανοίγματος, ο φορέας κατά τα περίπου διαμορφώνεται ως πλακοδοκός.
Στο σχήμα 4.3.5.(4)α απεικονίζεται η περίπτωση πλαισιωτής γέφυρας με διαφορετική διατομή κατά μήκος του φορέα. Για ανοίγματα της τάξεως των 25,0 m ο φορέας διαμορφώνεται ως πλήρης πλάκα.
Σχήμα 4.3.5.(4)α

Σχήμα 4.3.5.(4)β

(5) Τα υποστυλώματα των πλαισιωτών γεφυρών μπορεί να προβλέπονται κεκλιμένα (βλέπε σχήμα 4.3.5.(5)) ή κατακόρυφα (βλέπε σχήμα 4.3.5.(4)β). Με τη διάταξη των κεκλιμένων υποστυλωμάτων επιτυγχάνεται μείωση του μεσαίου ανοίγματος του φορέα.
Σχήμα 4.3.5.(5)

3.6. Πεζογέφυρες
(1) Για τις πεζογέφυρες το ελάχιστο πλάτος αυτών, αν δεν γίνεται ειδική αναφορά, θα είναι ίσο προς:
Ελάχιστο ωφέλιμο πλάτος 3,00 m
Πλάτος πάκτωσης κιγκλιδωμάτων 2 x 0,25 = 0,50 m
Ελάχιστο συνολικό πλάτος 3,50 m
Η διατομή του φορέα των πεζογεφυρών εκλέγεται κατά τέτοιο τρόπο ώστε η πρόσβαση των χρηστών στο κατάστρωμα να γίνεται με τον ελάχιστο αριθμό βαθμίδων (π.χ. δεν επιτρέπεται διατομή φορέα πεζογέφυρας μορφής Π, επιβάλλεται μορφή Ц)
(2) Για την περίπτωση διπλού έργου προσπέλασης διαμορφωμένου στο άκρο μιας πεζογέφυρας (π.χ. ράμπα και σκάλα), το αντίστοιχο ωφέλιμο πλάτος της κάθε προσπέλασης μπορεί να περιορισθεί σε 2,00 m.
(3) Βασική αρχή της διαστασιολόγησης των πεζογεφυρών πρέπει να είναι η αποφυγή ενόχλησης των χρησιμοποιούντων αυτές πεζών ή ποδηλατών.
(4) Πρέπει να ξεκινάμε από το γεγονός ότι δεν υπάρχει ενόχληση του χρήστη της πεζογέφυρας όταν η κατακόρυφη επιτάχυνση οποιουδήποτε τμήματος της ανωδομής δεν υπερβαίνει την τιμή 0,5 σε m/sec2, όπου n0 η πρώτη ιδιοσυχνότητα της πεζογέφυρας λαμβανομένου υπόψη αποκλειστικά του ιδίου βάρους.
Πρέπει να αποφεύγεται μία πρώτη ιδιοσυχνότητα στην περιοχή 1,6 ~ 2,4 Hz και αν είναι δυνατόν και η ψηλότερη περιοχή 2,5 ~ 4,5 Hz.
Εάν η πρώτη ιδιοσυχνότητα είναι πάνω από 5 Hz, τότε μπορεί να θεωρηθεί ότι πληρούνται τα όρια όσον αφορά τις ταλαντώσεις της πεζογέφυρας.
(5) Η πρώτη ιδιοσυχνότητα πρέπει να υπολογίζεται με την παραδοχή αρηγμάτωτης διατομής και σαν μέτρο ελαστικότητας του σκυροδέματος θα χρησιμοποιείται το δυναμικό μέτρο ελαστικότητας που προκύπτει από δυναμική βραχεία φόρτιση.
Μπορεί επίσης να ληφθεί υπόψη η ακαμψία των κιγκλιδωμάτων της πεζογέφυρας εφόσον συμβάλουν στη συνολική ακαμψία της ανωδομής.
(6) Η μέγιστη κατακόρυφη επιτάχυνση υπολογίζεται με την παραδοχή της δράσης μιας ταλαντούμενης δύναμης F στο μέσον της ανωδομής με μία σταθερή ταχύτητα όπως παρακάτω:
F= 180 sin (2*π*n0*T) και υ = 0,9*n0, όπου Τ ο χρόνος σε δευτερόλεπτα και υ η ταχύτητα σε m/sec.
Σημειώνεται ότι για τιμές του n0 μεγαλύτερες των 4 Hz, πρέπει η υπολογισθείσα επιτάχυνση να μειωθεί κατά ένα ποσοστό το οποίο μεταβάλλεται γραμμικά από 0% για 4 Hz σε 70% για 5 Hz.
3.7. Ακρόβαθρα
3.7.1. Γενικά
Τα ακρόβαθρα, ως γνωστόν, είναι κατασκευές οι οποίες αποτελούν διαχωριστικά στοιχεία μεταξύ του επιχώματος και του ανοίγματος της γέφυρας για την εκπλήρωση αναλυτικότερα των παρακάτω στόχων:
(α) Ανάληψη των αντιδράσεων κατακόρυφων και οριζοντίων της ανωδομής της γέφυρας.
(β) Εξασφάλιση του απαιτουμένου χώρου για τις οριζόντιες μετατοπίσεις της ανωδομής.
(γ) Δημιουργία συνδέσμου για τη μετάβαση από τη γέφυρα στο επίχωμα και αντίστροφα.
(δ) Εγκιβωτισμός και εξασφάλιση του επιχώματος μέσω των πτερυγότοιχων.
(ε) Ανάληψη των εκ του επιχώματος προερχομένων ωθήσεων και μεταφορά τους μαζί με τις από την ανωδομή αντιδράσεις στο έδαφος.
3.7.2. Σχεδιασμός
(1) Είναι αυτονόητο ότι ο σχεδιασμός θα πρέπει να ανταποκρίνεται στους στόχους που πρέπει να εκπληρώσει το ακρόβαθρο.
(2) Στα παρακάτω σχήματα δίνονται βασικοί τύποι ακροβάθρων. Ειδικότερα:
Στο σχήμα 4.3.7.2.(2)α παρίσταται ακρόβαθρο το οποίο αφορά κυρίως μικρά τεχνικά και στο οποίο ο πτερυγότοιχος είναι εξ ολοκλήρου αναρτημένος.

Σχήμα 4.3.7.2.(2)α
Στο σχήμα 4.3.7.2.(2)β παριστάνεται η κλασσική, όπως μπορεί να χαρακτηρισθεί, περίπτωση ακροβάθρου (κιβωτιόσχημο ακρόβαθρο κατά ελεύθερη μετάφραση), το οποίο εκπληρώνει κατά τον καλύτερο τρόπο τους στόχους που αναφέρονται στην παράγραφο 4.3.7.1, με προέχον στοιχείο τον εγκιβωτισμό και τη γενικότερη εξασφάλιση των μεταβατικών επιχωμάτων.

Σχήμα 4.3.7.2.(2)β

Σχήμα 4.3.7.2.(2)γ
Στο σχήμα 4.3.7.2.(2)γ απεικονίζεται η τομή ακροβάθρου σημαντικού ύψους. Η κατασκευή της κεκλιμένης πλάκας προς την πλευρά του μεταβατικού επιχώματος επιτρέπει τη μείωση ή και απαλοιφή των ωθήσεων των γαιών στο μετωπικό τοίχο του ακροβάθρου με αποτέλεσμα την επίτευξη λεπτότερης διατομής. Η όποια οικονομία προκύπτει εξ αυτού του λόγου δεν αντισταθμίζει την αύξηση του κόστους από την κατασκευή της πλάκας και από τον περίπλοκο ξυλότυπο της όλης διάταξης.
Στο σχήμα 4.3.7.(2)δ παριστάνεται η περίπτωση ακροβάθρου το οποίο διαμορφώνεται ουσιαστικά από πασσαλοστοιχίες.

Σχήμα 4.3.7.(2)δ
Στα σχήματα 4.3.7.2.(2)ε και 4.3.7.2.(2)στ παριστάνεται η περίπτωση ακροβάθρου στο οποίο ο μετωπικός τοίχος αντικαθίσταται από δύο ή και περισσότερα υποστυλώματα (η κολονοπασσάλους) σε απόσταση μεταξύ τους.
Έχει αποδειχθεί στην πράξη ότι, ενώ από μία πρόχειρη εκτίμηση η διάταξη αυτή εμφανίζεται λιτή στη σχεδίαση και οικονομικά συμφέρουσα από άποψη ποσοτήτων και ξυλότυπου, παρουσιάζει σημαντικά μειονεκτήματα επειδή επιτρέπει τη διαρροή του εδαφικού υλικού δια μέσου των υποστυλωμάτων. Αναλυτικότερα η διαρροή αυτή του υλικού έχει τις παρακάτω αλυσιδωτές συνέπειες:
1. Δημιουργία ανισοσταθμίας μεταξύ του θωρακίου του ακροβάθρου και της παρακείμενης επιφάνειας κύλισης του μεταβατικού επιχώματος.
2. Ανωμαλία στην κυκλοφορία των οχημάτων.
3. Ανεξέλεγκτη επιβολή κρουστικών φορτίων στο ακρόβαθρο λόγω της προαναφερθείσας ανισοσταθμίας.
4. Ανάγκη για συνεχή παρακολούθηση και επισκευή.

Σχήμα 4.3.7.2.(2)ε

Σχήμα 4.3.7.2.(2)στ
(3) Στο σχήμα 4.3.7.2.(3)α και για την κλασσική, όπως χαρακτηρίστηκε, περίπτωση ακροβάθρου δίνονται βασικά στοιχεία των διαστάσεων και της χάραξής του. Η κλίση του πρανούς, δηλαδή ο λόγος 1:n όπως αναγράφεται στο σχήμα, λαμβάνεται συνήθως 1:1,50. Τονίζεται ότι ο αναρτημένες πτερυγότοιχος πρέπει να εισχωρεί τουλάχιστον 1,0 m εντός του πρανούς και ότι πρέπει να τερματίζεται τουλάχιστον 1,0 m πέραν του θεωρητικού σημείου τομής του ίχνους του πρανούς (δηλαδή της ευθείας με κλίση 1:n / sin α) με την πάνω ακμή του (περιθώριο e).
Συνιστάται όπως το πλάτος d0 = (2/3) x H και df= 0,85 d0, όπου d0 είναι το τμήμα του πλάτους του θεμελίου του μετωπικού τοίχου προς το εσωτερικό του ακροβάθρου, df το αντίστοιχο πλάτος του θεμελίου του πτερυγότοιχου και H το συνολικό ύψος του ακροβάθρου.

Σχήμα 4.3.7.(3)α
(4) Στο σχήμα 4.3.7.2.(4)α εμφανίζεται η διαμόρφωση πτερυγότοιχου για μικρά ύψη hFL ≤ 4,0 m. Για μεγαλύτερα ύψη και για λόγους οικονομίας, τμήμα του πτερυγότοιχου συνιστάται να διαμορφώνεται σαν αναρτημένο (βλέπε σχήμα 4.3.6.2.(4)β). Συνιστάται το μήκος του αναρτημένου πτερυγότοιχου να είναι της τάξεως των 5,0 m.
Στο ίδιο σχήμα φαίνεται καθαρά και πάλι η απαίτηση για εισχώρηση του αναρτημένου πτερυγότοιχου σε βάθος 1,0 m εντός του πρανούς και για την ύπαρξη περιθωρίου, επίσης της τάξεως του 1,0 m, πέραν του θεωρητικού σημείου τομής του ίχνους του πρανούς με την πάνω ακμή του πτερυγότοιχου.
Η εσωτερική επιφάνεια του αναρτημένου πτερυγότοιχου στο κάτω μέρος του πρέπει να διαμορφώνεται με κλίση 600 για να αποφεύγεται η δημιουργία κενών στο επίχωμα.

Σχήμα 4.3.7.2.(4)α

Σχήμα 4.3.7.2.(4)β
(5) Ιδιαίτερη σημασία έχει επίσης η διαμόρφωση της πίσω επιφάνειας (πλευρά γαιών) του μετωπικού τοίχου του ακροβάθρου. Όπως είναι γνωστό, ο φορέας της γέφυρας πρέπει να επεκτείνεται πέραν του θεωρητικού άξονα έδρασής του στο ακρόβαθρο (προς την πλευρά του επιχώματος) σε μήκος τόσο ώστε να ενεργοποιείται στατικά η προένταση στο διάστημα από τη θέση αγκύρωσης μέχρι τον άξονα έδρασης.
Επιπροσθέτως, για την ελληνική πραγματικότητα στην οποία ο αντισεισμικός σχεδιασμός έχει βαρύνοντα ρόλο, πρέπει πάντοτε να λαμβάνεται υπόψη το απαιτούμενο πλάτος για την αποτροπή της απώλειας στήριξης του φορέα στην περίπτωση του σεισμού σχεδιασμού.
Οι δύο προαναφερθέντες παράγοντες, καθώς και η ανάγκη, για όσες περιπτώσεις κρίνεται απαραίτητη, ύπαρξης στοάς επιθεώρησης, οδηγούν σε σημαντικά πλάτη της δοκού έδρασης, μεγαλύτερα του πάχους του μετωπικού τοίχου του ακροβάθρου.
Για την αποτροπή δημιουργίας κενών στο μεταβατικό επίχωμα πρέπει η πίσω επιφάνεια του μετωπικού τοίχου του ακροβάθρου, για τη συναρμογή από το μεγαλύτερο πλάτος της δοκού έδρασης στο μικρότερο πάχος του τοίχου, να διαμορφώνεται με κλίση 60° ως προς την οριζόντια (βλέπε σχήμα 4.3.7.2.(5)α).
Στην περίπτωση κατά την οποία η διαφορά πλάτους της δοκού έδρασης και του πάχους του μετωπικού τοίχου του ακροβάθρου είναι μεγάλη, όπως συμβαίνει σε μεγάλες γέφυρες, τότε είναι επιτρεπτή η διαμόρφωση της κεκλιμένης επιφάνειας με κλίση 45° με ταυτόχρονη κατασκευή κώνου σκυροδέματος ποιότητος Β10 (βλέπε σχήμα 4.3.7.2.(5)β).

Σχήμα 4.3.7.2.(5)α

Σχήμα 4.3.7.2.(5)β
(6) Υπενθυμίζεται ότι για την ελληνική πραγματικότητα και για λόγους που σχετίζονται με την αντιμετώπιση του σεισμικού κινδύνου, πρέπει να αποφεύγεται η κατασκευή πολύ λοξών γεφυρών (βλέπε εγκύκλιο [Π] 39/1999 παράγραφο 1.2). Η μεγάλη λοξότητα, εκτός των προβλημάτων των σχετιζομένων με τον αντισεισμικό σχεδιασμό των γεφυρών, δημιουργεί επιπρόσθετα κατασκευαστικά προβλήματα τόσο στα ακρόβαθρα όσο και στη συμπύκνωση των μεταβατικών επιχωμάτων στην περιοχή της οξείας γωνίας μεταξύ πτερυγότοιχου και μετωπικού τοίχου του ακροβάθρου.
Λαμβάνοντας υπόψη τα παραπάνω, η λοξότητα των ακροβάθρων (και φυσικά της γέφυρας) δεν πρέπει να είναι σε καμία περίπτωση < 45°.
Στο σχήμα 4.3.7.2.(6) απεικονίζεται παραστατικά η δυσκολία συμπύκνωσης της οξείας γωνίας στις οριακές καταστάσεις λοξότητας που αφορούν τα ακρόβαθρα. Στις περιπτώσεις όπου για οποιονδήποτε λόγο προσεγγίζεται το όριο των 45°, στην οξεία γωνία θα δημιουργείται ενίσχυση (φαλτσογωνιά) πλάτους τουλάχιστον 1,50 m.
Πέραν του ορίου αυτού, η κατασκευή ορθογωνικής γέφυρας είναι η πλέον ενδεδειγμένη λύση τόσο από οικονομική όσο και από κατασκευαστική άποψη. Η απαιτούμενη αύξηση του μήκους της γέφυρας αντισταθμίζεται πλήρως από την απλότητα της κατασκευής, την οικονομία στα ακρόβαθρα και τη δυνατότητα επίτευξης της απαιτούμενης συμπύκνωσης των μεταβατικών επιχωμάτων.

Σχήμα 4.3.7.2.(6)
3.7.3. Ωθήσεις γαιών στα ακρόβαθρα
(1) Για τον υπολογισμό της ώθησης γαιών πάνω στις κατασκευές ισχύει το DIN 1072 (βλέπε και κεφάλαιο 2 των οδηγιών, παράγραφος 2.3.1.2), το DIN 1055, Μέρος 2ο και οι Ερμηνείες του, το DIN 4085 και γενικά οι γερμανικοί κανονισμοί, σε ό,τι αφορά συνδυασμούς φορτίσεων στους οποίους δεν συμπεριλαμβάνεται η σεισμική δράση. Σε ό,τι αφορά συνδυασμούς φορτίσεων στους οποίους συμπεριλαμβάνεται η σεισμική δράση, θα εφαρμόζονται οι σχετικές διατάξεις της εγκυκλίου [Π] 39/1999, σε συνδυασμό με τον Ελληνικό Αντισεισμικό Κανονισμό 2000 όπου υπάρχει σχετική παραπομπή.
Οι προαναφερόμενοι Γερμανικοί Κανονισμοί και κανονιστικές διατάξεις γενικότερα θα χρησιμοποιούνται στην περίπτωση αυτή συμπληρωματικά και στο μέτρο που δεν έρχονται σε αντίθεση με τις διατάξεις της εγκυκλίου [Π] 39/1999 και του Ελληνικού Αντισεισμικού Κανονισμού 2000.
(2) Για τη διαστασιολόγηση των ακροβάθρων, τα οποία εκ της κατασκευής τους δεν επιτρέπουν μετακινήσεις (ακρόβαθρα με μονολιθική σύνδεση των πτερυγότοιχων με τον μετωπικό τοίχο και τη θεμελίωση), θα λαμβάνονται υπόψη ωθήσεις ηρεμίας για τους συνδυασμούς φορτίσεων στους οποίους δεν συμπεριλαμβάνεται ο σεισμός (βλέπε και ερμηνείες του DIN 1055/79, Μέρος 2, παράγραφος 9.4). Θεωρείται δεδομένο ότι κατά την κατασκευή του μεταβατικού επιχώματος θα έχει τηρηθεί η προβλεπόμενη διαδικασία συμπύκνωσης.
Τονίζεται ότι για τον έλεγχο της ευστάθειας των ακροβάθρων, θα λαμβάνονται υπόψη οι ενεργητικές ωθήσεις.
(3) Στην περίπτωση μη συμπαγών ακροβάθρων που, λόγω της μεγάλης ενδοσιμότητας του επιχώματος σε σχέση με την παραμορφωσιμότητα των δομικών στοιχείων τους, δημιουργούνται ανακατανομές των ωθήσεων τόσο κατά την κατακόρυφη (βλέπε σχήμα 4.3.7.3.(3)α)) όσο και κατά την οριζόντια έννοια (βλέπε σχήμα 4.3.7.3.(3)β)), θα λαμβάνονται υπόψη τα οριζόμενα στο DIN 4085.
(4) Για τα ακρόβαθρα επί πασσάλων ισχύουν τα ακόλουθα:
α) Για τη διαστασιολόγηση των πασσάλων οι ωθήσεις γαιών θα καθορίζονται σε συσχετισμό με την ακαμψία του συστήματος των πασσάλων. Σε καμία περίπτωση δεν θα λαμβάνονται τιμές μικρότερες από 1,2 - πλάσιο των ενεργητικών ωθήσεων πάνω από την κάτω παρειά του κεφαλοδέσμου.
Εφ' όλου του μήκους των πασσάλων από την κάτω παρειά του κεφαλοδέσμου μέχρι τον πόδα θα λαμβάνεται κατ' ελάχιστον φορτίο e2=0,25*γ*h που θα καλύπτει το πλάτος τους.
β) Η διαστασιολόγηση των ιδίων των ακροβάθρων τα οποία εδράζονται επί των πασσάλων θα γίνεται με βάση τις παραγράφους 2 και 3 της παρούσας παραγράφου 4.3.7.3 (βλέπε σχήμα 4.3.7.3(4)).
(5) Η ώθηση μεταβατικού επιχώματος από κοκκώδες υλικό θα υπολογίζεται με βάση τα εδαφοτεχνικά χαρακτηριστικά που θα προκύπτουν από εργαστηριακές δοκιμές. Σε περίπτωση έλλειψης τέτοιων στοιχείων, ο υπολογισμός θα γίνει με τις παρακάτω παραδοχές:
φ = 30ο - 35ο, c = 0, δ = 10ο - 15ο, γ = 20 kN/m3
(6) Ευνοϊκά δρώσα ώθηση γαιών λαμβάνεται υπόψη στο μισό της θεωρητικής τιμής της, σύμφωνα με τις ερμηνείες στην παράγραφο 9.6 του DIN 1055, Μέρος 2.

Σχήμα 4.3.7.3.(3)α

Σχήμα 4.3.7.3.(3)β


Σχήμα 4.3.7.3.(4)
3.7.4. Χρόνος κατασκευής μεταβατικού επιχώματος
(1) Ο χρόνος κατασκευής του μεταβατικού επιχώματος έχει σημαντική επιρροή από στατική άποψη και πρέπει να επιλέγεται σύμφωνα με τις παραδοχές της στατικής μελέτης, στην οποία πρέπει να γίνεται σχετική αναφορά.
(2) Σε πολλές περιπτώσεις απαιτείται, είτε από το στατικό σύστημα της γέφυρας είτε από κατασκευαστικούς λόγους, η κατασκευή του μεταβατικού επιχώματος στο σύνολό του ή μερικά, πριν, κατά τη διάρκεια ή μετά την κατασκευή ενός τμήματος της γέφυρας. Γενικά διακρίνονται οι εξής περιπτώσεις:
α) Κατασκευή του μεταβατικού επιχώματος μετά την κατασκευή του φορέα
Εάν ο φορέας συνεισφέρει στην παραλαβή των φορτίων προερχομένων από το μεταβατικό επίχωμα, όπως π.χ. σε πλαισιωτές γέφυρες, ή εάν η ευστάθεια του ακροβάθρου δεν εξασφαλίζεται χωρίς την ύπαρξη των φορτίων από τον φορέα, τότε η κατασκευή του μεταβατικού επιχώματος θα γίνεται μετά την κατασκευή του φορέα.
Ιδιαίτερη προσοχή πρέπει να δίνεται στις περιπτώσεις που απαιτείται η ταυτόχρονη, αμφίπλευρη, συμμετρική κατασκευή του μεταβατικού επιχώματος, όπως π.χ. στις περιπτώσεις οχετών κιβωτοειδών ή θολωτών, πλαισιωτών γεφυρών, τοξωτών γεφυρών.
β) Κατασκευή του μεταβατικού επιχώματος πριν την κατασκευή του φορέα
Εάν επιδιώκεται η συντόμευση της εκδήλωσης εδαφικών παραμορφώσεων ή εάν ο φορέας δεν μπορεί να παραλάβει τις αναμενόμενες διαφορικές καθιζήσεις μεταξύ του ακροβάθρου και του γειτονικού μεσόβαθρου, τότε η κατασκευή του μεταβατικού επιχώματος θα πρέπει να γίνεται πριν την κατασκευή του φορέα.
γ) Μερική κατασκευή του μεταβατικού επιχώματος
Σε πολλές περιπτώσεις η μερική κατασκευή του μεταβατικού επιχώματος είναι απαραίτητη, όπως π.χ. για τη δημιουργία δαπέδου εργασίας σε παρακείμενα ψηλά ακρόβαθρα, για τη δημιουργία χώρου προς εφαρμογή της προέντασης και για την εφαρμογή της μεθόδου της κατασκευής του φορέα με προώθηση.
3.7.5. Αρμοί Διαστολής
(1) Οι αρμοί διαστολής στα ακρόβαθρα θα προβλέπονται στη μελέτη και θα σχεδιάζονται σύμφωνα με τις απαιτήσεις των επομένων παραγράφων και με τα αναφερόμενα στις προδιαγραφές.
(2) Οι αρμοί διαστολής θα διατάσσονται κατακόρυφα και θα επεκτείνονται σ' όλο το ύψος του ακροβάθρου, συμπεριλαμβανομένου του πεδίλου. Η απόσταση μεταξύ δύο αρμών διαστολής ή μεταξύ ενός αρμού και του άκρου του ακροβάθρου, δεν πρέπει γενικά να υπερβαίνει τα 14,0 m. Επιτρέπεται μεγαλύτερη απόσταση, με την προϋπόθεση ότι θα γίνει έλεγχος των εντατικών μεγεθών από θερμοκρασιακές μεταβολές και από συστολή πήξης του σκυροδέματος και θα τοποθετηθεί ο απαιτούμενος κατάλληλος οπλισμός ρηγμάτωσης.
(3) Οι αρμοί διαστολής διακρίνονται σε επίπεδους και οδοντωτούς. Οι αρμοί μεταξύ τμημάτων ακροβάθρων θα είναι γενικά επίπεδοι, ανεξάρτητα από το έδαφος θεμελίωσης και το ύψος του ακροβάθρου.
(4) Σε ειδικές περιπτώσεις, στις οποίες εμφανίζεται έντονη διαφοροποίηση των συνθηκών έδρασης ή φόρτισης των παρακειμένων τμημάτων, θα εφαρμόζονται οδοντωτοί αρμοί με διαμόρφωση διατμητικού συνδέσμου (τόρμος - εντορμία).
(5) Οι αρμοί διαστολής ακροβάθρων θα κατασκευάζονται στεγανοί. Η στεγανότητα θα εξασφαλίζεται με στεγανωτική ταινία ελάχιστου πλάτους 240 mm, με κατάλληλη διαμόρφωση για συστολές - διαστολές. Στην περιοχή της ταινίας αυτής θα γίνεται κατάλληλη διαμόρφωση του σιδηρού οπλισμού του ακροβάθρου.
Στο σχήμα 4.3.7.5.(4)α απεικονίζονται δύο συνήθεις περιπτώσεις επιπέδων αρμών με διάταξη της στεγανωτικής ταινίας είτε στην παρειά του ακροβάθρου την προσκείμενη στις γαίες, είτε στο εσωτερικό του ακροβάθρου.
Στο σχήμα 4.3.7.5.(4)β δίνεται λεπτομέρεια της διαμόρφωσης της σκοτίας.

Σχήμα 4.3.7.5.(4)α

Σχήμα 4.3.7.5.(4)β
3.7.6. Αρμοί Διακοπής
(1) Οι αρμοί διακοπής στα ακρόβαθρα θα προβλέπονται στη μελέτη και θα σχεδιάζονται σύμφωνα με τις απαιτήσεις των κανονισμών, των επόμενων παραγράφων και με τα αναφερόμενα στις προδιαγραφές.
(2) Οι οριζόντιοι ή / και κατακόρυφοι αρμοί διακοπής στα ακρόβαθρα πρέπει να αποφεύγονται. Όταν η πρόβλεψή τους επιβάλλεται από τον όγκο του προς διάστρωση σκυροδέματος, θα λαμβάνεται φροντίδα ώστε να συμπίπτουν με σκοτίες στην πρόσοψη του ακροβάθρου, κατάλληλης διατομής. Όταν η διακοπή της σκυροδέτησης μπορεί να είναι μικρότερη των 15 ωρών, συνιστάται η χρήση πρόσμικτου επιβραδυντικού πήξης.
(3) Η επιφάνεια των αρμών κατασκευής θα μορφώνεται πάντοτε αδρή.
(4) Όταν αναμένεται ή υπάρχει κίνδυνος παρουσίας νερού με πίεση πίσω από το ακρόβαθρο, ο αρμός διακοπής εργασίας θα κατασκευάζεται στεγανός, με στεγανωτική ταινία σύμφωνα με τις διατάξεις της προηγουμένης παραγράφου 3.7.5.
3.7.7. Αποχέτευση περιοχής ακροβάθρου και μεταβατικού επιχώματος
(1) Στο σχήμα 4.3.7.7.(1)α εμφανίζεται η περίπτωση κατά την οποία η κατά μήκος κλίση της οδού είναι προσανατολισμένη προς τη γέφυρα. Η διαμόρφωση της περιοχής του ακροβάθρου περιλαμβάνει τα παρακάτω στοιχεία:
α) Μεταβολή της εγκάρσιας κλίσης του ερείσματος της οδού από 12% σε -4% επί μήκους 10,0 m στη συνέχεια του επί του πτερυγότοιχου πεζοδρομίου της γέφυρας, με παράλληλη μεταβολή του πλάτους του ώστε να καλύπτει κατά 50 cm τουλάχιστον το πεζοδρόμιο.
β) Κατασκευή κρασπέδου επί μήκους 5,0 m στην επέκταση του επί του πτερυγότοιχου πεζοδρομίου της γέφυρας, μεταβλητού ύψους από Η =7,0 cm σε Η = 0,0 cm
γ) Πρόβλεψη στομίου υδροσυλλογής εγγύτατα στο θωράκιο ώστε να αποτρέπεται η διέλευση των υδάτων υπεράνω του αρμού. Τονίζεται ότι το φρεάτιο του στομίου αυτού θα συνδέεται με το ακρόβαθρο και δεν θα εδράζεται επί του μεταβατικού επιχώματος ανεξάρτητα από το ακρόβαθρο για ευνόητους λόγους.

Σχήμα 4.3.7.7.(1)α
(2) Στα σχήματα 4.3.7.7.(2)α, β και γ εμφανίζεται η περίπτωση κατά την οποία η κατά μήκος κλίση της οδού είναι προσανατολισμένη προς το μεταβατικό επίχωμα. Η διαμόρφωση της περιοχής του ακροβάθρου περιλαμβάνει τα ίδια στοιχεία α) και β), όπως στην περίπτωση του εδαφίου (1). Η διαφοροποίηση (τρεις εναλλακτικές λύσεις) αφορά την τοποθέτηση του στομίου υδροσυλλογής στην περιοχή του επιχώματος και του αντιστοίχου φρεατίου, όπως φαίνεται στα παρακάτω σχήματα.

Σχήμα 4.3.7.7.(2)α

Σχήμα 4.3.7.7.(2)β

Σχήμα 4.3.7.7.(2)γ
3.7.8. Αναγραφή έτους κατασκευής
Είναι σκόπιμο να αναγράφεται το έτος κατασκευής της γέφυρας. Λαμβάνοντας υπόψη την εμπειρία άλλων χωρών, δίνεται στα παρακάτω σχήματα 4.3.7.8)α και 4.3.7.8)β η θέση και ο τρόπος αναγραφής.

Σχήμα 4.3.7.8)α

Σχήμα 4.3.7.8)β
3.8. Μεσόβαθρα
(1) Η διαμόρφωση και διάταξη των μεσόβαθρων επηρεάζουν ουσιαστικά το σχεδιασμό όλης της γέφυρας. Η επιλογή της διατομής τους και η διάταξή τους γίνεται πάντοτε σε συσχετισμό με τη διατομή του φορέα.
(2) Συνήθεις μορφές βάθρων είναι:
α) Μεμονωμένα υποστυλώματα διατομής τετραγωνικής, ορθογωνικής, εξαγωνικής, οκταγωνικής, κυκλικής, ελλειπτικής (βλέπε σχήματα 4.3.8.(2).α)1 και 4.3.8.(2).α)2).
β) Πλαίσια, περίπτωση συνήθης και σε γέφυρες με φορείς από προκατασκευασμένες δοκούς (βλέπε σχήματα 4.3.8.(2).β)1 και 4.3.8.(2).β)2).
γ) Τοιχεία, περίπτωση συνήθης για μικρά ή μεσαία ύψη (βλέπε σχήματα 4.3.8.(2).γ)1 και 4.3.8.(2).γ)2).
δ) Βάθρα ορθογωνικής διατομής πλήρη, ή διατομής κιβωτίου για ψηλές χαραδρογέφυρες (βλέπε σχήμα 4.3.8.(2).δ).

Σχήμα 4.3.8.(2).α)1

Σχήμα 4.3.8.(2).α)2

Σχήμα 4.3.8.(2).β)1

Σχήμα 4.3.8.(2).β)2

Σχήμα 4.3.8.(2).γ)1

Σχήμα 4.3.8.(2).γ)2

Σχήμα 4.3.8.(2).δ
(3) Στο σχεδιασμό των χαραδρογεφυρών θα πρέπει πάντοτε να λαμβάνεται υπόψη και η μορφή της χαράδρας. Ειδικά και σε ό,τι αφορά τα μεσόβαθρα, θα πρέπει να ακολουθούνται τα παρακάτω:
α) Σε χαράδρες μορφής V με απότομες πλαγιές, η επιλογή των ανοιγμάτων (και συνεπώς της θέσης των μεσόβαθρων) συνιστάται να γίνεται με τέτοιο λόγο ύψους βάθρων προς άνοιγμα ώστε να τονίζεται το ύψος της χαράδρας (βλέπε σχήμα 4.3.8.(3).α). Η πυκνή παράθεση βάθρων απαιτεί όμως αυτά να έχουν περιορισμένο πλάτος ώστε να μη δίνεται η εντύπωση, σε υπό γωνία πλάγια θεώρηση της γέφυρας, πυκνής δόμησης της περιοχής της χαράδρας.

Σχήμα 4.3.8.(3).α
β) Στην περίπτωση που οι συνθήκες θεμελίωσης των μεσόβαθρων στις πλαγιές της χαράδρας δεν είναι ευνοϊκές, τότε θα πρέπει να γίνεται η κατάλληλη προσαρμογή σχεδιασμού (βλέπε σχήμα 4.3.8.(3).β). Τονίζεται ότι σε καμιά περίπτωση δεν πρέπει να προβλέπεται μεσόβαθρο στο βαθύτερο σημείο της χαράδρας. Θα πρέπει επίσης να έχουμε υπόψη μας το βασικό κανόνα της αρχιτεκτονικής, ότι είναι προτιμότερος ο περιττός αριθμός ανοιγμάτων σε σχέση με τον άρτιο.

Σχήμα 4.3.8.(3).β
γ) Στην περίπτωση χαραδρών με μικρή κλίση, γέφυρες με ανοίγματα που ικανοποιούν τη σχέση l:h ≥ 1,50:1,0, όπου l το άνοιγμα και h το ύψος της χαράδρας, δίνουν καλύτερο αισθητικό αποτέλεσμα λόγω προσαρμογής της γέφυρας στην ήπια κλίση των πλαγιών.
Ιδιαίτερα αρμονικό αποτέλεσμα προκύπτει όταν οι διαγώνιοι των ανοιγμάτων είναι παράλληλοι (βλέπε σχήμα 4.3.8.(3).γ). Εάν με τη μέθοδο των παραλλήλων διαγωνίων προκύπτουν ουσιωδώς διαφορετικά μήκη ανοιγμάτων, τότε το ύψος του φορέα μπορεί να προβλεφθεί μεταβλητό εάν συνδυασθεί με κατάλληλη κατασκευαστική μέθοδο.

Σχήμα 4.3.8.(3).γ
δ) Μόνο σε χαράδρες με πολύ ήπιες κλίσεις η γεφύρωση με ανοίγματα ίσου μήκους δίνει ικανοποιητικά αποτελέσματα, με την προϋπόθεση ότι ισχύει ο λόγος l:h ≥ 1,50:1,0 (βλέπε σχήμα 4.3.8.(3).δ).

Σχήμα 4.3.8.(3).δ
(4) Είναι διαπιστωμένο ότι στην περίπτωση των χαραδρογεφυρών το πλάτος του μεσόβαθρου δεν πρέπει να ξεπερνά το 1/8 του ανοίγματος, ή και μικρότερο εάν τα προκύπτοντα πλάτη είναι μεγαλύτερα των 10,0 m (βλέπε σχήμα 4.3.8.(4)).

Σχήμα 4.3.8.(4)
(5) Η υπό γωνία πλάγια θεώρηση της γέφυρας βελτιώνεται εάν αντί για κιβωτοειδή βάθρα επιλεγούν κυκλικά, με την προϋπόθεση ότι αριθμός τους δεν υπερβαίνει τα δύο ανά διατομή και ότι η μεταξύ τους απόσταση δεν υπερβαίνει το 1/3 του ανοίγματος (βλέπε σχήμα 4.3.8.(5)α).
Όπως φαίνεται παραστατικά στο σχήμα 4.3.8.(5)β, η ύπαρξη τεσσάρων υποστυλωμάτων ανά διατομή σε αποστάσεις μικρότερες του τριπλασίου του πλάτους της ομάδας των υποστυλωμάτων, δημιουργεί αντιαισθητική εικόνα (δάσος υποστυλωμάτων).

Σχήμα 4.3.8.(5)α

Σχήμα 4.3.8.(5)β
(6) Η επισκεψιμότητα για τον έλεγχο και τη συντήρηση των τεχνικών έργων είναι προφανές ότι παίζει καθοριστικό ρόλο στην επίτευξη του λειτουργικού τους σκοπού καθ όλη τη διάρκεια της προβλεπόμενης ζωής του. Στα παρακάτω σχήματα 4.3.8.(6)α, 4.3.8.(6)β και 4.3.8.(6)γ δίνονται ενδεικτικά διατάξεις για την επισκεψιμότητα υψηλών βάθρων και κιβωτιόμορφων φορέων γεφυρών.

Σχήμα 4.3.8.(6)α

Σχήμα 4.3.8.(6)β

Σχήμα 4.3.8.(6)γ
4. Οδηγίες για γέφυρες από σκυρόδεμα με εξωτερικούς τένοντες προέντασης
4.1. Γενικά - Περιοχή εφαρμογής
(1) Λόγω της σημασίας που αποκτά στη γεφυροποιία η χρησιμοποίηση εξωτερικών τενόντων προέντασης τα τελευταία χρόνια, κρίνεται επιβεβλημένο στο παρόν κεφάλαιο Σχεδιασμός γεφυρών από σκυρόδεμα να συμπεριληφθεί η σχετική με το θέμα εγκύκλιος ARS 17/1999 του Ομοσπονδιακού Υπουργείου Συγκοινωνιών της Γερμανίας.
Τονίζεται ότι οι γέφυρες με εξωτερικούς τένοντες προέντασης παρουσιάζουν πλεονεκτήματα σχετικά με την κατασκευή, τον έλεγχο, τη συντήρηση, την αντικατάσταση τενόντων και την ενίσχυση των γεφυρών. Στα σχήματα 4.4.1.(1)α και 4.4.1.(1)β δίνονται αντίστοιχα βασικά στοιχεία κατασκευής με κεντρικούς και έκκεντρους εξωτερικούς τένοντες.
(2) Η εξωτερική προένταση ισχύει για τις νέες γέφυρες από σκυρόδεμα με κιβωτοειδή διατομή. Οι τένοντες προέντασης στη διαμήκη διεύθυνση της γέφυρας τοποθετούνται:
| • | Ή όλοι εκτός της διατομής του σκυροδέματος, στο εσωτερικό όμως του κιβωτίου (προένταση αποκλειστικά με εξωτερικούς τένοντες). |
| • | Ή μερικοί με συνάφεια εντός της διατομής του σκυροδέματος και μερικοί στο εσωτερικό του κιβωτίου χωρίς συνάφεια με το σκυρόδεμα (μικτή κατασκευή). |
Κατά την εγκάρσια διεύθυνση της γέφυρας είναι δυνατή είτε η έλλειψη προέντασης είτε η πρόβλεψη προέντασης, σύμφωνα με την παρακάτω παράγραφο 4.3.2 του παρόντος.
(3) Στη μικτή κατασκευή πρέπει κατά κανόνα το ποσοστό της δύναμης προέντασης, που αναλαμβάνουν οι εξωτερικοί τένοντες στην τελική φάση σε κάθε διατομή του φορέα, να είναι 20% της συνολικά επιβαλλομένης δύναμης προέντασης.
(4) Εφόσον παρακάτω δεν ορίζεται διαφορετικά, οι ισχύοντες κανονισμοί και διατάξεις είναι οι ΖTV-Κ και το DΙΝ 4227/1988, Μέρος-1.
4.2. Έννοιες
Παράλληλα με τις έννοιες που καθορίζονται στο DΙΝ 4227/88, Μέρος-1 χρησιμοποιούνται και οι ακόλουθες:
α) Εξωτερικός τένοντας
Είναι τένοντας που προεντείνεται μετά τη σκλήρυνση του σκυροδέματος και βρίσκεται εκτός της διατομής σκυροδέματος αλλά εντός του περιγράμματος της διατομής του φορέα (μέσα στο κιβώτιο). Ο τένοντας συνδέεται με την ανωδομή μόνο στα σημεία αγκύρωσης και στα σημεία αλλαγής της όδευσης του.
β) Προένταση αποκλειστικά με εξωτερικούς τένοντες
Κατά την προένταση αποκλειστικά με εξωτερικούς τένοντες, όλοι οι τένοντες κατά τη διαμήκη έννοια της γέφυρας ευρίσκονται εκτός της διατομής του σκυροδέματος.
γ) Μικτή κατασκευή
Κατά τη μικτή κατασκευή ένας αριθμός των διαμήκων τενόντων προέντασης σε όλο το μήκος τους ευρίσκονται σε συνάφεια με το περιβάλλον σκυρόδεμα και οι υπόλοιποι είναι εξωτερικοί τένοντες. Τονίζεται ότι σε αυτό το είδος κατασκευής δεν επιτρέπονται τένοντες στους κορμούς του κιβωτίου.
δ) Στοιχεία αγκύρωσης
Στοιχεία αγκύρωσης είναι τα δομικά στοιχεία στα οποία αγκυρώνονται οι τένοντες και μέσω των οποίων εισάγεται η δύναμη προέντασης στη διατομή από σκυρόδεμα. Τέτοια στοιχεία είναι εγκάρσιες δοκοί, εγκάρσια πλαίσια, κονσόλες ή προεξοχές.
ε) Στοιχεία αλλαγής πορείας χάραξης (όδευσης) τενόντων
Τα στοιχεία αυτά χρησιμεύουν στην αλλαγή πορείας χάραξης των τενόντων προέντασης και μέσω των στοιχείων αυτών εισάγονται στην κατασκευή δυνάμεις τριβής και δυνάμεις εκτροπής. Τέτοια στοιχεία είναι σαμάρια ή οπές.
στ) Διέλευση τενόντων
Η διέλευση των διαμήκων τενόντων μέσω εγκαρσίων δομικών στοιχείων γίνεται με τη βοήθεια οπών χωρίς οι τένοντες να έρχονται σε επαφή με το δομικό στοιχείο.



Σχήμα 4.4.1.(1)α



Σχήμα 4.4.1.(1)β
4.3. Βασικοί κατασκευαστικοί κανόνες
4.3.1. Εξωτερικοί τένοντες
(1) Θα χρησιμοποιούνται μόνο μέθοδοι προέντασης οι οποίες έχουν γενική ή ευρωπαϊκή τεχνική άδεια εφαρμογής.
Η επιτρεπόμενη δύναμη προέντασης κάθε τένοντα δεν επιτρέπεται να υπερβαίνει τα 3 ΜΝ.
(2) Θα πρέπει να εξασφαλίζεται προγραμματισμένη μελλοντική μετένταση ή και αντικατάσταση του τένοντα και θα πρέπει να γίνεται έλεγχος στα πλαίσια της μελέτης. Οι σχετικές εργασίες θα πρέπει να περιγράφονται λεπτομερώς και να περιλαμβάνονται στο τεύχος συντήρησης της γέφυρας.
(3) Το συνολικό μήκος του τένοντα δεν επιτρέπεται να υπερβαίνει τα 200 m μεταξύ των ακραίων αγκυρώσεων.
(4) Κατά τη φάση της κατασκευής θα ελέγχεται λεπτομερώς η σύμφωνα με τους κανονισμούς και τη μελέτη τοποθέτηση στη σωστή θέση των τενόντων των αγκυρώσεων και διελεύσεων και θα συντάσσεται σχετικό πρωτόκολλο, που θα περιλαμβάνει τις σχετικές μετρήσεις σε συνδυασμό με τα αντίστοιχα προβλεπόμενα μεγέθη
Οι τοποθετούμενοι τένοντες δεν επιτρέπεται να ευρίσκονται κοντά στις εξόδους του φορέα.
(5) Οι αγκυρώσεις και τα στοιχεία αλλαγής πορείας χάραξης, καθώς και τα σημεία διέλευσης των τενόντων, θα διαμορφώνονται κατά τέτοιο τρόπο ώστε επιπρόσθετα προς την προγραμματισμένη γωνία εκτροπής θα λαμβάνεται υπόψη ολόπλευρη ανοχή ±3° εκατέρωθεν του στοιχείου αλλαγής πορείας χάραξης. Στα στοιχεία διέλευσης των τενόντων η προγραμματισμένη γωνία εκτροπής θα λαμβάνεται 0°. Στα στοιχεία αγκύρωσης η ανοχή θα λαμβάνεται υπόψη μόνο προς την πλευρά εξόδου του τένοντα από το στοιχείο.
(6) Στην περιοχή αγκύρωσης πρέπει οι τένοντες να είναι σε μήκος 1,0 m τουλάχιστον ευθύγραμμοι. Αυτό ισχύει και στις περιοχές σύνδεσης των τενόντων (πριν και μετά τη σύνδεση).
4.3.2. Εγκάρσιοι τένοντες
(1) Εάν απαιτείται εγκάρσια προένταση, τότε οι τένοντες που θα χρησιμοποιηθούν θα είναι σύμφωνοι με το DΙΝ V 4227/1988, Μέρος - 6 και θα μπορούν να αντικατασταθούν.
(2) Επιτρέπονται να χρησιμοποιούνται μόνο τένοντες που έχουν γενική άδεια ή ευρωπαϊκή τεχνική άδεια εφαρμογής.
4.3.3. Μέτρα για ενίσχυση και επισκευή
(1) Θα πρέπει να προβλέπεται η δυνατότητα τοποθέτησης παραπλεύρως κάθε κορμού του κιβωτίου ενός προσθέτου εξωτερικού τένοντα με δύναμη προέντασης 3ΜΝ.
Στη μικτή κατασκευή θα προβλέπεται η δυνατότητα τοποθέτησης δύο τενόντων για κάθε κορμό, με δύναμη προέντασης 3 ΜΝ ο καθένας.
Η τοποθέτηση των προσθέτων αυτών τενόντων θα προβλέπεται χωρίς αλλαγή της διεύθυνσής τους.
Τα μέτρα για τη ενίσχυση και επισκευή θα πρέπει να αναφέρονται λεπτομερειακά στη μελέτη του τεχνικού, καθώς και τα μεγέθη, η στατική λειτουργία η χάραξη κ.λ.π. των τενόντων.
(2) Οι χώροι και τα ανοίγματα που απαιτούνται για τη διέλευση και προένταση των προσθέτων εξωτερικών τενόντων, θα προβλέπονται επίσης λεπτομερώς. Οι σωλήνες των διαφόρων εγκαταστάσεων θα διατάσσονται κατά τέτοιο τρόπο ώστε, στη δυσμενέστερη περίπτωση, μόνο μικρές αλλαγές να απαιτούνται κατά την τοποθέτηση και τάνυση των προσθέτων τενόντων.
(3) Καθετί σχετικό με τα αναφερόμενα στα παραπάνω εδάφια (1) και (2) θα περιλαμβάνεται στο τεύχος συντήρησης του τεχνικού.
4.3.4. Στοιχεία αγκύρωσης και στοιχεία αλλαγής πορείας χάραξης (όδευσης) τενόντων
(1) Τα στοιχεία αγκύρωσης και τα στοιχεία αλλαγής πορείας χάραξης θα διαστασιολογούνται τόσο για την κατά τη φάση της κατασκευής απαιτούμενη σειρά προέντασης, όσο και για την αντικατάσταση κατά οποιονδήποτε δυνατό συνδυασμό τένοντα προέντασης, καθώς επίσης και για την επιβολή των προβλεπομένων προσθέτων τενόντων.
Θα λαμβάνεται υπόψη η επιρροή των προσθέτων εξωτερικών τενόντων στην περιοχή των στοιχείων αγκύρωσης και των στοιχείων αλλαγής πορείας χάραξης, καθώς και στα γειτονικά με αυτά δομικά στοιχεία, όχι όμως στον υπολογισμό όλου του συστήματος.
Για τις δυνάμεις προέντασης έχει ισχύ η παράγραφος του DΙΝ V 4227/1988, Μέρος-6.
(2) Κατά τη διαστασιολόγηση των στοιχείων αγκύρωσης και αλλαγής πορείας χάραξης πρέπει να χρησιμοποιούνται κατάλληλα προσομοιώματα ανάλυσης για την παρακολούθηση της ροής των δυνάμεων, βασιζόμενα στη θεωρία της ελαστικότητας. Εφόσον δεν γίνεται ακριβέστερος έλεγχος του εύρους ρωγμών, πρέπει στα εφελκυόμενα πέλματα η επιτρεπόμενη τάση του χαλαρού οπλισμού να λαμβάνεται σS = βS / 2,8, όπου βS το όριο διαρροής. Η επιτρεπόμενη τάση σ = βS / 2,8 ισχύει μόνο για τη διαστασιολόγηση των στοιχείων αγκύρωσης και αλλαγής πορείας χάραξης, όχι όμως για συνορεύοντα με αυτά τμήματα της κατασκευής.
4.3.5. Ελάχιστες διαστάσεις και ελάχιστες αποστάσεις
(1) Πρέπει να λαμβάνονται υπόψη οι ελάχιστες διαστάσεις της ΖΤV-Κ, παράγραφος 6.1.1.2. (βλέπε και εδάφιο (1)ε της παραγράφου 3.1.14 του παρόντος). Κατ' εξαίρεση, από αυτές η ελαχίστη τιμή του πάχους των κορμών για ύψος φορέα ≥ 4,00 m ελαττώνεται σε 40 cm.
(2) Η ελαχίστη ελεύθερη απόσταση μεταξύ παραλλήλων καλωδίων, καθώς και μεταξύ καλωδίων και γειτονικών τμημάτων κατασκευής, για λόγους ελέγχου των τενόντων, θα είναι 8 cm.
4.3.6. Στηρίξεις τενόντων προέντασης
Για τον περιορισμό των ταλαντώσεων που μπορεί να αναπτυχθούν στους τένοντες εξωτερικής προέντασης, θα πρέπει να προβλέπεται η στήριξή τους ανά αποστάσεις, το πολύ, κάθε 35,0 m. Στοιχεία αγκύρωσης και αλλαγής πορείας χάραξης θεωρούνται σαν στηρίξεις. Στις υπόλοιπες θέσεις οι στηρίξεις θα γίνονται σύμφωνα με τις προδιαγραφές του ΒΜVΒW (που ισχύουν για τις αναρτήσεις και στηρίξεις σωλήνων παροχής).
4.3.7. Δυνατότητα πρόσβασης
(1) Πρέπει να λαμβάνονται υπόψη οι οδηγίες για τις κατασκευαστικές διατάξεις και τον εξοπλισμό γεφυρών που αποσκοπούν στην παρακολούθηση, τον έλεγχο και τη συντήρησή τους (RΒΑ-ΒRU). Το ελάχιστο πλάτος των διακένων επικοινωνίας στις εγκάρσιες δοκούς δεν επιτρέπεται να είναι < 1,20 m.
(2) Κατ' εξαίρεση από τα RBA-BRU, πρέπει να προβλεφθούν στο δάπεδο των κιβωτοειδών φορέων τα ακόλουθα ανοίγματα:
α) Κατ' ελάχιστο ένα άνοιγμα 1,20 m * 2,5 m δίπλα από ένα κυκλοφορούμενο δρόμο.
β) Ένα άνοιγμα διαστάσεων 1,0 m * 1,5 μπροστά από κάθε ακρόβαθρο. Πάνω από κάθε άνοιγμα πρέπει να προβλέπεται η τοποθέτηση ενός αγκίστρου με φέρουσα ικανότητα 15ΚΝ.
4.4. Βασικοί κανόνες υπολογισμού
(1) Για γέφυρες αποκλειστικά με εξωτερική προένταση στην κατά μήκος διεύθυνση, αντί των προβλεπομένων ελέγχων του DIN 4227/1988, Μέρος-1 παράγραφος 7.1, θα εφαρμόζονται τα ακόλουθα:
| • | Καθορισμός της δύναμης προέντασης σύμφωνα με την παράγραφο 4.6.1. |
| • | Έλεγχος των τάσεων των καλωδίων προέντασης σε στάδιο λειτουργίας σύμφωνα με την παράγραφο 4.6.2. |
| • | Έλεγχος σε δυναμική καταπόνηση σύμφωνα με την παράγραφο 4.6.3. |
| • | Ελάχιστος οπλισμός και οπλισμός για τον περιορισμό του εύρους ρηγμάτωσης σύμφωνα με την παράγραφο 4.7. |
| • | Έλεγχος για την κατάσταση υπολογιστικής θραύσης από κάμψη, κάμψη με αξονική δύναμη και αξονική δύναμη κατά την παράγραφο 4.8. |
| • | Έλεγχος των λοξών κυρίων θλιπτικών τάσεων / διατμητικών τάσεων και της διατμητικής κάλυψης σύμφωνα με την παράγραφο 4.9. |
| • | Έλεγχος για την κάλυψη της εφελκυστικής δύναμης σύμφωνα με την παράγραφο 18.7.2. του DΙΝ 1045/1988. |
(2) Σε γέφυρες με μικτό σύστημα ισχύει η παράγραφος 7.1 του DΙΝ 4227/1988, Μέρος-1. Κατ' εξαίρεση, για τις επιτρεπόμενες τάσεις του χάλυβα προέντασης για εξωτερικούς τένοντες, καθώς και για τα χωρίς συνάφεια εγκάρσια καλώδια, ισχύει η παράγραφος 4.6.2 του παρόντος.
Δεν απαιτείται να λαμβάνεται υπόψη στην κατάσταση υπολογιστικής θραύσης η αύξηση, λόγω αύξησης του φορτίου, της τάσης του προεντεταμένου χάλυβα των χωρίς συνάφεια τενόντων.
Κατά τον υπολογισμό των γεφυρών με μικτό σύστημα και για την περίπτωση αντικατάστασης τένοντα, οι απαιτούμενοι έλεγχοι θα γίνονται με τα μισά κινητά φορτία, αφού ληφθεί υπόψη η αντικατάσταση ενός καλωδίου ανά κορμό. Ο έλεγχος της παραγράφου 10.1.2(2) του DΙΝ 4227/1988, Μέρος-1 δεν απαιτείται.
(3) Στην περιοχή των εδράσεων πρέπει να ελεγχθεί η παραλαβή των εφελκυστικών δυνάμεων των πελμάτων που προκύπτουν με τη θεώρηση δικτυώματος.
Το επιλεγόμενο προσομοίωμα που αφορά τη ροή των δυνάμεων πρέπει να βασίζεται στην ελαστική θεωρία.
4.5. Συμπεριφορά έναντι χρόνιων παραμορφώσεων
(1) Για τη συμπεριφορά έναντι χρόνιων παραμορφώσεων, τόσο του σκυροδέματος όσο και του χάλυβα προέντασης, ισχύει η παράγραφος 8 του DΙΝ 4227.
(2) Κατά τη διαστασιολόγηση, η χαλάρωση του χάλυβα προέντασης θα λαμβάνεται από τη σχετική άδεια εφαρμογής των χρησιμοποιουμένων χαλύβων. Θα λαμβάνονται υπόψη τα δεδομένα για 500.000 ώρες.
4.6. Καθορισμός δύναμης προέντασης και επιτρεπομένων τάσεων χάλυβα προέντασης σε κατάσταση λειτουργίας
4.6.1. Καθορισμός δύναμης προέντασης
(1) Η δύναμη προέντασης και η πορεία (όδευση) των τενόντων πρέπει να επιλέγονται έτσι ώστε, στην τελική κατάσταση κατά τη διαμήκη έννοια της γέφυρας, να μην αναπτύσσονται εφελκυστικές τάσεις από αξονική δύναμη και ροπή υπό τον συνδυασμό: προένταση + μόνιμα φορτία + 1/3 κινητά + ερπυσμός + συστολή + χαλάρωση.
(2) Στη φάση κατασκευής, πρέπει η δύναμη προέντασης και η πορεία (όδευση) των τενόντων να επιλέγεται έτσι ώστε, κατά μήκος της γέφυρας υπό τον δυσμενέστερο συνδυασμό, οι εφελκυστικές τάσεις του σκυροδέματος υπολογιζόμενες στο στάδιο I να μην υπερβαίνουν τις τιμές του πίνακα 4.4.6.1.(2).
Πίνακας 4.4.6.1.(2)
Β 35
|
Β 45
|
3,0 Ν/mm2
|
3,5 Ν/mm2
|
(3) Στην εγκάρσια διεύθυνση της γέφυρας πρέπει η επιλογή της δύναμης προέντασης και η πορεία (όδευση) των τενόντων να εκλέγεται έτσι ώστε, κάτω από το δυσμενέστερο συνδυασμό, οι υπολογιζόμενες εφελκυστικές τάσεις σκυροδέματος στο στάδιο Ι στις ακρότατες ίνες της διατομής να μην υπερβαίνουν τις τιμές του πίνακα 4.4.6.1.(3)
Αυτό ισχύει επίσης και για τις μη εγκάρσια προεντεινόμενες κατασκευές
Πίνακας 4.4.6.1.(3)
Β 35
|
Β 45
|
4,00 Ν/mm2
|
5,00 Ν/mm2
|
(4) Δεν απαιτούνται περαιτέρω έλεγχοι εφελκυστικών τάσεων σκυροδέματος.
4.6.2. Έλεγχος τάσεων του χάλυβα προέντασης
Οι επιτρεπόμενες τάσεις χάλυβα προέντασης τενόντων εξωτερικής προέντασης, καθώς και εγκαρσίων τενόντων χωρίς συνάφεια, καθορίζονται όπως παρακάτω:
| • | Προσωρινά κατά την τάνυση 0,85 βS ή 0,75 βZ |
| • | Στη φάση λειτουργίας 0,80 βS ή 0,70 βZ |
4.6.3. Έλεγχος σε δυναμική καταπόνηση
Δεν απαιτείται να διεξαχθεί έλεγχος του εύρους διακύμανσης των τάσεων (δυναμική καταπόνηση) χάλυβα προέντασης τενόντων εξωτερικής προέντασης, καθώς και σε εγκάρσιους τένοντες χωρίς συνάφεια.
4.7. Ελάχιστος απαιτούμενος οπλισμός και οπλισμός ρηγμάτωσης
(1) Ο έλεγχος στην κατά μήκος διεύθυνση της γέφυρας διεξάγεται κατά το DIN 4227/1988, Μέρος-1.
Στην περίπτωση αλλαγής τένοντα προέντασης διεξάγεται ο έλεγχος αφού ληφθεί υπόψη η αφαίρεση ενός τένοντα από κάθε κορμό υπό τα μισά φορτία κυκλοφορίας.
(2) Ο έλεγχος στην εγκάρσια διεύθυνση της γέφυρας γίνεται κατά το DΙΝ 1045/1988. Σαν συχνότερα επαναλαμβανόμενο φορτίο θα λαμβάνεται το 100% του επιτρεπομένου φορτίου λειτουργίας.
4.8. Έλεγχος σταδίου υπολογιστικής θραύσης σε κάμψη, κάμψη και αξονική δύναμη και αξονική δύναμη
(1) Ο έλεγχος διεξάγεται σύμφωνα με την παράγραφο 11 του DIN V 4227/1988, Μέρος-6. Δεν απαιτείται η εφαρμογή του εδαφίου 11.2(6). Τα εντατικά μεγέθη από προένταση υπολογίζονται αφού ληφθεί υπόψη η συμπεριφορά του σκυροδέματος και του χάλυβα προέντασης σε χρόνιες παραμορφώσεις.
Δεν απαιτείται να ληφθεί υπόψη η αύξηση της τάσης του χάλυβα προέντασης λόγω αύξησης φορτίου.
(2) Στην περίπτωση αλλαγής τένοντα προέντασης πρέπει να διεξαχθεί έλεγχος αφού ληφθεί υπόψη η αφαίρεση ενός καλωδίου για κάθε κορμό υπό τα μισά κινητά φορτία.
4.9. Λοξές κύριες τάσεις, κάλυψη διατμητικής δύναμης
(1) Δεν απαιτείται έλεγχος τάσεων στη φάση λειτουργίας.
(2) Για τον έλεγχο του σταδίου υπολογιστικής θραύσης ισχύει το DΙΝ 4227/1988, Μέρος-1 παράγραφος 12. Αποκλειστικά θα χρησιμοποιείται ο συνδυασμός 1,75 Sg + 1,75 Sρ + 1,0 Sν και ενδεχόμενα θα λαμβάνονται υπόψη τα εντατικά μεγέθη (με συντελεστή 1) από καταναγκασμούς πιθανής υποχώρησης εδάφους, θερμοκρασίας και πήξης. Εφόσον η τέμνουσα δύναμη από προένταση έχει την ίδια διεύθυνση με την τέμνουσα δύναμη από φορτία, θα διεξάγεται επιπρόσθετα ο έλεγχος για τον συνδυασμό δράσεων 1,75 Sg - 1,75 Sρ + 1,5 Sν.
Εδώ εννοείται:
Sg: Εντατικά μεγέθη από μόνιμα φορτία στη φάση λειτουργίας
Sρ: Εντατικά μεγέθη από κινητά φορτία, άνεμο και χιόνι στη φάση λειτουργίας
Sν: Εντατικά μεγέθη από το στατικό και υπερστατικό μέρος της προέντασης
Βιβλιογραφία
1. Γ. ΠΕΝΕΛΗΣ, Μαθήματα σιδηροπαγούς σκυροδέματος - Τόμος ΙV Γέφυρες,1973
2. F. LEONHARDT, Vorlesungen uebermassivbau-Sechster Teil, Springer-Verlag,1978
3. Grundbau Taschenbuch, 3. Auflage, Ernst & Sohn - Verlag,1981
4. J. SCHLEICH - H. SCHEEF, Betonhohlkastenbruecken, Internationale Vereinigung fuer Brueckenbau und Hochbau,1982
5. H. WEIDEMANN, Brueckenbau, Werner - Verlag, 1982
6. C.MENN, Stahlbetonbruecken, Springer - Verlag, 1986
7. W. ROSSNER, Bruecken aus Spannbeton-Fertigteilen, Ernst & Sohn - Verlag,1988
8. Eibl/Ivanyi/Schambeck, Berechnung Kastenfoermiger Brueckenwiderlager, Werner Verlag, 1988
9. W. ROSSNER- C-A.Graubner, Spannbetonbauwerke,Teil 1, Ernst & Sohn - Verlag, 1992.
10. Arbeitsgruppe Erd-Grundbau, merkblatt ueber den Einfluss der Hinterfuellung auf Bauwerke, 1994
11. F.LEONHARDT, Bruecken - Aesthetik und Gestaltung, Deutsche Verlag - Anstalt,1994
12. Προβλήματα σχεδιασμού οδογεφυρών, Επιστημονική Διημερίδα, Θεσσαλονίκη 1998
13. K.H.HOLST, Bruecken aus Stahlbeton und Spannbeton, Ernst & Sohn - Verlag,1998
14. Zusaetzliche Technische Vertragsbedingungen fuer Kunstbauten ZTV-K, 1996
15. ARS 17/99, Richtlinie fuer Betonbrueckenmit externen Spanngliedern
16. Υπουργείο Περιβάλλοντος, Χωροταξίας και Δημοσίων Έργων, Κανονισμός Μελετών Ερευνών
17. Υπουργείο Περιβάλλοντος, Χωροταξίας και Δημοσίων Έργων, Πρότυπα Κατασκευής Έργων
18. Υπουργείο Περιβάλλοντος, Χωροταξίας και Δημοσίων Έργων, Οδηγίες Μελετών Οδικών Έργων, Τεύχος 2: Διατομές
19. Εγνατία Οδός Ανώνυμη Εταιρεία, Οδηγίες Σύνταξης Μελετών Έργων Οδοποιίας
20. Εγνατία Οδός Ανώνυμη Εταιρεία, Πρότυπα Κατασκευής Έργων
21. ΕΥΔΕ / ΠΑΘΕ Κανονισμός Μελετών Ερευνών